Pereiti į pagrindinį turinį
automobilių detalių žinynas
Pasiūlymus siųskite:
info@iauto.lt
Viso detalių : 0
Vardas arba el-pašto adresas
*
Slaptažodis
*
Registracija
Pamiršau slaptažodį
Paieška pagal kodą
Mano miestas
-Visi-
Akmenė
Alytus
Anykščiai
Birštonas
Biržai
Druskininkai
Elektrėnai
Gargždai
Ignalina
Jonava
Joniškis
Jurbarkas
Kaišiadorys
Kalvarija
Kaunas
Kazlų Rūda
Kelmė
Kernavė
Kėdainiai
Klaipėda
Kretinga
Kupiškis
Lazdijai
Lentvaris
Marijampolė
Mažeikiai
Molėtai
Naujoji Akmenė
Neringa
Pabradė
Pagėgiai
Pakruojis
Palanga
Panevėžys
Pasvalys
Plungė
Prienai
Radviliškis
Raseiniai
Rietavas
Rokiškis
Skuodas
Šakiai
Šalčininkai
Šiauliai
Šilalė
Šilutė
Širvintos
Švenčionėliai
Švenčionys
Tauragė
Telšiai
Trakai
Ukmergė
Utena
Varėna
Vilkaviškis
Vilnius
Visaginas
Zarasai
Gamintojas
AC
ACURA
AEON MOTORCYCLES
AIXAM
ALFA ROMEO
ALPINA
ALPINE
AMC
APRILIA MOTORCYCLES
ARO
ARTEGA
ASHOK LEYLAND
ASIA MOTORS
ASKAM (FARGO/DESOTO)
ASTON MARTIN
AUDI
AUSTIN
AUSTIN-HEALEY
AUTO UNION
AUTOBIANCHI
AVIA
BARKAS
BEDFORD
BEELINE MOTORCYCLES
BENELLI MOTORCYCLES
BENTLEY
BERTONE
BETA MOTORCYCLES
BIMOTA MOTORCYCLES
BITTER
BMW
BMW MOTORCYCLES
BOND
BORGWARD
BRISTOL
BUELL MOTORCYCLES
BUGATTI
BUICK
CADILLAC
CAGIVA MOTORCYCLES
CALLAWAY
CARBODIES
CATERHAM
CHECKER
CHEVROLET
CHRYSLER
CITROEN
DACIA
DAELIM MOTORCYCLES
DAEWOO
DAF
DAIHATSU
DAIMLER
DALLAS
DE LOREAN
DE TOMASO
DERBI MOTORCYCLES
DODGE
DUCATI MOTORCYCLES
EBRO
ECM MOTORCYCLES
FANTIC MOTORCYCLES
FERRARI
FIAT
FISKER
FORD
FOTON
FSO
GASGAS MOTORCYCLES
GAZ
GEELY
GEO
GILERA MOTORCYCLES
GINETTA
GLAS
GMC
HARLEY-DAVIDSON MC
HERCULES MOTORCYCLES
HINDUSTAN
HMRacing MOTORCYCLES
HOBBYCAR
HOLDEN
HONDA
HONDA MOTORCYCLES
HUMMER
HUSABERG MOTORCYCLES
HUSQVARNA MOTORCYCLE
HYOSUNG MOTORCYCLES
HYUNDAI
INDIAN MOTORCYCLES
INDIGO
INFINITI
INNOCENTI
IRMSCHER
ISDERA
ISH
ISUZU
ITALJET MOTORCYCLES
IVECO
JAGUAR
JAWA MOTORCYCLES
JEEP
JENSEN
KAWASAKI MOTORCYCLES
KIA
KING LONG
KREIDLER MOTORCYCLES
KTM
KTM MOTORCYCLES
KYMCO MOTORCYCLES
LADA
LAMBORGHINI
LANCIA
LAND ROVER
LANDWIND (JMC)
LAVERDA MOTORCYCLES
LDV
LEXUS
LIGIER
LINCOLN
LML MOTORCYCLES
LOTUS
LTI
MAHINDRA
MAICO MOTORCYCLES
MALAGUTI MOTORCYCLES
MARCOS
MARUTI
MASERATI
MAYBACH
MAZDA
MBK MOTORCYCLES
MCLAREN
MEGA
MERCEDES-BENZ
METROCAB
MG
MIDDLEBRIDGE
MINELLI
MINI
MITSUBISHI
MITSUOKA
MORGAN
MORRIS
MOSKVICH
MOTO GUZZI MC
MOTO-MORINI MC
MOTOBI MOTORCYCLES
MV AGUSTA MOTORCYCLE
MZ MOTORCYCLES
NISSAN
NSU
OLDSMOBILE
OLTCIT
OPEL
OSCA
PANOZ
PANTHER
PAYKAN
PEUGEOT
PEUGEOT MOTORCYCLES
PGO MOTORCYCLES
PIAGGIO
PIAGGIO MOTORCYCLES
PININFARINA
PLYMOUTH
PONTIAC
PORSCHE
PREMIER
PROTON
PUCH
PUCH MOTORCYCLES
QUADRO MOTORCYCLES
RANGER
RAYTON FISSORE
RELIANT
RENAULT
REX MOTORCYCLES
RILEY
ROLLS-ROYCE
ROVER
RUF
SAAB
SACHS MOTORCYCLES
SANGLAS MOTORCYCLES
SANTANA
SEAT
SHELBY
SIMSON MOTORCYCLES
SIPANI
SKODA
SMART
SOLO MOTORCYCLES
SOMMER MOTORCYCLES
SPECTRE
SPYKER
SSANGYONG
STANDARD
STEYR
STREETSCOOTER
SUBARU
SUZUKI
SUZUKI MOTORCYCLES
SWM MOTORCYCLES
SYM MOTORCYCLES
TALBOT
TATA
TAZZARI
TESLA
TGB MOTORCYCLES
THINK
TORNAX MOTORCYCLES
TOYOTA
TRABANT
TRIUMPH
TRIUMPH MOTORCYCLES
TVR
UAZ
UMM
VAUXHALL
VECTOR
VESPA MOTORCYCLES
VICTORY MOTORCYCLES
VOLVO
VW
WARTBURG
WESTFIELD
WIESMANN
WOLSELEY
YAMAHA MOTORCYCLES
YULON
ZASTAVA
ZAZ
ZERO MOTORCYCLES
Modelis
Pasirinkite modelį
Mano auto
KIA
VENGA (YN)
1.6 CVVT (92kW)
DAF
75 CF
FAT 75 CF 320 (235kW)
TOYOTA
SPRINTER hečbekas
1.3 (55kW)
IVECO
Stralis
AS 260S56 (412kW)
VW
GOL I
1.6 (54kW)
Rodyti visus
VAG automobilių detalių brėžiniai, katalogas - žinynas (manualai) su orginaliais autodalių kodais
Mercedes brėžiniai
Pagrindinis meniu
Pradžia
Paieška
Pardavėjai
Gamintojai
Transporto priemonė: INTEGRO L; VIN numerio dalis: 633004
Rinktis kitą modelį
Grupė: 71 PARTITION PANEL - 180 GRIP RAILS AND PARTITION PANELS
Rinktis kitą grupę
#
Kodas
Pavadinimas
023
A 6298101130
ASHTRAY
026
A 6298130158
COVER
029
A 6298130258
HOUSING
A 6298130028
CLIP
044
A 0009901129
SCREW
M8X22MM
044
N 910105008026
SCREW
M8X20MM
062
A 0009901729
SCREW
M8X40MM
062
N 910105008010
SCREW
M8X40MM
115
N 913024006101
RIVET NUT
120
N 000000000447
TAPPING SCREW
125
N 000000001150
HEXALOBULAR BOLT
130
N 000000001155
HEXALOBULAR BOLT
135
N 913024008104
RIVET NUT
M8
140
N 000000001502
HEXALOBULAR BOLT
140
N 000912008138
SCREW
M8X110
145
A 0029908022
SCREW
152
A 6297100013
FRAME
155
A 6297100236
BRACKET
158
A 6297110511
PLATE
161
A 6297110611
PLATE
164
A 6297550111
PLATE
167
A 6297101801
PARTITION PANEL
170
N 910105008038
SCREW
M8X50MM
170
N 910105008045
SCREW
M8X55MM
173
N 913023008003
NUT
M8
173
N 913023008003
NUT
M8
176
N 304017008010
SCREW
M8X25MM
176
N 910105008039
SCREW
M 8 X 25MM
179
A 0009901829
SCREW
M8X75MM
182
A 0009844821
RIVETED NUT
Repalced by: N 913024008100
182
N 913024008100
RIVET NUT
182
A 0009844821
RIVETED NUT
182
A 0009844821
RIVETED NUT
M8X16
182
N 913024008100
RIVET NUT
185
A 6327100201
PARTITION PANEL
190
A 6277115401
PARTITION
193
A 6279300094
CUSHION PAD
194
A 0019907858
NUT
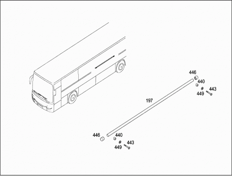
197
A 0008150059
TUBE
RAL1023
197
A 0008150059
TUBE
RAL1023
197
A 0008150059
TUBE
RAL1023
197
A 6338100250
GRAB RAIL
34X2
197
A 6338100250
GRAB RAIL
34X2
197
A 6278156959
TUBE
EVO GRAY
3;34X2MM
197
A 6278156959
TUBE
EVO GRAY
3;34X2MM
197
A 6278156959
TUBE
3;34X2
197
A 0008159651
GRIP RAIL
3;34X2
200
A 6277106032
CONNECTION
200
A 6277106032
CONNECTION
200
A 6277106032
CONNECTION
200
A 6277106032
CONNECTION
203
A 0009901729
SCREW
M8X40MM
203
A 0009901729
SCREW
M8X40
203
A 0009901729
SCREW
M8X40MM
203
A 0009901729
SCREW
M8X40
206
A 6337110901
PARTITION PANEL
206
A 6327110001
PARTITION PANEL
206
A 6327110001
PARTITION PANEL
206
A 6337110501
PARTITION PANEL
206
A 6327110401
PARTITION PANEL
209
A 6277111534
CONNECTION
209
A 6277111534
CONNECTION
209
A 6277111534
CONNECTION
209
A 6277111534
CONNECTION
212
A 6277104832
CONNECTION
GR90
212
A 6277104832
CONNECTION
GR90
212
A 6277104832
CONNECTION
GR90
215
A 6277104432
CONNECTION
GR90
215
A 6277104432
CONNECTION
GR90
215
A 6277104432
CONNECTION
215
A 6277104432
CONNECTION
GR90
217
N 000000000533
SHEET METAL SCREW
4,8X38
218
A 6297100818
PANELLING
218
A 6297100818
PANELLING
218
A 6297100818
PANELLING
219
A 6297110340
TERMINAL
221
A 6297110724
PAD
EVO GRAY
4
221
A 6297110724
PAD
EVO GRAY
4
221
A 6297110724
PAD
EVO GRAY
4
224
A 6279852736
METAL SECTION
EVO GRAY
3;35X2,5MM
224
A 6279852736
METAL SECTION
EVO GRAY
3;35X2,5MM
251
A 6277118834
CONNECTION
224
A 6279852736
METAL SECTION
EVO GRAY
3;35X2,5MM
224
A 6279852736
METAL SECTION
35X2,5
227
A 6277105632
CONNECTION
227
A 6277105632
CONNECTION
227
A 6277105632
CONNECTION
227
A 6277105632
CONNECTION
230
A 0009902029
SCREW
M6X25MM
230
A 0009902029
SCREW W SOCKET DRIVE
M6X25
230
A 0009902029
SCREW
M6X25MM
230
A 0009902029
SCREW
M6X25MM
230
A 0009902029
SCREW
M6X25
230
A 0009902029
SCREW
M6X25MM
233
A 6277100532
CONNECTION
233
A 6277100532
CONNECTION
233
A 6277100532
CONNECTION
233
A 6277100532
CONNECTION
236
A 0039903712
SCREW
M8X16MM
239
A 0039902312
SCREW
239
A 0039902312
SCREW
242
A 6277103732
CONNECTION
GR45
245
A 6277100932
CONNECTION
EVO GRAY
3
245
A 6277100932
CONNECTION
EVO GRAY
3
245
A 6277100932
CONNECTION
EVO GRAY
3
245
A 6277100932
CONNECTION
248
A 0029900520
SCREW
248
A 0039902312
SCREW
248
A 0039902312
SCREW
M8X35MM
248
A 0039902312
SCREW
M8X35MM
250
A 6337110050
INTERMEDIATE LAYER
251
A 6277118834
CONNECTION
251
A 6277118834
CONNECTION
251
A 6277118834
CONNECTION
251
A 6277118834
CONNECTION
251
A 6277111234
SPACER ELEMENT
254
A 6277109132
CONNECTION
EVO GRAY
30X30X35
254
A 6277109132
CONNECTION
257
A 6277103732
CONNECTION
GR45
257
A 6277103732
CONNECTION
45GR
260
A 0009972876
CONNECTION
260
A 0009972776
CONNECTION
263
A 6277110010
GLASS PANE
266
A 6277111534
CONNECTION
269
A 6277110097
PAD
269
A 6277110097
PAD
272
A 6277106332
CONNECTION
272
A 6277106332
CONNECTION
272
A 6277106332
CONNECTION
278
A 6277111034
CONNECTION
278
A 6277111034
CONNECTION
278
A 6277111034
CONNECTION
281
A 0009921450
SLEEVE
284
A 0009901629
SCREW
284
A 0009901629
SCREW, SPECIAL SHAPE
M8X28
284
A 0009901829
SCREW
287
A 6277117234
CONNECTION
EVO GRAY
3
290
A 6277110834
CONNECTION
293
A 0009901129
SCREW
M8X22
296
A 6277110634
CONNECTION
311
A 6277103332
CONNECTION
GR45
314
A 6277111134
CONNECTION
34
317
A 6277110414
BRACKET
320
N 000912008075
SCREW
M8X115MM
320
N 000912008009
SCREW
M8X20MM
Repalced by: N 000000001427
320
N 000000001427
HEXALOBULAR BOLT
M8X20
320
N 000912008059
SCREW
M8X60MM
323
A 6337160111
DOOR PANEL
326
A 6337160011
DOOR PANEL
329
A 0007580051
HINGE
332
A 0019846729
SCREW
6X12MM
335
A 0029900020
ECCENTRIC SCREW
M6X16 T30
338
A 0007110085
LOCK
341
A 0007100835
LOCK
344
A 0019845629
SCREW
4X12MM
344
A 0019845629
SCREW
4X12MM
347
A 0007120024
COVERING
LEFT
350
A 0007120124
COVERING
RIGHT
350
A 6337110224
COVER PLATE
353
A 0007160014
BRACKET
356
A 6278460014
BRACKET
359
A 0007430039
GUIDE
362
A 0019909620
SCREW
M5X12MM
365
N 910112005000
NUT
M5
368
A 0007430139
GUIDE
371
A 0019909320
SCREW
M4X16MM
374
N 304032004002
NUT
M4
377
A 6337110024
COVER PLATE
380
A 6337110124
COVER PLATE
383
A 6337160014
BRACKET
386
A 0009844821
RIVETED NUT
M8X16MM
389
A 0009901629
SCREW, SPECIAL SHAPE
M8X28
392
A 6299870040
RUBBER BUFFER
395
N 000000000451
TAPPING SCREW
DOOR STOP
3.5X25
398
A 6337100002
INTERIOR DOOR
WITH PIGEONHOLE
401
A 6277104032
CONNECTION
GR45
404
A 6277102132
CONNECTION
407
A 6277102532
CONNECTION
407
A 6277102532
CONNECTION
419
A 6277103732
CONNECTION
422
A 0009972876
CONNECTION
LENGTH:
53MM
425
A 6327110001
PARTITION PANEL
428
A 6338150011
PLATE
428
A 6338150011
PLATE
428
A 6338150011
PLATE
431
A 6277115101
WASHER
434
A 6277110614
BRACKET
440
A 6277118834
CONNECTION
440
A 6277118834
CONNECTION
443
A 0009901829
SCREW
M8X75MM
446
A 6277117434
TUBE PROTECTIVE CAP
446
A 6277117434
TUBE PROTECTIVE CAP
449
A 6277110013
WASHER
449
A 6277110013
WASHER
550
A 6277108132
CONNECTION
552
A 6278151270
GRIP RAIL
DROPPED
553
A 0009901929
SCREW
556
A 6277103332
CONNECTION
45GR
556
A 6277103332
CONNECTION
45GR
559
A 6277103732
CONNECTION
45GR
560
A 6277104432
CONNECTION
90GR
562
A 6277100932
CONNECTION
563
A 6277104032
CONNECTION
45GR
565
A 6277106332
CONNECTION
568
A 0029900520
SCREW
571
A 6277100240
MOUNTING
574
A 0009901729
SCREW
M8X40MM
577
A 0009902029
SCREW
M6X25MM
583
A 0009800241
END PIECE
586
A 6328150036
HANDLE
SECTION
589
A 6329110097
INSERT
592
A 0009902111
SCREW
595
A 6329190120
COVERING
RIGHT
598
A 0009903029
SCREW
601
A 6298101132
CLAMP
604
A 6329100071
HANDLE
605
A 6329190120
COVERING
607
A 6277104832
CONNECTION
610
A 6277117234
CONNECTION
613
N 910112008000
NUT
M8
616
N 000912008112
SCREW
M8X45MM
629
A 6277100432
CONNECTION
GR90
632
A 6277103732
CONNECTION
GR45
635
A 0009972876
CONNECTION
638
N 910105008045
SCREW
M8X55MM
641
N 000000001432
HEXALOBULAR BOLT
M8X70
644
A 0029908022
SCREW
M8X30MM
650
A 6337110001
PARTITION PANEL
653
A 6337110010
GLASS PANE
AT PARTITION PANEL
656
A 6337110014
BRACKET
BOTTOM
659
A 6337110114
BRACKET
662
A 6337110214
BRACKET
665
A 0003280053
SPACER TUBE
668
A 6337110314
BRACKET
671
A 6337110514
BRACKET
674
A 0009980341
BUFFER
WITH INTERNAL THREAD
677
A 0029900120
SCREW
M6X20MM
680
A 0019909920
SCREW
M6X12MM
683
A 0029900020
ECCENTRIC SCREW
M6X16 T30
686
A 6329840041
GRAB HANDLE
689
A 6329110412
ANGLE
692
A 6277100836
BRACKET
695
A 6279870045
LOCKING CAP
698
A 6277110090
CAP
701
A 0009902029
SCREW
M6X25MM
A 3093260353
SPACER TUBE
710
A 6328150036
METAL SECTION
713
A 6329110097
INSERT
716
A 0009902111
SCREW
719
A 6329190120
COVERING
RIGHT
722
N 910112008000
NUT
725
A 0009901929
SCREW
740
A 0009901129
SCREW
M8X22MM