Pagrindinis meniu

Transporto priemonė: O 317 FH: 317.203; VIN numerio dalis: 317203
Grupė: 50 RADIATOR
62707
62708
62709
62710
62711
62712
62713
62714
# Kodas Pavadinimas
X XXXXXXXXXXXX PART NAME MISSING
FAN
013 A 0002050146 FAN MOTOR
016 N 000931008228 SCREW
Repalced by: N 000933008134
016 N 000933008134 SCREW
018 N 912004008102 LOCK WASHER
020 N 000934008010 NUT
023 A 3175040438 MOUNTING PLATE
026 A 3175040212 RUBBER MOUNTING
028 N 912004008102 LOCK WASHER
029 N 000934008010 NUT
033 A 3172000050 BUSHING
036 N 912004014100 LOCK WASHER
038 N 000936014001 NUT
040 A 3172050306 FAN
046 N 912004008102 LOCK WASHER
047 N 000931008221 SCREW
050 A 3172050506 FAN
050F A 0012050406 FAN
050L A 0039812925 BALL BEARING
050P A 0002060151 SPACER RING
050R A 0002060180 GASKET
Repalced by: A 0002060680
050R A 0002060680 GASKET
050S N 000912006040 SCREW
M 6X20
050Z A 0002060228 PRIMARY CUP
051D A 0002060503 COVER
051F A 0002060118 GUIDE
051H A 0002060071 SCREW
051R A 0039979440 SEAL RING
051S A 0009907520 SCREW
Repalced by: A 0009842029
051S A 0009842029 SCREW
051W A 0002060245 FLANGE
A 0005831635 RECEPTACLE
Repalced by: A 0005831835
A 0005831835 RECEPTACLE
052 N 000933008147 SCREW
Repalced by: N 304017008021
052 N 304017008021 SCREW
FAN TO PULLEY
M 8X20
053 N 912004008102 LOCK WASHER
FAN TO PULLEY
X XXXXXXXXXXXX PART NAME MISSING
AIR COMPRESSOR
063 A 3172002345 SHAFT
A 3172000238 SHAFT
A 3172007345 SHAFT
A 3172000138 SHAFT
069 A 3172002245 SHAFT
A 3172000538 SHAFT
A 3172007545 SHAFT
A 3172000438 SHAFT
073 A 3172008745 SHAFT
076 N 071412006101 GREASE NIPPLE
079 A 1804110162 THRUST WASHER
080 A 1804110560 RUBBER RING
082 A 1804110358 SEAL HOLDER
A 1804100331 UNIVERSAL JOINT CROSS
088 A 1889940534 SNAP RING
1.45 MM
A 1889940034 SNAP RING
1.5 MM
A 1889940134 SNAP RING
1.55 MM
A 1889940234 SNAP RING
1.6 MM
A 1889940334 SNAP RING
1.65 M
A 1889940434 SNAP RING
1.7 MM
092 A 1884110044 DRIVE FLANGE
096 A 3172000031 BOOT
N 900263000900 STRAP
N 900262009100 LOOM TIE
A 0002060035 FLEXIBLE JOINT DISC
Repalced by: A 0002060435
099 A 0002060435 FLEXIBLE JOINT DISC
A 3172060527 COUPLING FLANGE
N 000960012085 SCREW
A 3179900840 WASHER
N 000935012003 NUT
N 000094003219 COTTER PIN
N 000934008010 NUT
N 912004008102 LOCK WASHER
102 A 1829900001 SCREW
102 A 1829900001 SCREW
106 A 1869940325 LOCK
106 A 1869940325 LOCK
109 N 000934008010 NUT
109 N 000934008010 NUT
A 3172002445 SHAFT
A 3172002845 SHAFT
115 A 3172005645 SHAFT
A 3172008645 SHAFT
A 3172008145 SHAFT
N 071412008101 GREASE NIPPLE
Repalced by: N 071412008102
N 071412008102 GREASE NIPPLE
A 1804100331 UNIVERSAL JOINT CROSS
A 1889940534 SNAP RING
1.45 MM
A 1889940034 SNAP RING
1.5 MM
A 1889940134 SNAP RING
1.55 MM
A 1889940234 SNAP RING
1.6 MM
A 1889940334 SNAP RING
1.65 MM
A 1889940434 SNAP RING
1.7 MM
A 1884110044 DRIVE FLANGE
A 1104110094 BALANCING PLATE
40-250 MM
A 3172009345 SHAFT
A 3172009545 SHAFT
A 3172009445 SHAFT
A 3094130061 PROTECTIVE CAP
125 A 3194130031 BEARING RING
129 A 3194100051 BALL BEARING
N 000472062000 LOCK RING
Repalced by: A 0039945241
A 0039945241 LOCK
N 000625446206 GROOVED BALL BEARING
Repalced by: A 0009816225
A 0009816225 BALL BEARING
Repalced by: A 0019810925
A 0019810925 BALL BEARING
133 A 3174130212 RUBBER MOUNTING
A 3174130412 RUBBER MOUNTING
136 A 3172060505 BEARING BODY
A 3172060705 BEARING BODY
A 3094100922 INTERMEDIATE BEARING
Repalced by: A 3094101222
A 3094101222 INTERMEDIATE BEARING
Repalced by: A 3095860041
A 3095860041 REPAIR KIT
Repalced by: A 3094100010
A 3094100010 REPAIR KIT
139 N 000933010105 SCREW
139 N 000933010105 SCREW
141 N 912004010102 LOCK WASHER
141 N 912004010102 LOCK WASHER
143 N 000934010014 NUT
143 N 000934010014 NUT
145 A 3172620345 FLANGE
A 3094100130 CENTERING FLANGE
Repalced by: A 3094100430
A 3094100430 CENTERING FLANGE
A 3094130061 PROTECTIVE CAP
148 A 3192620226 GROOVED NUT
A 1829940043 LOCK
A 1869900060 NUT
152 A 1829900001 SCREW
154 A 1869940325 LOCK
156 N 000934008010 NUT
A 1894110015 FLEXIBLE JOINT DISC
Repalced by: A 1894110115
A 1894110115 FLEXIBLE JOINT DISC
A 1104110071 SCREW
A 3179901140 WASHER
N 912004012100 LOCK WASHER
N 000934012022 NUT
A 3174300039 SUPPORT
180 A 3174300839 SUPPORT
184 A 3175000012 RUBBER BUFFER
186 A 3175040066 CAP
189 N 000125013008 WASHER
191 N 912004012100 LOCK WASHER
193 N 000934012021 NUT
A 0002050145 FAN PUMP
Repalced by: A 0002051045
A 0002050245 FAN PUMP
Repalced by: A 0002051045
200 A 0002051045 FAN PUMP
203 N 007627020000 SCREW FITTING
206 N 007627010000 SCREW FITTING
211 N 007627013000 SCREW FITTING
214 N 000931008047 SCREW
Repalced by: N 304017008018
214 N 304017008018 SCREW
215 N 912004008102 LOCK WASHER
216 N 000934008010 NUT
A 3172050510 PULLEY
A 3172050610 PULLEY
A 3172050710 PULLEY
220 A 3172050810 PULLEY
N 000933010080 SCREW
N 000934010014 NUT
N 000960016244 SCREW
N 000960016052 SCREW
N 000127017000 LOCK WASHER
N 912004016101 LOCK WASHER
N 000934016012 NUT
N 007753012510 NARROW V-BELT
Repalced by: A 0049976992
A 0049976992 V-BELT
231 A 0019977692 V-BELT
N 007753012539 NARROW V-BELT
Repalced by: A 0069972092
A 0069972092 V-BELT
A 0004810100 PART NAME MISSING
Repalced by: A 0004810800
A 0004810059 FILTER ELEMENT
A 0004810159 FILTER ELEMENT
A 0009974130 SCREW PLUG
N 915035000012 SEAL RING
A 0004810051 SPACER RING
A 0004810057 BREATHER CAP
N 007603022102 SEAL RING
N 000908022001 SCREW PLUG
Repalced by: N 000908022011
N 000908022011 SCREW PLUG
240 A 0004810800 OIL TANK
241 A 0004810060 FILTER
242 A 0004810103 COVER
243 A 0009972649 GASKET
244 N 000933006102 SCREW
245 N 000125006421 WASHER
A 0004810259 FILTER ELEMENT
Repalced by: A 0004810359
246 A 0004810359 FILTER ELEMENT
247 A 0004810151 SPACER RING
248 A 0004810251 SPACER RING
249 A 0009972749 GASKET
N 007627013000 SCREW FITTING
N 007603018101 SEAL RING
253 A 0004810203 COVER
254 N 007604022101 SCREW PLUG
255 N 007603022102 SEAL RING
264 A 3174810040 BRACKET
268 N 000933008145 SCREW
269 N 912004008102 LOCK WASHER
271 N 000934008010 NUT
273 A 0002050147 FAN THERMOSTAT
276 N 900288072104 CLAMP
X XXXXXXXXXXXX PART NAME MISSING
OIL LINES
305 A 0029979082 HOSE
307 A 0029978582 HOSE
311 A 3172000219 PIPE ELBOW
314 N 007613013300 FITTING
317 N 915001013001 UNION NUT
319 N 915003013100 SEAL CONE
323 N 007619013000 T-FITTING
325 A 0029978882 HOSE
328 A 3172000254 LINE
333 N 915017015200 UNION NUT
335 N 915003013100 SEAL CONE
339 A 0029978782 HOSE
344 N 007619013000 T-FITTING
346 A 3172000319 PIPE ELBOW
N 915017015200 UNION NUT
N 915003013100 SEAL CONE
350 A 0029978682 HOSE
360 A 0029979182 HOSE
363 A 3172000354 LINE
N 007613006300 FITTING
N 007608006100 SEAL CONE
N 915017008201 UNION NUT
368 A 3179950048 CLAMPING PIECE
372 A 3179950632 CLAMP
376 N 000933006102 SCREW
379 N 912004006102 LOCK WASHER
381 N 000934006007 NUT
X XXXXXXXXXXXX PART NAME MISSING
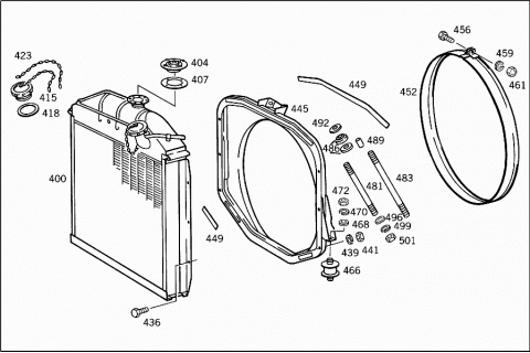
RADIATOR
A 3175000203 RADIATOR
Repalced by: A 3175000603
A 3175000403 RADIATOR
Repalced by: A 3175000603
A 3175000603 RADIATOR
Repalced by: A 3175001503
A 3175001503 RADIATOR
A 3175002203 RADIATOR
A 3175002203 RADIATOR
A 3175002003 RADIATOR
A 3175002903 RADIATOR
400 A 3175003503 RADIATOR
400 A 3175003503 RADIATOR
400 A 3175003503 RADIATOR
404 A 0005000740 VALVE
407 A 0005010080 GASKET
N 000933005058 SCREW
N 912004005103 LOCK WASHER
N 000934005008 NUT
N 000933005058 SCREW
N 912004005103 LOCK WASHER
N 000934005008 NUT
A 0005010115 RADIATOR CAP
A 0005010115 RADIATOR CAP
415 A 0005012015 RADIATOR CAP
Repalced by: A 0005012315
415 A 0005012315 RADIATOR CAP
A 0005010360 SEAL RING
A 0005010360 SEAL RING
418 A 0005010280 GASKET
A 0005010460 SEAL RING
A 0005010460 SEAL RING
423 A 0009880695 SAFETY CHAIN
423 A 0009880695 SAFETY CHAIN
A 3209970140 SEAL RING
A 1365010054 FILLER CAP
436 N 000933010128 SCREW
439 N 912004010102 LOCK WASHER
441 N 000934010014 NUT
A 3175000327 SUPPORT
445 A 3175000827 SUPPORT
449 A 3179870214 RUBBER STRIP
20X5X700 MM
A 3179870414 RUBBER STRIP
Repalced by: A 3179870214
452 A 3175000216 AIR BAFFLE
456 N 000931008152 SCREW
459 N 912004008102 LOCK WASHER
461 N 000934008010 NUT
466 A 3175000012 RUBBER BUFFER
468 N 000125013008 WASHER
470 N 912004012100 LOCK WASHER
472 N 000934012021 NUT
A 3175000145 RADIATOR STRUT
481 N 900331010462 PULL ROD
Repalced by: N 900331010654
481 N 900331010654 PULL ROD
481 N 900331010654 PULL ROD
483 N 900331010463 PULL ROD
Repalced by: N 900331010655
483 N 900331010655 PULL ROD
486 A 3275040065 RUBBER BUFFER
489 A 3275040053 SPACER TUBE
A 3209906040 WASHER
5 MM
492 A 3209905640 WASHER
2.5 MM
496 N 009021010202 WASHER
Repalced by: N 009021010209
496 N 009021010209 WASHER
499 N 912004010102 LOCK WASHER
501 N 000934010014 NUT
520 A 0005054301 RADIATOR SHUTTER
523 A 0005054001 RADIATOR SHUTTER
703 MM
526 A 0005050110 CABLE PULL
529 A 0005051821 GUIDE
532 A 0005051409 CHAIN
1900 MM
536 A 0005050227 FERRULE
540 A 0005051921 GUIDE
552 N 000933006102 SCREW
554 N 000125006421 WASHER
556 N 912004006102 LOCK WASHER
558 N 000934006007 NUT
X XXXXXXXXXXXX PART NAME MISSING
COOLING WATER LINE
A 3175012224 COOLING WATER PIPE
45 MM
580 A 3175016024 COOLING WATER PIPE
45 MM
580 A 3175016024 COOLING WATER PIPE
45 MM
580 A 3175016024 COOLING WATER PIPE
45 MM
A 3175009872 LINE
A 3175009872 LINE
583 A 3175010724 COOLING WATER PIPE
A 3172000119 PIPE ELBOW
A 3172000419 PIPE ELBOW
586 A 3175013624 COOLING WATER PIPE
A 3175000272 LINE
A 3175001572 LINE
588 A 3175010324 COOLING WATER PIPE
A 3175013024 COOLING WATER PIPE
A 3175002872 LINE
A 3175002872 LINE
A 3175000089 LINE
A 3175000089 LINE
A 3175005572 LINE
A 3175000189 LINE
A 3175003672 LINE
A 3175009972 LINE
590 A 3172000519 PIPE ELBOW
A 0012031475 THERMOSTAT ELEMENT
Repalced by: A 0022030175
A 0012039475 THERMOSTAT ELEMENT
Repalced by: A 0022030175
594 A 0022030175 THERMOSTAT ELEMENT
A 3172030315 PIPE
Repalced by: A 3172030615
A 3172030615 PIPE
599 A 3172030715 PIPE
A 3172000453 LINE
Repalced by: A 3172000853
A 3172000853 LINE
A 3172000953 LINE
A 3172001153 LINE
Repalced by: A 3172001553
A 3172001553 LINE
A 3172001553 LINE
606 A 3175000289 LINE
606 A 3175000289 LINE
607 A 0005061864 VALVE
607 A 0005061864 VALVE
A 3179950210 CLAMP
Repalced by: A 3179950510
609 A 3179950510 CLAMP
609 A 3179950510 CLAMP
611 A 3179972082 HOSE
611 A 3179972082 HOSE
615 A 3172030084 SHIM
2 MM
A 3172030184 SHIM
5 MM
A 3172030384 SHIM
5 MM
A 3172030484 SHIM
2 MM
619 N 000933008153 SCREW
Repalced by: N 304017008034
619 N 304017008034 SCREW
621 N 912004008102 LOCK WASHER
623 N 000934008010 NUT
628 A 3176111914 BRACKET
N 900273050000 HOSE
633 A 3175011582 HOSE
636 N 916017040000 CLAMP
Repalced by: N 000000000671
636 N 000000000671 CLAMP
A 3175000372 LINE
A 3175001472 LINE
A 3175001672 LINE
A 3175014524 COOLING WATER PIPE
639 A 3175013924 COOLING WATER PIPE
A 3175017024 COOLING WATER PIPE
A 3155460175 CLAMP
N 000933006102 SCREW
N 912004006102 LOCK WASHER
N 000934006007 NUT
A 3175010524 COOLING WATER PIPE
A 3175012124 COOLING WATER PIPE
646 A 3175014824 COOLING WATER PIPE
A 3175010624 COOLING WATER PIPE
648 A 3175015024 COOLING WATER PIPE
A 3175014924 COOLING WATER PIPE
650 N 900271045005 HOSE
120 MM
652 N 916017040000 CLAMP
Repalced by: N 000000000671
652 N 000000000671 CLAMP
N 916016022202 CLAMP
N 916016022206 CLAMP
N 007971007100 SHEET METAL SCREW
N 000933008147 SCREW
Repalced by: N 304017008021
N 304017008021 SCREW
N 000933006121 SCREW
Repalced by: N 304017006020
N 304017006020 SCREW
N 000125008418 WASHER
Repalced by: N 000125008443
N 000125008443 WASHER
N 000125006421 WASHER
N 912004008102 LOCK WASHER
N 912004006102 LOCK WASHER
N 000934008010 NUT
N 000934006007 NUT
A 3172030040 BRACKET
670 A 3175063860 PIPE
673 A 3175063960 PIPE
A 3175063560 PIPE
676 A 3175064060 PIPE
679 A 3175063460 PIPE
682 N 900271022010 HOSE
90 MM
N 916017025000 CLAMP
Repalced by: N 000000000668
N 000000000668 CLAMP
N 000933008145 SCREW
N 912004008102 LOCK WASHER
N 000934008010 NUT
A 3175010025 BREATHER PIPE
N 900273008003 HOSE
100 MM
N 916017011000 CLAMP
Repalced by: N 916017011001
N 916017011001 CLAMP
Repalced by: N 000000000665
N 000000000665 CLAMP
720 A 0005001598 HEATING UNIT
723 A 0005061501 HEATER
726 A 0009871614 RUBBER STRIP
60X3X440 MM
A 0009871714 RUBBER STRIP
Repalced by: A 3059870014
731 A 3059870014 RUBBER STRIP
738 A 0005060803 HEATER JACKET
740 A 0005060703 HEATER JACKET
742 N 000933008113 SCREW
743 N 912004008102 LOCK WASHER
744 N 000934008010 NUT
746 A 0005060412 FAN HOUSING
748 A 0005061699 MOTOR
12V 450W
751 A 0005060698 CARBON BRUSH
756 N 006888004002 WOODRUFF KEY
759 N 912004012100 LOCK WASHER
761 N 000936012009 NUT
765 A 0005061006 FAN
769 A 0005060840 BRACKET
773 N 000933006121 SCREW
Repalced by: N 304017006020
773 N 304017006020 SCREW
776 N 912004006102 LOCK WASHER
779 N 000934006007 NUT
782 A 0019870440 RUBBER BUFFER
N 900455023000 DISC SPRING
Repalced by: A 0009934726
784 A 0009934726 DISC SPRING
786 N 000137008204 SPRING WASHER
Repalced by: N 000137008212
786 N 000137008212 SPRING WASHER
788 N 000439008211 NUT
Repalced by: N 304035008001
788 N 304035008001 NUT
790 A 0005450567 CONTACTOR
Repalced by: A 0005450967
790 A 0005450967 CONTACTOR
793 N 000933005058 SCREW
796 N 912004005103 LOCK WASHER
799 N 000934005008 NUT
805 A 0005461508 ELECTRIC CABLE
808 A 0005460235 BOOT
Repalced by: A 0005463335
808 A 0005463335 BOOT
811 A 0005460514 ELECTRIC CABLE
815 A 0005460503 ELECTRIC CABLE
818 A 0005460603 ELECTRIC CABLE
822 A 0005461841 CABLE CONNECTOR
826 N 000086004139 SCREW
828 N 000086004140 SCREW
832 N 912004004102 LOCK WASHER
834 N 000934004006 NUT
838 N 000931010167 SCREW
840 N 000137010201 SPRING WASHER
N 000933008212 SCREW
Repalced by: N 304017008016
N 304017008016 SCREW
N 000137000200 SPRING WASHER
846 N 304017010027 SCREW
848 N 000137000200 SPRING WASHER
850 N 000934010014 NUT
N 304017010027 SCREW
N 000137010201 SPRING WASHER
N 000934010014 NUT
863 A 0005060764 VALVE
866 A 0019971845 SEAL RING
869 A 0019971945 SEAL RING
871 A 0005060940 BRACKET
N 000933005057 SCREW
N 912004005103 LOCK WASHER
N 000934005008 NUT
876 A 0009951420 CLAMP
878 N 000933005058 SCREW
879 N 912004005103 LOCK WASHER
880 N 000934005008 NUT
883 A 0005060271 LEVER
N 000086005108 SCREW
N 912004005103 LOCK WASHER
N 000125005317 WASHER
Repalced by: N 000433005304
N 000433005304 WASHER
N 000933005057 SCREW
N 912004005103 LOCK WASHER
N 000934005008 NUT
A 3175000472 LINE
A 3175060860 PIPE
Repalced by: A 3175008072
A 3175008072 LINE
A 3175008072 LINE
A 3175008072 LINE
A 3175001289 LINE
A 3175001289 LINE
904 N 900271012018 HOSE
906 N 900271028008 HOSE
N 916017032000 CLAMP
Repalced by: N 000000000670
N 000000000670 CLAMP
N 916017016000 CLAMP
Repalced by: N 000000000666
N 000000000666 CLAMP
A 3175000572 LINE
A 3175002272 LINE
911 A 3175060960 PIPE
911 A 3175060960 PIPE
911 A 3175060960 PIPE
911 A 3175060960 PIPE
A 3175065560 PIPE
A 3175065560 PIPE
A 0009970436 VALVE
A 0009930225 SPRING
N 916016045200 CLAMP
N 000125006421 WASHER
N 000084006137 SCREW
914 A 3179950132 CLAMP
N 000931008266 SCREW
N 912004008102 LOCK WASHER
N 000934008010 NUT
919 A 3045460075 CLAMP
N 000934006024 NUT
N 000125006421 WASHER
N 912004006102 LOCK WASHER
N 000934006007 NUT
A 3179950310 CLAMP
Repalced by: A 3179950410
A 3179950410 CLAMP
A 3179972182 HOSE
N 000084006197 SCREW
N 912004006102 LOCK WASHER
N 000934006007 NUT
N 900271028008 HOSE
A 3175010882 HOSE
Repalced by: A 3175011682
A 3175011682 HOSE
N 916017032000 CLAMP
Repalced by: N 000000000670
N 000000000670 CLAMP
N 900271045005 HOSE
A 3462030082 HOSE
N 916017040000 CLAMP
Repalced by: N 000000000671
N 000000000671 CLAMP
A 3179971482 HOSE
N 916017011000 CLAMP
Repalced by: N 916017011001
N 916017011001 CLAMP
Repalced by: N 000000000665
N 000000000665 CLAMP
A 3175060157 BREATHER PIPE
A 3175060257 BREATHER PIPE
A 3175000124 BREATHER PIPE
A 0000740671 SCREW
Repalced by: A 0000741771
A 0000741771 SCREW
(BREATHER SCREW)
A 3175060757 BREATHER PIPE
930 A 3175060857 BREATHER PIPE
930 A 3175060857 BREATHER PIPE
A 3175061057 BREATHER PIPE
933 A 3175060957 BREATHER PIPE
933 A 3175060957 BREATHER PIPE
A 3175000024 BREATHER PIPE
A 0000740671 SCREW
Repalced by: A 0000741771
A 0000741771 SCREW
(BREATHER SCREW)
936 N 900271012018 HOSE
942 N 900271012018 HOSE
942 N 900271012018 HOSE
N 916017016000 CLAMP
Repalced by: N 000000000666
N 000000000666 CLAMP
946 A 3049951520 CLAMP
N 000933006102 SCREW
N 912004006102 LOCK WASHER
N 000934006007 NUT