Pereiti į pagrindinį turinį

http://www.iauto.lt

automobilių detalių žinynas

Pasiūlymus siųskite: info@iauto.lt

KrepšelisViso detalių : 0
  • Registracija
  • Pamiršau slaptažodį
Paieška pagal kodą
Ieškoti
Mano miestas
Gamintojas
Modelis
Ieškoti
Mano auto
TOYOTA
CROWN universalas
2.5 4WD (147kW)
DAIHATSU
LEEZA
0.7 (37kW)
VOLVO
V50 (MW)
1.8 (92kW)
HOLDEN
COMMODORE sedanas (VH)
4.2 V8 (100kW)
DAIHATSU
OPTI
0.7 Turbo (47kW)
Rodyti visus
VAG automobilių detalių brėžiniai, katalogas - žinynas (manualai) su orginaliais autodalių kodais
Paieška VAG kataloge
Mercedes brėžiniai
Paieška Mercedes kataloge
eMail
Skype
Phone

Pagrindinis meniu

  • Pradžia
  • Paieška
  • Pardavėjai
  • Gamintojai
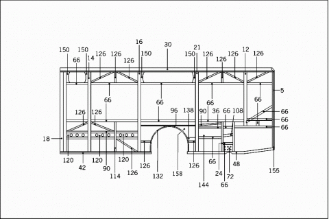
Transporto priemonė: O 530 GN3 EURO 3; VIN numerio dalis: 628250
Rinktis kitą modelį
Grupė: 63 SIDE PANELS
Rinktis kitą grupę
Pasirinkite norimą pogrupį:
180 FRONT CARRIAGE FRAMEWORK,LEFT 88471
185 FRONT CARRIAGE FRAMEWORK,LEFT,FOR CHASSIS 88472
240 FRONT CARRIAGE FRAMEWORK,RIGHT 88805 88803 88806
250 FRONT CARRIAGE FRAMEWORK,RIGHT,FOR CHASSIS 88807
330 REAR CARRIAGE FRAMEWORK,LEFT 88859 88861
335 REAR CARRIAGE FRAMEWORK,LEFT,FOR CHASSIS 88862
363 REAR CARRIAGE FRAMEWORK,RIGHT,1 DOOR 88868
366 REAR CARRIAGE FRAMEWORK,RIGHT,2 DOORS 88870
369 REAR CARRIAGE FRAMEWORK,RIGHT,FOR CHASSIS 88871
480 LEFT AND RIGHT SIDE PANELLING 89188 89189 89204 89192 89202 89203 89205 89206
500 SUPPORT AND CONNECTORS FOR FRAME,LEFT AND RIGHT 89290
Reklama
Kontaktai
Pasiūlymas
Skaitliukas
 


© 2010-2013 UAB "RPV" Paslaugų teikimo sąlygos - Privatumo politika - Kopijuoti ir naudoti komerciniais tikslais draudžiama