Pagrindinis meniu

Transporto priemonė: 1424; VIN numerio dalis: 383037
Grupė: 42 BRAKES
43959
43960
43205
43961
43962
43963
43964
43965
43966
43967
43955
43956
44358
44359
44356
43218
# Kodas Pavadinimas
T YYYYYYYYYYYY PART NAME MISSING
FOR FRONT BRAKE,SEE SEPARATE SPARE PARTS LIST 730.0
T YYYYYYYYYYYY PART NAME MISSING
FOR REAR BRAKE,SEE SEPARATE SPARE PARTS LIST 740.1
010 A 0004294338 ELBOW FITTING
010 A 0004294338 ELBOW FITTING
012 N 074305026202 NUT
012 N 074305026202 NUT
015 A 0004290527 THRUST RING
015 A 0004290527 THRUST RING
016 A 0039973848 SEAL RING
016 A 0039973848 SEAL RING
017 N 074298022203 DOUBLE FITTING
020 A 0004291401 LINE
15 MM
025 N 003872015100 UNION NUT
Repalced by: N 915018015000
025 N 915018015000 UNION NUT
027 N 003861015004 GLAND
029 N 915065015101 THRUST RING
031 A 0004290527 THRUST RING
A 0004292084 SEAL RING
Repalced by: N 915045012100
031 N 915045012100 SEAL RING
Repalced by: N 007603012121
031 N 007603012121 SEAL RING
032 A 0009909671 ELBOW FITTING
Repalced by: A 0029901271
032 A 0029901271 ELBOW FITTING
FITTING TO FRAME SIDE MEMBER
032 N 003941015101 FITTING
FITTING TO FRAME SIDE MEMBER
033 N 074305022202 NUT
FITTING TO FRAME SIDE MEMBER
A 3859901540 WASHER
034 A 3609952001 CLAMP
Repalced by: A 6739950001
034 A 6739950001 CLAMP
BRACKET TO ENGINE
035 N 000000001147 SCREW
BRACKET TO ENGINE
M 6X20
036 N 912004006102 LOCK WASHER
BRACKET TO ENGINE
037 N 913004006002 NUT
Repalced by: N 913004006001
037 N 913004006001 NUT
BRACKET TO ENGINE
040 A 0004292101 LINE
12 MM
045 N 003870012014 UNION NUT
047 N 003861012007 GLAND
Repalced by: A 0019901967
047 A 0019901967 SEAL CONE
050 A 0109975982 HOSE
Repalced by: A 0009872827
050 A 0009872827 PLASTIC PIPE
12 MM
051 A 0049971772 FITTING
Repalced by: A 0029906171
051 A 0029906171 FITTING
(PARTS KIT),LINE RUPTURE
TO 010 997 59 82
052 N 040621013200 INSULATING HOSE
BLACK
13X0.8 MM
052 N 040621010200 INSULATING HOSE
056 N 915062009000 SLEEVE
060 N 915052009009 BANJO UNION
065 N 074317012300 FITTING
070 A 0089979082 HOSE
8 MM
072 N 040621008207 INSULATING HOSE
RED
8 MM
072 N 040621008206 INSULATING HOSE
BLUE
8 MM
N 040621008216 INSULATING HOSE
GREEN
8 MM
080 N 003870008101 UNION NUT
Repalced by: N 915017008100
080 N 915017008100 UNION NUT
082 N 003861008005 GLAND
084 N 915062006000 SLEEVE
086 N 915052006021 BANJO UNION
088 N 915052006014 BANJO UNION
092 A 0019976772 FITTING
Repalced by: N 915059006000
092 N 915059006002 FITTING
095 A 0089976082 HOSE
Repalced by: A 0009872627
095 A 0009872627 PLASTIC PIPE
BLACK
6X4 MM
097 N 040621006203 INSULATING HOSE
RED
6 MM
100 N 915017006100 UNION NUT
102 N 003861006007 GLAND
Repalced by: A 0019901667
102 A 0019901667 SEAL CONE
104 A 0009920105 BUSHING
Repalced by: N 915062004000
104 N 915062004000 SLEEVE
105 A 3854311840 BRACKET
MOUNTING USED FOR COMPRESSED AIR LINES
105 A 3604293140 BRACKET
MOUNTING USED FOR COMPRESSED AIR LINES
106 N 304014008004 SCREW
Repalced by: N 304014008001
106 N 304014008001 SCREW
MOUNTING USED FOR COMPRESSED AIR LINES
107 N 000125008418 WASHER
Repalced by: N 000125008443
107 N 000125008443 WASHER
MOUNTING USED FOR COMPRESSED AIR LINES
108 N 913004008004 NUT
Repalced by: N 913004008001
108 N 913004008001 NUT
MOUNTING USED FOR COMPRESSED AIR LINES
110 A 3874291140 BRACKET
112 N 000933008147 SCREW
Repalced by: N 304017008021
112 N 304017008021 SCREW
113 N 913004008004 NUT
Repalced by: N 913004008001
113 N 913004008001 NUT
114 A 3874292740 BRACKET
PRESSURE GAUGE LINE TO BRACKET
A 3874291540 BRACKET
PRESSURE GAUGE LINE TO BRACKET
115 A 3609952001 CLAMP
Repalced by: A 6739950001
115 A 6739950001 CLAMP
MOUNTING USED FOR COMPRESSED AIR LINES
116 N 007985006193 SCREW
Repalced by: N 000000001146
116 N 000000001146 SCREW
MOUNTING USED FOR COMPRESSED AIR LINES
117 N 913004006002 NUT
Repalced by: N 913004006001
117 N 913004006001 NUT
MOUNTING USED FOR COMPRESSED AIR LINES
A 3524281740 BRACKET
Repalced by: A 3184280240
A 3184280240 BRACKET
MOUNTING USED FOR COMPRESSED AIR LINES
N 000933008153 SCREW
Repalced by: N 304017008034
N 304017008034 SCREW
MOUNTING USED FOR COMPRESSED AIR LINES
N 913004008004 NUT
Repalced by: N 913004008001
N 913004008001 NUT
MOUNTING USED FOR COMPRESSED AIR LINES
118 A 3874292540 BRACKET
LEFT
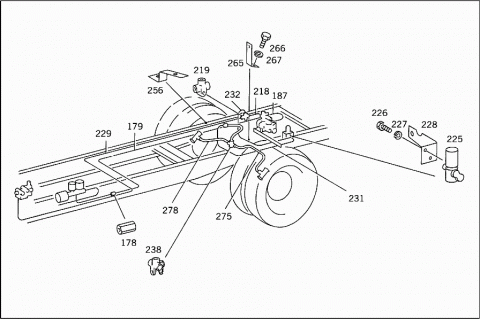
A 3874292640 BRACKET
RIGHT
119 N 000933008145 SCREW
120 N 913004008004 NUT
Repalced by: N 913004008001
120 N 913004008001 NUT
121 A 0004290086 PROTECTIVE TUBE
Repalced by: A 0004290286
121 A 0004290286 PROTECTIVE TUBE
PLASTIC LINE TO FRONT CROSS MEMBER
122 A 3274925419 BRACKET
Repalced by: A 6205240340
122 A 6205240340 BRACKET
PLASTIC LINE TO FRONT CROSS MEMBER
123 N 000933008153 SCREW
Repalced by: N 304017008034
123 N 304017008034 SCREW
PLASTIC LINE TO FRONT CROSS MEMBER
124 N 913004008004 NUT
Repalced by: N 913004008001
124 N 913004008001 NUT
PLASTIC LINE TO FRONT CROSS MEMBER
125 N 000125008418 WASHER
Repalced by: N 000125008443
125 N 000125008443 WASHER
PLASTIC LINE TO FRONT CROSS MEMBER
126 N 000933008147 SCREW
Repalced by: N 304017008021
126 N 304017008021 SCREW
PLASTIC LINES TO FRAME
127 N 913004008004 NUT
Repalced by: N 913004008001
127 N 913004008001 NUT
PLASTIC LINES TO FRAME
128 A 3854200244 PROTECTIVE PLATE
Repalced by: A 3854200644
128 A 3854200644 PROTECTIVE PLATE
Repalced by: A 3854201544
128 A 3854201544 PROTECTIVE PLATE
HEAT INSULATION; PLASTIC LINES; ON THE LEFT
128 A 3854200244 PROTECTIVE PLATE
Repalced by: A 3854200744
128 A 3854200744 PROTECTIVE PLATE
Repalced by: A 3854201444
128 A 3854201444 PROTECTIVE PLATE
HEAT INSULATION;PLASTIC LINES;ON THE RIGHT
129 N 000933008153 SCREW
Repalced by: N 304017008034
129 N 304017008034 SCREW
HEAT SHIELD TO SIDE MEMBER
130 N 000125008418 WASHER
Repalced by: N 000125008443
130 N 000125008443 WASHER
HEAT SHIELD TO SIDE MEMBER
131 N 913004008004 NUT
Repalced by: N 913004008001
131 N 913004008001 NUT
HEAT SHIELD TO SIDE MEMBER
T YYYYYYYYYYYY PART NAME MISSING
SEE FIG. NO.:
119 D
132 A 0004294137 DISTRIBUTOR
COMPRESSED AIR
132 A 0004294037 DISTRIBUTOR
COMPRESSED AIR
133 N 304017006026 SCREW
Repalced by: N 304017006026
133 N 304017006026 SCREW
DISTRIBUTOR TO CAB
134 N 000125006421 WASHER
DISTRIBUTOR TO CAB
135 N 913004006002 NUT
Repalced by: N 913004006001
135 N 913004006001 NUT
DISTRIBUTOR TO CAB
136 A 6204295240 BRACKET
AT CAB FLOOR
137 N 913004006002 NUT
Repalced by: N 913004006001
137 N 913004006001 NUT
AT CAB FLOOR
138 A 0009971572 FITTING
Repalced by: A 0019972572
138 A 0019972572 FITTING
138 N 915011008102 HOLLOW SCREW
Repalced by: N 915036008102
138 N 915039008202 HOLLOW SCREW FITTING
DISTRIBUTOR,CONNECTIONS:
"1,2,3"
139 N 915036012203 HOLLOW SCREW
AT DISTRIBUTOR
139 N 915047008202 HOLLOW SCREW
DISTRIBUTOR,CONNECTION:
"1"
140 N 007603016401 SEAL RING
AT DISTRIBUTOR
140 N 007603012405 SEAL RING
AT DISTRIBUTOR
141 N 000908012003 SCREW PLUG
Repalced by: N 000908012009
141 N 000908012009 SCREW PLUG
AT DISTRIBUTOR
144 A 3404201529 LINE
FROM BRAKE MASTER CYLINDER TO TEST CONNECTION
900 MM
144 A 3404201529 LINE
FROM BRAKE MASTER CYLINDER TO TEST CONNECTION
900 MM
144 A 3404204029 LINE
FROM MASTER CYLINDER TO FRONT AXLE TEST CONNECTION
2600 MM
144 A 3404204229 LINE
FROM MASTER CYLINDER TO FRONT AXLE TEST CONNECTION
3000 MM
145 A 3404200529 LINE
FROM TEST CONNECTION TO VALVE
400 MM
146 A 3879970181 GROMMET
BRAKE LINE
147 A 0039973481 GROMMET
BRAKE LINE
148 A 3859970381 GROMMET
BRAKE LINE
A 0004290437 DISTRIBUTOR
149 A 0004312231 TEST CONNECTION
FRONT AXLE BRAKE CIRCUIT I
149 A 0004312231 TEST CONNECTION
FRONT AXLE BRAKE CIRCUIT I
149 A 0004316531 TEST CONNECTION
FRONT AXLE BRAKE CIRCUIT I
149 A 0004316531 TEST CONNECTION
FRONT AXLE BRAKE CIRCUIT I
150 A 0004311231 TEST CONNECTION
FRONT AXLE BRAKE CIRCUIT I
150 A 0004316631 TEST CONNECTION
FRONT AXLE BRAKE CIRCUIT I
151 N 000931008246 SCREW
Repalced by: N 304017008028
151 N 304017008028 SCREW
TEST CONNECTION TO BRACKET
152 N 913004008004 NUT
Repalced by: N 913004008001
152 N 913004008001 NUT
TEST CONNECTION TO BRACKET
153 A 1801550053 SPACER TUBE
TEST CONNECTION TO BRACKET
154 A 0004314513 VALVE
PRESSURE CONTROL VALVE
154 A 0004314613 VALVE
PRESSURE CONTROL VALVE
155 A 0019970341 SEAL RING
TO 000 431 46 13
A 0209975948 SEAL RING
TO 000 431 46 13
156 A 0019970441 SEAL RING
TO 000 431 46 13
157 A 0069974548 SEAL RING
Repalced by: A 0019975945
157 A 0019975945 SEAL RING
TO 000 431 46 13
158 A 0000600178 VALVE
Repalced by: A 3075530107
158 A 3075530107 VALVE
TO 000 431 46 13
159 A 0004280032 SCREW PLUG
CONNECTIONS "1,2"
160 N 000931008251 SCREW
REGULATING VALVE TO BRACKET
161 N 913004008004 NUT
Repalced by: N 913004008001
161 N 913004008001 NUT
REGULATING VALVE TO BRACKET
162 A 3854315540 BRACKET
(REGULATING VALVE)
163 N 000933008153 SCREW
Repalced by: N 304017008034
163 N 304017008034 SCREW
VALVE TO CROSS MEMBER
164 N 913004008004 NUT
Repalced by: N 913004008001
164 N 913004008001 NUT
VALVE TO CROSS MEMBER
165 N 000933010105 SCREW
VALVE TO CROSS MEMBER
166 N 913004010008 NUT
Repalced by: N 910113010000
166 N 910113010000 NUT
VALVE TO CROSS MEMBER
A 3815530340 BRACKET
TEST CONNECTION
A 3604292440 BRACKET
Repalced by: A 3604292940
A 3604292940 BRACKET
N 000933008153 SCREW
Repalced by: N 304017008034
N 304017008034 SCREW
N 913004008004 NUT
Repalced by: N 913004008001
N 913004008001 NUT
Y YYYYYYYYYYYY PART NAME MISSING
SEE FIG. NO.:
146
A 3604280243 ANGLE
BRAKE LINE TO CROSS MEMBER BEHIND CAB
N 000933008147 SCREW
Repalced by: N 304017008021
N 304017008021 SCREW
BRAKE LINE TO CROSS MEMBER BEHIND CAB
M 8X20
N 913004008004 NUT
Repalced by: N 913004008001
N 913004008001 NUT
BRAKE LINE TO CROSS MEMBER BEHIND CAB
A 3604300143 CLAMP
Repalced by: N 916016008200
N 916016008200 CLAMP
BRAKE LINE TO CROSS MEMBER BEHIND CAB
N 000000001147 SCREW
BRAKE LINE TO CROSS MEMBER BEHIND CAB
M 6X20
N 913004006002 NUT
Repalced by: N 913004006001
N 913004006001 NUT
BRAKE LINE TO CROSS MEMBER BEHIND CAB
167 A 3404203829 LINE
FROM TEST CONNECTION TO LEFT FRONT WHEEL BRAKE HOSE
2200 MM
167 A 3404202929 LINE
FROM VALVE TO LEFT FRONT WHEEL
1600 MM
168 A 3404202329 LINE
FROM TEST CONNECTION TO LEFT FRONT WHEEL BRAKE HOSE
1300 MM
168 A 3404203129 LINE
FROM TEST CONNECTION TO RIGHT FRONT WHEEL BRAKE HOSE
1700 MM
168 A 3404203929 LINE
FROM VALVE TO RIGHT FRONT WHEEL
2400 MM
168 A 3404204129 LINE
FROM VALVE TO RIGHT FRONT WHEEL
2800 MM
169 A 3404200729 LINE
FROM VALVE TO TEST CONNECTION
500 MM
170 A 3859970081 GROMMET
171 A 3854280040 BRACKET
Repalced by: A 3854280240
171 A 3854280240 BRACKET
LEFT BRAKE HOSE
171 A 3854280340 BRACKET
RIGHT BRAKE HOSE
172 N 000933008147 SCREW
Repalced by: N 304017008021
172 N 304017008021 SCREW
BRACKET TO SIDE MEMBER
172 N 000933008153 SCREW
Repalced by: N 304017008034
172 N 304017008034 SCREW
BRACKET TO SIDE MEMBER
173 N 913004008004 NUT
Repalced by: N 913004008001
173 N 913004008001 NUT
BRACKET TO SIDE MEMBER
T YYYYYYYYYYYY PART NAME MISSING
SEE FIG. NO.:
174 P
T YYYYYYYYYYYY PART NAME MISSING
SEE FIG. NO.:
174 T
175 A 0014282935 BRAKE HOSE
Repalced by: A 0004288935
175 A 0024281135 BRAKE HOSE
Repalced by: A 0004288935
175 A 0004288935 BRAKE HOSE
650 MM
175 A 0014284835 BRAKE HOSE
650 MM
176 A 0004280473 BRACKET
Repalced by: A 6525040038
176 A 6525040038 MOUNTING PLATE
177 A 3404201129 LINE
FROM BRAKE MASTER CYLINDER TO TEST CONNECTION
700 MM
177 A 3404201129 LINE
FROM MASTER CYLINDER TO CONNECTOR
700 MM
177 A 3404201929 LINE
FROM BRAKE MASTER CYLINDER TO TEST CONNECTION
1100 MM
178 A 0004292736 CONNECTOR
179 A 3404204329 LINE
FROM CONNECTOR TO TEST CONNECTION
3200 MM
179 A 3404204529 LINE
FROM CONNECTOR TO TEST CONNECTION
3600 MM
179 A 3404204829 LINE
FROM CONNECTOR TO TEST CONNECTION
4200 MM
179 A 3404205129 LINE
FROM CONNECTOR TO TEST CONNECTION
4800 MM
179 A 3404205329 LINE
FROM CONNECTOR TO TEST CONNECTION
5200 MM
180 A 0004311231 TEST CONNECTION
REAR AXLE BRAKE CIRCUIT
180 A 0004316631 TEST CONNECTION
REAR AXLE BRAKE CIRCUIT
182 A 3854310153 SPACER TUBE
Repalced by: A 4409910040
182 A 4409910040 SPACER TUBE
TEST CONNECTION TO SIDE MEMBER
182 A 1801550053 SPACER TUBE
TEST CONNECTION TO SIDE MEMBER
183 N 000931008251 SCREW
TEST CONNECTION TO SIDE MEMBER
8X75 MM
183 N 000931008322 SCREW
TEST CONNECTION TO SIDE MEMBER
8X80 MM
184 N 000125008418 WASHER
Repalced by: N 000125008443
184 N 000125008443 WASHER
TEST CONNECTION TO SIDE MEMBER
185 N 913004008004 NUT
Repalced by: N 913004008001
185 N 913004008001 NUT
TEST CONNECTION TO SIDE MEMBER
187 A 3404204129 LINE
FROM TEST CONNECTION TO BRAKE POWER REGULATOR
2800 MM
187 A 3404204329 LINE
FROM TEST CONNECTION TO BRAKE POWER REGULATOR
3200 MM
187 A 3404204629 LINE
FROM TEST CONNECTION TO BRAKE POWER REGULATOR
3800 MM
187 A 3404204929 LINE
FROM TEST CONNECTION TO BRAKE POWER REGULATOR
4400 MM
187 A 3404205129 LINE
FROM TEST CONNECTION TO BRAKE POWER REGULATOR
4800 MM
187 A 3404201729 LINE
FROM TEST CONNECTION TO BRAKE POWER REGULATOR,CONNECTION "1"
188 A 3834310340 BRACKET
Repalced by: A 3834300039
188 A 3834300039 SUPPORT
BRAKE POWER REGULATOR
189 N 000961012151 SCREW
189 N 000961012151 SCREW
189 N 000961012097 SCREW
Repalced by: N 308676012026
189 N 308676012026 SCREW
190 N 910113012002 NUT
191 A 0004314312 BRAKE PRESSURE REGULATOR
191 A 0004314312 BRAKE PRESSURE REGULATOR
191 A 0004317512 BRAKE PRESSURE REGULATOR
191 A 0004314412 BRAKE PRESSURE REGULATOR
A 0004312713 GUIDE BUSHING
TO 000 431 43 12,000 431 44 12
A 0004312339 LEVER
TOOTHED
A 0004312439 LEVER
A 0004316583 PISTON
TO 000 431 43 12,000 431 44 12
A 0014312160 SEAL RING
TO 000 431 44 12
A 0109975845 SEAL RING
TO 000 431 43 12,000 431 44 12
A 0004310949 GUIDE BUSHING
TO 000 431 43 12,000 431 44 12
A 0014315693 SPRING
TO 000 431 44 12
A 0004318760 FELT STRIP
A 0079816310 NEEDLE BEARING
TO 000 431 44 12
A 0089975646 SEAL RING
TO 000 431 43 12,000 431 44 12
A 0014312260 SEAL RING
TO 000 431 44 12
A 0004318560 SEAL RING
TO 000 431 43 12,000 431 44 12
A 0014315493 SPRING
TO 000 431 44 12
193 A 0004310968 VALVE PART
Repalced by: A 0004311068
193 A 0004311068 VALVE PART
AS REQUIRED
TO 000 431 43 12,000 431 44 12
A 0014315793 SPRING
TO 000 431 44 12,000 431 43 12
A 0004318660 SEAL RING
AS REQUIRED
TO 000 431 43 12,000 431 44 12
A 0014315293 SPRING
TO 000 431 44 12
A 0004311049 GUIDE BUSHING
AS REQUIRED
TO 000 431 43 12,000 431 44 12
A 0029937201 SPRING
TO 000 431 43 12,000 431 44 12
194 N 007603018101 SEAL RING
AS REQUIRED
TO 000 431 43 12,000 431 44 12
195 A 0004310465 VALVE
Repalced by: A 0004310265
195 A 0004310265 VALVE
Repalced by: A 3075530107
195 A 3075530107 VALVE
TO 000 431 43 12,000 431 44 12
196 N 000931010258 SCREW
197 N 913004010008 NUT
Repalced by: N 910113010000
197 N 910113010000 NUT
198 A 0004311418 METAL SPRING BELLOWS
Repalced by: A 0004311718
198 A 0004311718 METAL SPRING BELLOWS
199 A 3834310440 BRACKET
METAL SPRING BELLOWS
201 N 000933012058 SCREW
METAL SPRING BELLOWS TO BRACKET
201 N 000961012056 SCREW
Repalced by: N 308676012038
201 N 308676012038 SCREW
METAL SPRING BELLOWS TO BRACKET
203 N 912004012100 LOCK WASHER
METAL SPRING BELLOWS TO BRACKET
204 A 3834310140 BRACKET
204 A 3834310140 BRACKET
206 N 000933010128 SCREW
BRACKET TO REAR AXLE HOUSING
206 N 000933010128 SCREW
BRACKET TO REAR AXLE HOUSING
207 N 912004010102 LOCK WASHER
BRACKET TO REAR AXLE HOUSING
207 N 912004010102 LOCK WASHER
BRACKET TO REAR AXLE HOUSING
A 3854230025 WEB
OPERATING ROD
N 000933008147 SCREW
Repalced by: N 304017008021
N 304017008021 SCREW
WEB TO OPERATING ROD BRACKET
N 000125008418 WASHER
Repalced by: N 000125008443
N 000125008443 WASHER
WEB TO OPERATING ROD BRACKET
N 913004008004 NUT
Repalced by: N 913004008001
N 913004008001 NUT
WEB TO OPERATING ROD BRACKET
209 A 3534300792 ROD
Repalced by: N 900331008427
209 A 3814300092 ROD
Repalced by: N 900331008427
209 N 900331008427 PULL ROD
212 A 0004310567 YOKE
Repalced by: A 0004310467
212 A 0004310467 YOKE
Repalced by: A 0004310667
212 A 0004310667 YOKE
R.H. THREAD
212 A 0004310867 YOKE
L.H. THREAD
214 N 304032008006 NUT
R.H. THREAD
214 N 000934008035 NUT
L.H. THREAD
216 N 913004008004 NUT
Repalced by: N 913004008001
216 N 913004008001 NUT
A 3524281740 BRACKET
Repalced by: A 3184280240
A 3184280240 BRACKET
217 A 3404200729 LINE
217 A 3404200729 LINE
FROM BRAKE POWER REGULATOR TO BRACKET
500 MM
218 A 3404201229 LINE
FROM BRAKE POWER REGULATOR TO DISTRIBUTOR
750 MM
219 A 0004290437 DISTRIBUTOR
REAR AXLE
219 A 0004294337 DISTRIBUTOR
REAR AXLE
N 000933008168 SCREW
DISTRIBUTOR TO BRACKET
N 913004008004 NUT
Repalced by: N 913004008001
N 913004008001 NUT
DISTRIBUTOR TO BRACKET
A 3604292940 BRACKET
DISTRIBUTOR
N 000933008153 SCREW
Repalced by: N 304017008034
N 304017008034 SCREW
BRACKET TO RIGHT SIDE MEMBER
N 913004008004 NUT
Repalced by: N 913004008001
N 913004008001 NUT
BRACKET TO RIGHT SIDE MEMBER
225 A 0014311612 BRAKE PRESSURE REGULATOR
(BRAKE POWER REDUCER)
225 A 0014311712 BRAKE PRESSURE REGULATOR
(BRAKE POWER REDUCER)
226 N 000933008212 SCREW
Repalced by: N 304017008016
226 N 304017008016 SCREW
BRAKE POWER REGULATOR TO BRACKET
227 N 912004008102 LOCK WASHER
BRAKE POWER REGULATOR TO BRACKET
228 A 3804310340 BRACKET
BRACKET TO BRACKET
229 A 3404204329 LINE
FROM DISTRIBUTOR TO VALVE
3200 MM
229 A 3404204529 LINE
FROM DISTRIBUTOR TO VALVE
3600 MM
229 A 3404204829 LINE
FROM DISTRIBUTOR TO VALVE
4200 MM
229 A 3404205129 LINE
FROM DISTRIBUTOR TO VALVE
4800 MM
229 A 3404205329 LINE
FROM DISTRIBUTOR TO VALVE
5200 MM
230 A 3404201929 LINE
FROM DISTRIBUTOR TO BRAKE HOSE ON REAR AXLE
1100 MM
231 A 3404200929 LINE
FROM DISTRIBUTOR TO BRAKE POWER REGULATOR
600 M
232 A 3404202229 LINE
FROM BRAKE POWER REGULATOR TO REAR BRAKE HOSE
233 A 3224280140 BRACKET
234 N 000933008147 SCREW
Repalced by: N 304017008021
234 N 304017008021 SCREW
235 N 913004008004 NUT
Repalced by: N 913004008001
235 N 913004008001 NUT
236 A 0004284335 BRAKE HOSE
Repalced by: A 0024280635
236 A 0024280635 BRAKE HOSE
Repalced by: A 0024280735
236 A 0014283135 BRAKE HOSE
Repalced by: A 0024280735
236 A 0014282935 BRAKE HOSE
Repalced by: A 0024280735
236 A 0024280735 BRAKE HOSE
600
237 A 0004280473 BRACKET
Repalced by: A 6525040038
237 A 6525040038 MOUNTING PLATE
238 A 0004316531 TEST CONNECTION
238 A 0004312231 TEST CONNECTION
N 912004008102 LOCK WASHER
239 N 000933008150 SCREW
Repalced by: N 304017008018
239 N 304017008018 SCREW
TEST CONNECTION TO BRACKET
240 N 913004008004 NUT
Repalced by: N 913004008001
240 N 913004008001 NUT
TEST CONNECTION TO BRACKET
244 A 3382930053 SPACER TUBE
Repalced by: A 3872640974
244 A 3872640974 PIN
TEST CONNECTION TO BRACKET
245 A 3604280243 ANGLE
BRAKE LINE MOUNTING
245 A 3854280043 ANGLE
Repalced by: A 3604280243
245 A 3604280243 ANGLE
BRAKE LINE MOUNTING
248 A 3604300143 CLAMP
Repalced by: N 916016008200
248 N 916016008200 CLAMP
BRAKE LINE MOUNTING
250 A 3609950601 CLAMP
BRAKE LINE MOUNTING
A 3852670040 BRACKET
BRAKE LINE MOUNTING
256 A 3854291740 BRACKET
BRAKE LINE MOUNTING
259 N 000933008153 SCREW
Repalced by: N 304017008034
259 N 304017008034 SCREW
BRAKE LINE MOUNTING
M 8X25
260 N 913004008004 NUT
Repalced by: N 913004008001
260 N 913004008001 NUT
BRAKE LINE MOUNTING
262 N 000933006121 SCREW
Repalced by: N 304017006020
262 N 304017006020 SCREW
BRAKE LINE MOUNTING
M 6X20
262 N 000933006127 SCREW
BRAKE LINE MOUNTING
M 6X25
264 N 913004006002 NUT
Repalced by: N 913004006001
264 N 913004006001 NUT
BRAKE LINE MOUNTING
265 A 3854294040 BRACKET
Repalced by: A 3812711640
265 A 3812711640 BRACKET
BRAKE LINE TO REAR AXLE
266 N 000933008212 SCREW
Repalced by: N 304017008016
266 N 304017008016 SCREW
BRAKE LINE TO REAR AXLE
M 8X16
267 N 912004008102 LOCK WASHER
BRAKE LINE TO REAR AXLE
275 A 3404202429 LINE
FROM DISTRIBUTOR TO LEFT REAR WHEEL
1350 MM
278 A 3404201129 LINE
FROM DISTRIBUTOR TO RIGHT REAR WHEEL
700 MM
332 A 3835840021 GUIDE SIGN
LOAD-DEPENDING BRAKE
332 A 3835840021 GUIDE SIGN
LOAD-DEPENDING BRAKE
332 A 3835840821 GUIDE SIGN
LOAD-DEPENDING BRAKE
332 A 3835843621 GUIDE SIGN
LOAD-DEPENDING BRAKE
332 A 3835840921 GUIDE SIGN
LOAD-DEPENDING BRAKE
332 A 3835840921 GUIDE SIGN
LOAD-DEPENDING BRAKE
332 A 3835840221 GUIDE SIGN
LOAD-DEPENDING BRAKE
332 A 3835841621 GUIDE SIGN
LOAD-DEPENDING BRAKE
A 3875840055 ADHESIVE FOIL
338 A 0014310006 PRESSURE REGULATOR
Repalced by: A 0024314906
338 A 0024314906 PRESSURE REGULATOR
WABCO
338 A 0014310606 PRESSURE REGULATOR
Repalced by: A 0024313406
338 A 0024313406 PRESSURE REGULATOR
Repalced by: A 0024314306
338 A 0014313406 PRESSURE REGULATOR
Repalced by: A 0024314306
338 A 0024314306 PRESSURE REGULATOR
BOSCH
338 A 0024318306 VALVE
KNORR
340 A 0015868543 REPAIR KIT
Repalced by: A 0004301407
340 A 0004301407 REPAIR KIT
TO 001 431 06 06,BOSCH 0 481 039 101
340 A 0015864343 REPAIR KIT
Repalced by: A 0004301107
340 A 0004301107 REPAIR KIT
TO 001 431 00 06,WABCO 975 300 110 0
340 A 0024304681 REPAIR KIT
VALVE KIT
TO 001 431 00 06,WABCO 975 300 110 0
340 A 0014304960 REPAIR KIT
TO 002 431 49 06,WABCO 975 303 460 0
340 A 0025866043 REPAIR KIT
TO 001 431 34 06,GRAU,312 017 014
340 A 0004301768 REPAIR KIT
DIAPHRAGM
TO 002 431 34 06,BOSCH 0 481 039 221
340 A 0004301768 REPAIR KIT
DIAPHRAGM
TO 002 431 43 06,BOSCH 0 481 039 201
340 A 0004307960 REPAIR KIT
TIRE INFLATING CONNECTION
TO 002 431 34 06,BOSCH 0 481 039 221
340 A 0004307960 REPAIR KIT
TIRE INFLATING CONNECTION
TO 002 431 43 06,BOSCH 0 481 039 201
340 A 0004300407 REPAIR KIT
TO 002 431 83 06
350 N 074301022203 ELBOW FITTING
PRESSURE REGULATOR,CONNECTION "1"
350 N 074301022203 ELBOW FITTING
PRESSURE REGULATOR,CONNECTION "1"
350 A 0009905871 ELBOW FITTING
PRESSURE REGULATOR,CONNECTION "1"
350 A 0009905871 ELBOW FITTING
PRESSURE REGULATOR,CONNECTION "1"
355 N 074305022202 NUT
PRESSURE REGULATOR,CONNECTION "1"
357 A 0004290227 THRUST RING
PRESSURE REGULATOR,CONNECTION "1"
359 A 0009870446 SEALING CORD
PRESSURE REGULATOR,CONNECTION "1"
365 A 0019972172 FITTING
PRESSURE REGULATOR,CONNECTION "2.1"
365 A 0019972372 FITTING
PRESSURE REGULATOR,CONNECTION "2.1"
367 N 007603022102 SEAL RING
PRESSURE REGULATOR,CONNECTION "2.1"
368 A 0004290227 THRUST RING
PRESSURE REGULATOR,CONNECTION "2.1"
369 A 0009870446 SEALING CORD
PRESSURE REGULATOR,CONNECTION "2.1"
370 A 0004310173 BREATHER PIPE
PRESSURE REGULATOR,CONNECTION "3"
371 N 916026020001 CLAMP
Repalced by: N 000000000667
371 N 000000000667 CLAMP
PRESSURE REGULATOR,CONNECTION "3"
372 A 0004300170 MUFFLER
PRESSURE REGULATOR,CONNECTION "3"
372 A 0159975082 HOSE
PRESSURE REGULATOR,CONNECTION "3"
373 N 916026020001 CLAMP
Repalced by: N 000000000667
373 N 000000000667 CLAMP
PRESSURE REGULATOR,CONNECTION "3"
373 N 916017032000 CLAMP
Repalced by: N 000000000670
373 N 000000000670 CLAMP
PRESSURE REGULATOR,CONNECTION "3"
373 N 916026016001 CLAMP
Repalced by: A 0059970190
373 A 0059970190 LOOM TIE
PRESSURE REGULATOR,CONNECTION "3"
A 0004310151 SPACER RING
PRESSURE REGULATOR,CONNECTION "3"
A 3854310440 BRACKET
375 A 3854310153 SPACER TUBE
Repalced by: A 4409910040
375 A 4409910040 SPACER TUBE
PRESSURE REGULATOR TO BATTERY SUPPORT
375 A 3809910040 SPACER TUBE
PRESSURE REGULATOR TO BATTERY SUPPORT
375 N 000125008418 WASHER
Repalced by: N 000125008443
375 N 000125008443 WASHER
PRESSURE REGULATOR TO BRACKET
376 N 000931008281 SCREW
PRESSURE REGULATOR TO BATTERY SUPPORT
376 N 000931008129 SCREW
PRESSURE REGULATOR TO BATTERY SUPPORT
376 N 000931008251 SCREW
PRESSURE REGULATOR TO BRACKET
377 N 913004008004 NUT
Repalced by: N 913004008001
377 N 913004008001 NUT
PRESSURE REGULATOR TO BATTERY SUPPORT
377 N 913004008004 NUT
Repalced by: N 913004008001
377 N 913004008001 NUT
PRESSURE REGULATOR TO BRACKET
378 N 074305022202 NUT
379 A 3814311240 BRACKET
PRESSURE REGULATOR
380 N 000933010105 SCREW
381 N 913004010008 NUT
Repalced by: N 910113010000
381 N 910113010000 NUT
A 0004312515 ANTI-FREEZE DEVICE
Repalced by: A 0004312615
A 0004312615 ANTI-FREEZE DEVICE
A 0039979848 SEAL RING
A 0004316787 PROTECTIVE CAP
A 0004321107 VALVE
ANTI-FREEZE DEVICE DRAIN
A 0004314476 WASHER
ANTI-FREEZE DEVICE DRAIN
A 0009890679 WICK
PARTS KIT
A 0004312156 SCREW PLUG
WITH DIPSTICK
A 0025861143 REPAIR KIT
TO 000 431 25 15,000 431 26 15,
Y YYYYYYYYYYYY PART NAME MISSING
WABCO 432 199 015 0,432 199 030 0
N 074301022203 ELBOW FITTING
A 0019972172 FITTING
N 074305022202 NUT
N 007603022102 SEAL RING
A 0004290227 THRUST RING
A 0009870446 SEALING CORD
382 A 0014313806 VALVE
Repalced by: A 0024310406
382 A 0024310406 VALVE
FOUR-CIRCUIT PROTECTIVE VALVE
BOSCH
382 A 0014313506 VALVE
Repalced by: A 0014318406
382 A 0014318406 VALVE
FOUR-CIRCUIT PROTECTIVE VALVE
KNORR
382 A 0014314706 VALVE
FOUR-CIRCUIT PROTECTIVE VALVE
WABCO
382 A 0014316806 VALVE
Repalced by: A 0024312906
382 A 0024312906 VALVE
Repalced by: A 0024319306
382 A 0024319306 VALVE
FOUR-CIRCUIT PROTECTIVE VALVE
GRAU
383 A 0014310986 CUP
TO 002 431 04 06,BOSCH
384 A 0009934905 SPRING
Repalced by: A 0009935205
384 A 0009935205 SPRING
TO 002 431 04 06,BOSCH
385 A 0014311860 SEAL RING
34X2.3 MM,TO 001 431 68 06,GRAU
386 A 0024298844 VALVE
TO 001 431 68 06;GRAU 37001
387 A 0099972448 SEAL RING
19.3X2.4MM;TO 0014316806;GRAU 37001
388 A 0059973248 SEAL RING
25.3X2.4 MM,TO 001 431 68 06,GRAU
389 A 0004313188 VALVE SEAT
TO 001 431 687 06;GRAU 37001
390 A 0014311960 SEAL RING
Repalced by: A 0009971548
390 A 0009971548 SEAL RING
15X2 MM,TO 001 431 68 06;GRAU 19001
391 A 0004302906 GASKET KIT
BOOT
TO 002 431 04 06,BOSCH
392 A 0025861743 REPAIR KIT
BOOT
TO 001 431 38 06,BOSCH
392 A 0015868443 REPAIR KIT
SEAL RING
TO 001 431 38 06,BOSCH
392 A 0015863842 REPAIR KIT
TO 001 431 35 06,KNORR
392 A 0034300881 REPAIR KIT
TO 002 431 93 06 GRAU 74001
392 A 0025860643 REPAIR KIT
Repalced by: A 0025862843
392 A 0025862843 REPAIR KIT
TO 001 431 47 06,WABCO 2100
392 A 0004300468 REPAIR KIT
TO 001 431 47 06,WABCO 2210
392 A 0004303160 REPAIR KIT
TO 001 431 84 06,KNORR
N 007603022102 SEAL RING
N 074313012300 FITTING
Repalced by: A 0029971372
A 0029971372 FITTING
393 N 074301022203 ELBOW FITTING
FOUR-CIRCUIT PROTECTION VALVE, CONNECTION "1"
393 N 074301022203 ELBOW FITTING
FOUR-CIRCUIT PROTECTION VALVE, CONNECTION "1"
393 A 0004293838 ELBOW FITTING
Repalced by: A 0004294638
393 A 0004294638 ELBOW FITTING
FOUR-CIRCUIT PROTECTION VALVE, CONNECTION "1"
393 A 0019972372 FITTING
FOUR-CIRCUIT PROTECTION VALVE, CONNECTION "1"
394 N 074305022202 NUT
FOUR-CIRCUIT PROTECTION VALVE, CONNECTION "1"
394 N 074305022202 NUT
FOUR-CIRCUIT PROTECTION VALVE, CONNECTION "1"
395 A 0004290227 THRUST RING
FOUR-CIRCUIT PROTECTION VALVE, CONNECTION "1"
396 A 0009870446 SEALING CORD
FOUR-CIRCUIT PROTECTION VALVE, CONNECTION "1"
397 N 007603022102 SEAL RING
FOUR-CIRCUIT PROTECTION VALVE, CONNECTION "1"
398 N 007603016401 SEAL RING
FOUR-CIRCUIT PROTECTIVE VALVE, CONNECTION "2.2"
398 N 007603016401 SEAL RING
FOUR-CIRCUIT PROTECTIVE VALVE, CONNECTION "2.2"
399 A 0029971572 FITTING
FOUR-CIRCUIT PROTECTIVE VALVE, CONNECTION "2.2"
399 A 0029971572 FITTING
FOUR-CIRCUIT PROTECTIVE VALVE, CONNECTION "2.2"
400 N 074317012201 FITTING
Repalced by: A 0009905070
400 A 0009905070 T-FITTING
FOUR-CIRCUIT PROTECTIVE VALVE, CONNECTION "1.2"
400 A 0009905070 T-FITTING
FOUR-CIRCUIT PROTECTIVE VALVE, CONNECTION "1.2"
400 A 0019979272 FITTING
FOUR-CIRCUIT PROTECTIVE VALVE, CONNECTION "1.2"
400 N 003952012101 FITTING
Repalced by: A 0019902771
400 A 0019902771 ELBOW FITTING
FOUR-CIRCUIT PROTECTIVE VALVE, CONNECTION "1.2"
401 N 080705016003 NUT
FOUR-CIRCUIT PROTECTIVE VALVE
402 A 0004290927 THRUST RING
FOUR-CIRCUIT PROTECTIVE VALVE
403 A 0009971548 SEAL RING
FOUR-CIRCUIT PROTECTIVE VALVE
404 A 0009904770 T-FITTING
FOUR-CIRCUIT PROTECTION VALVE, CONNECTION "1.1"
404 A 0009904770 T-FITTING
FOUR-CIRCUIT PROTECTIVE VALVE, CONNECTION "2.3"
404 A 0009904770 T-FITTING
FOUR-CIRCUIT PROTECTIVE VALVE, CONNECTIONS "1.1,1.2,2.3"
404 A 0009904670 T-FITTING
405 A 0005455414 SWITCH
FOUR-CIRCUIT PROTECTIVE VALVE, CONNECTION "2.3"
405 A 0005455414 SWITCH
FOUR-CIRCUIT PROTECTIVE VALVE, CONNECTION "2.3"
406 N 074315012100 FITTING
Repalced by: A 0019903371
406 A 0019903371 ELBOW FITTING
406 A 0019903371 ELBOW FITTING
FOUR-CIRCUIT PROTECTIVE VALVE, CONNECTIONS "2.1,2.2"
406 A 0019903371 ELBOW FITTING
406 A 0004294238 ELBOW FITTING
407 N 080705016003 NUT
FOUR-CIRCUIT PROTECTIVE VALVE,CONNECTIONS "2.2,2.2,2.3"
408 A 0004290927 THRUST RING
FOUR-CIRCUIT PROTECTIVE VALVE,CONNECTIONS "2.2,2.2,2.3"
409 A 0009971548 SEAL RING
FOUR-CIRCUIT PROTECTIVE VALVE,CONNECTIONS "2.2,2.2,2.3"
A 3814310540 BRACKET
410 N 003952006102 FITTING
Repalced by: A 0019909871
410 A 0019909871 ELBOW FITTING
411 N 080705018002 NUT
412 A 0019905268 FITTING
FOUR-CIRCUIT PROTECTIVE VALVE, CONNECTION "2.4"
412 A 0019905268 FITTING
FOUR-CIRCUIT PROTECTIVE VALVE, CONNECTION "2.4"
413 N 007603016401 SEAL RING
FOUR-CIRCUIT PROTECTIVE VALVE, CONNECTION "2.4"
413 N 007603016401 SEAL RING
FOUR-CIRCUIT PROTECTIVE VALVE, CONNECTION "2.4"
414 N 007603012405 SEAL RING
FOUR-CIRCUIT PROTECTIVE VALVE, CONNECTION "2.4"
414 N 007603012405 SEAL RING
FOUR-CIRCUIT PROTECTIVE VALVE, CONNECTION "2.4"
415 N 915039008202 HOLLOW SCREW FITTING
FOUR-CIRCUIT PROTECTIVE VALVE, CONNECTION "2.4"
415 N 915039008202 HOLLOW SCREW FITTING
FOUR-CIRCUIT PROTECTIVE VALVE, CONNECTION "2.4"
T YYYYYYYYYYYY PART NAME MISSING
.
26
416 A 0004290927 THRUST RING
FOUR-CIRCUIT PROTECTIVE VALVE, CONNECTION "2.4"
416 A 0009971548 SEAL RING
FOUR-CIRCUIT PROTECTIVE VALVE, CONNECTION "2.4"
417 A 3854312240 BRACKET
FOUR-CIRCUIT PROTECTIVE VALVE
417 A 3854313440 BRACKET
FOUR-CIRCUIT PROTECTIVE VALVE
417 A 3814312040 BRACKET
FOUR-CIRCUIT PROTECTIVE VALVE
418 N 074305022202 NUT
VALVE TO BRACKET
419 N 000933008153 SCREW
Repalced by: N 304017008034
419 N 304017008034 SCREW
BRACKET TO CROSS MEMBER
419 N 000933008147 SCREW
Repalced by: N 304017008021
419 N 304017008021 SCREW
BRACKET TO BATTERY/APPARATUS SUPPORT
420 N 913004008004 NUT
Repalced by: N 913004008001
420 N 913004008001 NUT
BRACKET TO CROSS MEMBER
420 N 913004008004 NUT
Repalced by: N 913004008001
420 N 913004008001 NUT
BRACKET TO BATTERY/APPARATUS SUPPORT
421 N 000931008129 SCREW
FOUR-CIRCUIT PROTECTIVE VALVE
422 N 000125008418 WASHER
Repalced by: N 000125008443
422 N 000125008443 WASHER
FOUR-CIRCUIT PROTECTIVE VALVE
423 N 913004008004 NUT
Repalced by: N 913004008001
423 N 913004008001 NUT
FOUR-CIRCUIT PROTECTIVE VALVE
425 N 074315012101 FITTING
Repalced by: A 0009907771
425 A 0009907771 ELBOW FITTING
AT AIR RESERVOIR
425 A 0009907771 ELBOW FITTING
AT AIR RESERVOIR
425 A 0009907771 ELBOW FITTING
INSIDE AIR RESERVOIR, REAR CONNECTION
425 A 0009907771 ELBOW FITTING
FOUR-CIRCUIT PROTECTIVE VALVE, CONNECTIONS "2.1,2.2"
426 A 0009970569 F-FITTING
INSIDE AIR RESERVOIR, REAR CONNECTION
427 A 0005455414 SWITCH
INSIDE AIR RESERVOIR, REAR CONNECTION
428 N 074305022202 NUT
INSIDE AIR RESERVOIR, REAR CONNECTION
429 A 0004290227 THRUST RING
INSIDE AIR RESERVOIR, REAR CONNECTION
430 A 0009870446 SEALING CORD
INSIDE AIR RESERVOIR, REAR CONNECTION
431 A 0019902171 ELBOW FITTING
INSIDE AIR RESERVOIR, REAR CONNECTION
431 A 0019902171 ELBOW FITTING
INSIDE AIR RESERVOIR, REAR CONNECTION
432 A 0024295844 VALVE
CHECK VALVE
432 A 0024295844 VALVE
CHECK VALVE
432 A 0024295944 VALVE
CHECK VALVE
432 A 0024295944 VALVE
CHECK VALVE
432 A 0024297544 VALVE
CHECK VALVE
432 A 0024297544 VALVE
CHECK VALVE
434 A 0004322601 RESERVOIR
Repalced by: A 0034321801
434 A 0034321801 RESERVOIR
30 L
434 A 0004325801 RESERVOIR
5L 10L 5L
434 A 0004327801 RESERVOIR
Repalced by: A 0034320901
434 A 0034320901 RESERVOIR
10 L
435 A 0004325301 RESERVOIR
30/10 L.
435 A 0004326101 RESERVOIR
Repalced by: A 0034323001
435 A 0034323001 RESERVOIR
22.5 L
435 A 0004327501 RESERVOIR
Repalced by: A 0014328901
435 A 0014328901 RESERVOIR
5L X 25L
436 A 0029971172 FITTING
437 N 007603022102 SEAL RING
438 A 0009906770 T-FITTING
439 N 003952012101 FITTING
Repalced by: A 0019902771
439 A 0019902771 ELBOW FITTING
440 N 003954012101 FITTING
Repalced by: A 0019900970
440 A 0019900970 T-FITTING
441 A 0019977372 FITTING
442 A 0009907771 ELBOW FITTING
443 A 0009903970 T-FITTING
Repalced by: A 0019901070
443 A 0019901070 T-FITTING
INSIDE AND OUTSIDE AIR RESERVOIRS, FRONT CONNECTION
444 A 0019979572 FITTING
INSIDE AND OUTSIDE AIR RESERVOIRS, FRONT CONNECTION
445 A 0004312031 TEST CONNECTION
INSIDE AND OUTSIDE AIR RESERVOIRS, FRONT CONNECTION
445 A 0004314531 TEST CONNECTION
INSIDE AND OUTSIDE AIR RESERVOIRS, FRONT CONNECTION
445 A 0004314831 TEST CONNECTION
INSIDE AND OUTSIDE AIR RESERVOIRS, FRONT CONNECTION
445 A 0004316131 TEST CONNECTION
INSIDE AND OUTSIDE AIR RESERVOIRS, FRONT CONNECTION
A 0009979486 PLUG
446 N 074305022202 NUT
INSIDE AND OUTSIDE AIR RESERVOIRS, FRONT CONNECTION
447 A 0004290227 THRUST RING
INSIDE AND OUTSIDE AIR RESERVOIRS, FRONT CONNECTION
448 A 0009870446 SEALING CORD
INSIDE AND OUTSIDE AIR RESERVOIRS, FRONT CONNECTION
449 A 0029971172 FITTING
INSIDE AND OUTSIDE AIR RESERVOIRS, FRONT CONNECTION
450 N 007603022102 SEAL RING
INSIDE AND OUTSIDE AIR RESERVOIRS, FRONT CONNECTION
451 A 0004290227 THRUST RING
INSIDE AND OUTSIDE AIR RESERVOIRS, FRONT CONNECTION
452 A 0009870446 SEALING CORD
INSIDE AND OUTSIDE AIR RESERVOIRS, FRONT CONNECTION
A 0014296144 VALVE
Repalced by: A 0024297244
A 0004290545 DIAPHRAGM
A 0015862042 REPAIR KIT
TO 002 429 72 44,002 429 42 44
A 0014294144 VALVE
Repalced by: A 0024297244
A 0024297244 VALVE
(OVERFLOW VALVE)
WABCO
A 0024294244 VALVE
Repalced by: A 0034290944
A 0034290944 VALVE
Repalced by: A 0044293144
A 0044293144 VALVE
(OVERFLOW VALVE)
WABCO
A 0024296544 VALVE
Repalced by: A 0034290844
A 0034290844 VALVE
Repalced by: A 0044293244
A 0044293244 VALVE
(OVERFLOW VALVE)
GRAU
A 0024298844 VALVE
TO 003 429 08 44,GRAU
A 0004290745 DIAPHRAGM
TO 003 429 08 44,GRAU
A 0005865842 REPAIR KIT
TO 003 429 09 44,WABCO
454 N 074305022202 NUT
455 A 0004290227 THRUST RING
456 A 0009870446 SEALING CORD
460 A 0004322407 VALVE
AIR RESERVOIR
A 0005830296 RING
DRAIN VALVE
TO 000 432 08 07
461 N 007603022102 SEAL RING
AIR RESERVOIR,BOTTOM CONNECTION
461 A 0004290227 THRUST RING
AIR RESERVOIR,BOTTOM CONNECTION
462 A 0009870446 SEALING CORD
AIR RESERVOIR,BOTTOM CONNECTION
463 N 000908022001 SCREW PLUG
Repalced by: N 000908022011
463 N 000908022011 SCREW PLUG
463 N 000908022011 SCREW PLUG
OUTSIDE AIR RESERVOIR,REAR CONNECTION
464 N 007603022102 SEAL RING
OUTSIDE AIR RESERVOIR,REAR CONNECTION
464 A 0004290227 THRUST RING
OUTSIDE AIR RESERVOIR,REAR CONNECTION
465 A 0009870446 SEALING CORD
OUTSIDE AIR RESERVOIR,REAR CONNECTION
466 A 3854300140 STRAP
466 A 3524300040 STRAP
Repalced by: A 3354300340
466 A 3354300340 STRAP
466 A 3354300340 STRAP
467 A 3854320218 BASE
467 A 3354320418 BASE
467 A 3354320418 BASE
468 N 000934010014 NUT
468 N 000934010014 NUT
A 3814320015 CONSOLE
RESERVOIR, LEFT
A 3814320017 ANGLE
A 3814320040 BRACKET
RESERVOIR, RIGHT
A 3814320140 BRACKET
RESERVOIR, RIGHT
A 3814320019 BASE
N 000933008152 SCREW
Repalced by: N 304017008027
N 304017008027 SCREW
N 000933010129 SCREW
Repalced by: N 304017010002
N 304017010002 SCREW
N 913004008004 NUT
Repalced by: N 913004008001
N 913004008001 NUT
N 913004010008 NUT
Repalced by: N 910113010000
N 910113010000 NUT
470 A 3854200168 SUPPORT
Repalced by: A 3854260240
470 A 3854260240 BRACKET
471 A 3854200042 BRAKE LEVER
472 A 0009815610 NEEDLE BEARING
Repalced by: A 0119813410
472 A 0089811110 NEEDLE BEARING
Repalced by: A 0119813410
472 A 0119813410 NEEDLE BEARING
473 A 0089978046 SEAL RING
Repalced by: A 0069979147
473 A 0069979147 SEAL RING
474 A 3802940507 PIVOT PIN
474 A 3854310853 SPACER TUBE
475 A 3859930010 SPRING
476 N 000471020001 LOCK RING
477 N 000433021002 WASHER
478 N 000931010379 SCREW
479 N 913004010008 NUT
Repalced by: N 910113010000
479 N 910113010000 NUT
480 A 3854260165 PROTECTIVE PLATE
TOP
481 A 3854260065 PROTECTIVE PLATE
BOTTOM
482 N 304017010025 SCREW
Repalced by: N 304017010051
482 N 304017010051 SCREW
483 N 000934010014 NUT
A 3819910407 PIN
N 912007010000 CLIP
484 A 3804310092 ROD
485 N 001434010078 PIN
486 N 000433010505 WASHER
Repalced by: N 000433010510
486 N 000433010510 WASHER
487 N 000094003219 COTTER PIN
488 N 000933010105 SCREW
488 N 000933010128 SCREW
489 N 913004010008 NUT
Repalced by: N 910113010000
489 N 910113010000 NUT
490 A 0004316614 BRAKE CYLINDER
490 A 0004319614 BRAKE CYLINDER
Repalced by: A 0014317114
490 A 0014317114 BRAKE CYLINDER
BOSCH
491 A 0004319414 BRAKE CYLINDER
Repalced by: A 0014317314
491 A 0014310514 BRAKE CYLINDER
Repalced by: A 0014317314
491 A 0024300830 BRAKE BOOSTER ASSEMBLY
Repalced by: A 0014317314
491 A 0014313914 BRAKE CYLINDER
Repalced by: A 0014317314
491 A 0014317314 BRAKE CYLINDER
BOSCH-SCHAEFER
491 A 0014317314 BRAKE CYLINDER
BOSCH-SCHAEFER
492 A 0004317283 PISTON
TO 000 431 94 14,000 431 96 14
493 A 0049970248 SEAL RING
TO 000 431 94 14,000 431 96 14
494 N 000472030000 LOCK RING
TO 000 431 94 14,000 431 96 14
495 A 0019979340 SEAL RING
Repalced by: A 0019975945
495 A 0019975945 SEAL RING
TO 000 431 94 14,000 431 96 14
496 A 0039979248 SEAL RING
TO 000 431 94 14,000 431 96 14,
Y YYYYYYYYYYYY PART NAME MISSING
001 431 71 14,001 431 73 14
497 A 0004318986 CUP
TO 000 431 94 16,001 431 96 14
498 N 000472036000 LOCK RING
TO 000 431 94 14,000 431 96 14,
Y YYYYYYYYYYYY PART NAME MISSING
001 431 71 14,001 431 73 14
499 N 000472017000 LOCK RING
TO 001 431 71 14,001 431 73 14
500 A 0004317183 PISTON
TO 000 431 94 14,000 431 96 14,
Y YYYYYYYYYYYY PART NAME MISSING
001 431 71 14,001 431 73 14
501 A 0069975645 SEAL RING
TO 000 431 94 14,000 431 96 14
502 A 0039979348 SEAL RING
TO 000 431 94 14,000 431 96 14
503 N 000933008152 SCREW
Repalced by: N 304017008027
503 N 304017008027 SCREW
M 8X30,TO 000 431 94 14,96 14,
Y YYYYYYYYYYYY PART NAME MISSING
001 431 71 14,001 431 73 14
504 N 912004008102 LOCK WASHER
TO 000 431 94 14,000 431 96 14
505 A 0014310660 SEAL RING
TO 000 431 94 14,000 431 96 14
506 A 0004317383 PISTON
TO 000 431 94 14,000 431 96 14
507 A 0039979448 SEAL RING
TO 000 431 94 14,000 431 96 14
507 N 007603010103 SEAL RING
Repalced by: N 007603010110
507 N 007603010110 SEAL RING
TO 001 431 71 14,001 431 73 14
N 000934006007 NUT
TO 000 431 94 14,000 431 96 14
N 000963006014 SCREW
TO 000 431 94 14,000 431 96 14
508 A 0004311249 GUIDE BUSHING
TO 000 431 94 14,000 431 96 14
509 N 007993016100 SNAP RING
TO 000 431 94 14,000 431 96 14
510 N 000933010094 SCREW
M 10X40,TO 001 431 71 14,73 14
510 N 000933010145 SCREW
TO 000 431 94 14,000 431 96 14
511 A 0009902047 LOCK WASHER
Repalced by: N 000127010202
511 N 912004010102 LOCK WASHER
TO 000 431 94 14,000 431 96 14
N 007993006100 SNAP RING
TO 000 431 94 14,000 431 96 14
N 001476003007 GROOVED NAIL
TO 000 431 94 14,000 431 96 14
A 0039974347 SEAL RING
N 000471022000 LOCK RING
TO 000 431 94 14,000 431 96 14,
Y YYYYYYYYYYYY PART NAME MISSING
001 431 71 14,001 431 73 14
512 A 0004318886 CUP
TO 000 431 94 14,000 431 96 14
512 A 0004315586 CUP
TO 000 431 66 14
513 A 0004311322 COVER
TO 001 431 73 14,001 431 71 14
A 0009882735 CAP
TO 001 431 71 14
A 0044205518 WHEEL BRAKE CYLINDER
Repalced by: A 0074202018
A 0074202018 WHEEL BRAKE CYLINDER
Repalced by: A 0044206818
514 A 0044206818 WHEEL BRAKE CYLINDER
SLAVE CYLINDER
SCHAEFER
514 A 0044206818 WHEEL BRAKE CYLINDER
SLAVE CYLINDER
TO 001 431 73 14
514 A 0044206818 WHEEL BRAKE CYLINDER
SLAVE CYLINDER
SCHAEFER
515 A 0004204155 BLEEDER VALVE
Repalced by: A 0004310265
515 A 0004310265 VALVE
Repalced by: A 3075530107
515 A 3075530107 VALVE
TO 004 420 55 18,004 420 68 18
A 0004202155 BLEEDER VALVE
Repalced by: A 0004310265
516 A 3164210187 PROTECTIVE CAP
Repalced by: A 0004210887
516 A 0004210887 PROTECTIVE CAP
Repalced by: A 0004217187
516 A 0004217187 PROTECTIVE CAP
Repalced by: A 0004210887
516 A 0004210887 PROTECTIVE CAP
TO 004 420 55 18,004 420 68 18
518 A 0025865543 REPAIR KIT
COMPRESSED AIR CYLINDER
TO 000 431 66 14,000 431 05 14
518 A 0025860743 REPAIR KIT
Repalced by: A 0004302108
518 A 0004302108 REPAIR KIT
COMPRESSED AIR CYLINDER
518 A 0004302108 REPAIR KIT
COMPRESSED AIR CYLINDER
TO 001 431 71 14
519 A 0025865643 REPAIR KIT
Repalced by: A 0025865543
519 A 0005864829 REPAIR KIT
SLAVE CYLINDER
TO 004 420 55 18
519 A 0025862442 REPAIR KIT
SLAVE CYLINDER
TO 007 420 20 18
519 A 0025860942 REPAIR KIT
SLAVE CYLINDER
TO 004 420 68 18
519 A 0025865542 REPAIR KIT
SLAVE CYLINDER
TO 004 420 68 18
520 A 0089979082 HOSE
BLEEDING
521 N 912004010102 LOCK WASHER
BRAKE BOOSTER ASSEMBLY TO APPARATUS SUPPORT
522 N 000933010129 SCREW
Repalced by: N 304017010002
522 N 304017010002 SCREW
BRAKE BOOSTER ASSEMBLY TO APPARATUS SUPPORT
523 N 000931010331 SCREW
BRAKE BOOSTER ASSEMBLY TO APPARATUS SUPPORT
523 N 000933010094 SCREW
BRAKE BOOSTER ASSEMBLY TO APPARATUS SUPPORT
523 N 000931010264 SCREW
523 N 000931010282 SCREW
A 3814310340 BRACKET
525 N 074315012100 FITTING
Repalced by: A 0019903371
525 A 0019903371 ELBOW FITTING
CONNECTIONS "1.1,1.2"
525 A 0019903371 ELBOW FITTING
CONNECTIONS "1.1,1.2"
530 N 080705016003 NUT
CONNECTIONS "1.1,1.2"
530 N 080705016003 NUT
CONNECTIONS "1.1,1.2"
532 A 0004290927 THRUST RING
CONNECTIONS "1.1,1.2"
532 A 0004290927 THRUST RING
CONNECTIONS "1.1,1.2"
N 007603016401 SEAL RING
CONNECTIONS "1.1,1.2"
N 915011010101 HOLLOW SCREW
Repalced by: N 915036012101
N 915036012203 HOLLOW SCREW
CONNECTIONS "1.1,1.2"
534 A 0009971548 SEAL RING
AT TRISTOP CYLINDER AND TRAILING AXLE
534 A 0009971548 SEAL RING
AT TRISTOP CYLINDER AND TRAILING AXLE
535 N 007603016401 SEAL RING
BRAKE CYLINDER,CONNECTIONS "2.1,2.2"
536 A 0004290927 THRUST RING
BRAKE CYLINDER,CONNECTIONS "2.1,2.2"
537 A 0009971548 SEAL RING
BRAKE CYLINDER,CONNECTIONS "2.1,2.2"
538 N 000908016001 SCREW PLUG
BRAKE CYLINDER,CONNECTIONS "2.1,2.2"
542 A 0005455214 SWITCH
BRAKE CYLINDER STROKE INDICATOR
M 24 X 1 MM
544 N 007603010103 SEAL RING
Repalced by: N 007603010110
544 N 007603010110 SEAL RING
BRAKE CYLINDER STROKE INDICATOR
550 A 0034300801 BRAKE MASTER CYLINDER
558 A 0015868843 REPAIR KIT
Repalced by: A 0014300160
558 A 0014300160 REPAIR KIT
A 0024306901 BRAKE MASTER CYLINDER
SCHAEFER
A 0034303101 BRAKE MASTER CYLINDER
TEVES
A 0034307501 BRAKE MASTER CYLINDER
568 N 007603022102 SEAL RING
568 N 007603022102 SEAL RING
570 A 0004318702 RESERVOIR
570 A 0004318702 RESERVOIR
572 A 0004312833 FILLER CAP
Repalced by: A 0004315533
572 A 0004315533 FILLER CAP
TO 000 431 87 02
572 A 0004315533 FILLER CAP
TO 000 431 87 02
573 A 0014310287 PROTECTIVE CAP
TO 000 431 02 87
574 A 0039976440 SEAL RING
TO 000 431 87 02
574 A 0039976440 SEAL RING
TO 000 431 87 02
576 A 0004312634 STRAINER
TO 000 431 87 02
576 A 0004312634 STRAINER
TO 000 431 87 02
A 0004319702 RESERVOIR
Repalced by: A 0004318702
A 0004313333 FILLER CAP
TO 000 431 97 02
A 0004313333 FILLER CAP
TO 000 431 97 02
577 A 0004315802 RESERVOIR
WITH WARNING DEVICE
578 A 0004312133 FILLER CAP
Repalced by: A 0004313733
578 A 0004313433 FILLER CAP
Repalced by: A 0004313733
578 A 0004313733 FILLER CAP
Repalced by: A 0004316533
578 A 0004316533 FILLER CAP
Repalced by: A 0004317633
578 A 0004317633 FILLER CAP
TO 000 431 58 02
579 A 0009972940 SEAL RING
43.7X30 MM
580 A 0039976440 SEAL RING
42X21.5 MM
A 0009972490 LOOM TIE
Repalced by: A 0009974390
A 0009974390 LOOM TIE
581 A 0004312134 STRAINER
Repalced by: A 0004313134
581 A 0004313134 STRAINER
TO 000 431 58 02
A 0004311040 CLAMP
TO 000 431 58 02
N 000933006102 SCREW
N 000125006421 WASHER
N 913004006002 NUT
Repalced by: N 913004006001
N 913004006001 NUT
A 3814311340 BRACKET
582 A 3814310640 BRACKET
583 N 000933010105 SCREW
584 N 000125010518 WASHER
Repalced by: N 000125010532
584 N 000125010532 WASHER
585 N 913004010008 NUT
Repalced by: N 910113010000
585 N 910113010000 NUT
586 N 912004008102 LOCK WASHER
587 N 000933008212 SCREW
Repalced by: N 304017008016
587 N 304017008016 SCREW
588 N 912004010102 LOCK WASHER
MASTER CYLINDER TO BRAKE BOOSTER
589 N 000933010129 SCREW
Repalced by: N 304017010002
589 N 304017010002 SCREW
MASTER CYLINDER TO BRAKE BOOSTER
589 N 000931010258 SCREW
MASTER CYLINDER TO BRAKE BOOSTER
590 A 3854300110 BRACKET
BRAKE MASTER CYLINDER
591 N 912004010102 LOCK WASHER
BRACKET TO APPARATUS SUPPORT
592 N 000933010128 SCREW
BRACKET TO APPARATUS SUPPORT
593 N 304014008004 SCREW
Repalced by: N 304014008001
593 N 304014008001 SCREW
MASTER CYLINDER TO BRACKET
594 N 000125008414 WASHER
MASTER CYLINDER TO BRACKET
595 N 913004008004 NUT
Repalced by: N 913004008001
595 N 913004008001 NUT
MASTER CYLINDER TO BRACKET
596 A 0004280830 CONNECTOR
CONNECTION "2.1"
596 A 0004280830 CONNECTOR
CONNECTION "2.1"
596 A 0004280830 CONNECTOR
CONNECTION "2.1"
597 N 007603014405 SEAL RING
CONNECTION "2.1"
597 N 007603014405 SEAL RING
CONNECTION "2.1"
597 N 007603014405 SEAL RING
CONNECTION "2.1"
598 A 0004280026 HOLLOW SCREW
CONNECTION "2.1"
598 A 0004280026 HOLLOW SCREW
CONNECTION "2.1"
598 A 0009901763 HOLLOW SCREW
598 A 0004280126 HOLLOW SCREW
598 A 0004280126 HOLLOW SCREW
599 N 007603012110 SEAL RING
599 N 007603022102 SEAL RING
599 N 007603022102 SEAL RING
600 A 0014292044 VALVE
Repalced by: A 0034291644
600 A 0034291644 VALVE
RELAY VALVE
BOSCH
600 A 0014296844 VALVE
RELAY VALVE
WABCO
600 A 0024290744 VALVE
Repalced by: A 0034295344
600 A 0034295344 VALVE
RELAY VALVE
KNORR
600 A 0014299144 VALVE
RELAY VALVE
GRAU
601 A 0059972648 SEAL RING
22.3X2.4 MM,TO 001 429 91 44,GRAU
602 A 0004312788 VALVE SEAT
TO 001 429 91 44,GRAU
603 A 0059972748 SEAL RING
80X3 MM,TO 000 429 28 95, GRAU
604 A 0014311660 SEAL RING
28X2 MM,TO 001 429 91 44,GRAU
605 A 0014311760 SEAL RING
86X2 MM,TO 001 429 91 44,GRAU
606 A 0014311980 GASKET
Repalced by: A 0004311980
606 A 0004311980 GASKET
34X2X6 MM,TO 001 429 91 44,GRAU
607 A 0004301109 REPAIR KIT
BLEEDER VALVE
TO 003 429 16 44,BOSCH
607 A 0015862742 REPAIR KIT
TO 001 429 20 44,BOSCH
607 A 0005865742 REPAIR KIT
TO 001 429 68 44,WABCO
607 A 0025863542 REPAIR KIT
TO 002 429 07 44,003 429 53 44,KNORR
607 A 0025865742 REPAIR KIT
608 A 0025865642 REPAIR KIT
Repalced by: A 0004201071
608 A 0004201071 VALVE
GASKET KIT
TO 003 429 16 44,BOSCH; UP TO 03.82
608 A 0004201271 VALVE
GASKET KIT
TO 003 429 16 44,BOSCH; FROM 04.82
609 A 3554320140 BRACKET
RELAY VALVE
610 N 000125008418 WASHER
Repalced by: N 000125008443
610 N 000125008443 WASHER
RELAY VALVE TO BRACKET
611 N 913004008004 NUT
Repalced by: N 913004008001
611 N 913004008001 NUT
RELAY VALVE TO BRACKET
612 N 000933010128 SCREW
BRACKET TO CROSS MEMBER
613 N 913004010008 NUT
Repalced by: N 910113010000
613 N 910113010000 NUT
A 0009904670 T-FITTING
N 074305022202 NUT
A 0004290227 THRUST RING
A 0009870446 SEALING CORD
A 0009907771 ELBOW FITTING
A 0009970169 F-FITTING
Repalced by: A 0019979172
A 0019979172 FITTING
614 A 0009905168 FITTING
RELAY VALVE,CONNECTION "1"
615 N 007603022102 SEAL RING
RELAY VALVE,CONNECTION "1"
616 A 0004290227 THRUST RING
RELAY VALVE,CONNECTION "1"
617 A 0009870446 SEALING CORD
RELAY VALVE,CONNECTION "1"
618 N 915011010101 HOLLOW SCREW
Repalced by: N 915036012101
618 N 915036012203 HOLLOW SCREW
RELAY VALVE,CONNECTION "1"
619 N 007603016401 SEAL RING
RELAY VALVE,CONNECTION "1"
N 003952012101 FITTING
Repalced by: A 0019902771
A 0019902771 ELBOW FITTING
620 A 0009904770 T-FITTING
RELAY VALVE,CONNECTION "2",RIGHT
621 N 080705016003 NUT
RELAY VALVE,CONNECTION "2",RIGHT
622 A 0004290927 THRUST RING
RELAY VALVE,CONNECTION "2",RIGHT
623 A 0029971640 SEAL RING
Repalced by: A 0009971548
623 A 0009971548 SEAL RING
RELAY VALVE,CONNECTION "2",RIGHT
624 A 0005455414 SWITCH
RELAY VALVE,CONNECTION "2",RIGHT
635 N 074315012100 FITTING
Repalced by: A 0019903371
635 A 0019903371 ELBOW FITTING
RELAY VALVE,CONNECTION "2",LEFT
638 N 080705016003 NUT
RELAY VALVE,CONNECTION "2",LEFT
642 A 0004290927 THRUST RING
RELAY VALVE,CONNECTION "2",LEFT
646 A 0029971640 SEAL RING
Repalced by: A 0009971548
646 A 0009971548 SEAL RING
RELAY VALVE,CONNECTION "2",LEFT
A 0004294238 ELBOW FITTING
670 N 915011010101 HOLLOW SCREW
Repalced by: N 915036012101
670 N 915036012203 HOLLOW SCREW
RELAY VALVE,CONNECTION "4"
675 N 007603016401 SEAL RING
RELAY VALVE,CONNECTION "4"
720 A 0004305581 VALVE
HAND BRAKE VALVE
720 A 0004305681 VALVE
HAND BRAKE VALVE
WABCO
720 A 0004306681 VALVE
HAND BRAKE VALVE
KNORR
720 A 0004306781 VALVE
HAND BRAKE VALVE
KNORR
725 A 0025866243 REPAIR KIT
Repalced by: A 0034303881
725 A 0034303881 REPAIR KIT
TO 000 430 66 81,000 431 67 81,KNORR
725 A 0005868043 REPAIR KIT
Repalced by: A 0004305760
725 A 0004305760 REPAIR KIT
TO 000 430 55 81,WABCO
725 A 0005868143 REPAIR KIT
Repalced by: A 0004305860
725 A 0004305860 REPAIR KIT
TO 000 430 56 81,WABCO
729 N 000965006003 SCREW
729 N 000965006000 SCREW
A 0009907191 NUT RETAINER
Repalced by: A 3229900091
A 3229900091 NUT RETAINER
731 A 3874310684 SHIM
732 N 915036010204 HOLLOW SCREW
Repalced by: N 915036010108
732 N 915036010108 HOLLOW SCREW
734 N 007603014405 SEAL RING
740 A 0004318614 BRAKE CYLINDER
Repalced by: A 0004312414
740 A 0004312414 BRAKE CYLINDER
PARKING BRAKE
BOSCH
740 A 0004312414 BRAKE CYLINDER
PARKING BRAKE
BOSCH
740 A 0004317614 BRAKE CYLINDER
PARKING BRAKE
KNORR
740 A 0004317614 BRAKE CYLINDER
PARKING BRAKE
KNORR
740 A 0004312114 BRAKE CYLINDER
PARKING BRAKE
BOSCH
740 A 0004317714 BRAKE CYLINDER
PARKING BRAKE
KNORR
740 A 0014311314 BRAKE CYLINDER
PARKING BRAKE
WABCO
A 0014310860 SEAL RING
TO 000 431 86 14,BOSCH
A 0014310860 SEAL RING
TO 000 431 86 14,BOSCH
A 0004317986 CUP
Repalced by: A 0004319286
744 A 0004319286 CUP
TO 000 431 24 14,BOSCH
744 A 0004319286 CUP
TO 000 431 24 14,BOSCH
744 A 0014310886 CUP
744 A 0014311186 CUP
TO 000 431 24 14,BOSCH
744 A 0014311186 CUP
TO 000 431 24 14,BOSCH
744 A 0014310786 CUP
744 A 0004312786 CUP
TO 000 431 21 14,BOSCH
A 0004319186 CUP
Repalced by: A 0004312786
745 A 0004317583 PISTON
TO 000 431 86 14,BOSCH
745 A 0004317583 PISTON
TO 000 431 86 14,BOSCH
745 A 0004318583 PISTON
TO 000 431 21 14,BOSCH
746 A 0014310760 SEAL RING
TO 000 431 86 14,BOSCH
746 A 0014310760 SEAL RING
TO 000 431 86 14,BOSCH
A 0004310649 SLIDE
TO 000 431 24 14,000 431 21 14,BOSCH
746 A 0089977948 SEAL RING
TO 000 431 24 14,BOSCH
746 A 0089977948 SEAL RING
TO 000 431 24 14,BOSCH
746 A 0089977548 SEAL RING
TO 000 431 21 14,BOSCH
746 A 0049971740 SEAL RING
TO 000 431 21 14,BOSCH
746 A 0049971740 SEAL RING
TO 000 431 24 14,BOSCH
746 A 0049971740 SEAL RING
TO 000 431 21 14,BOSCH
A 0049971148 SEAL RING
TO 000 431 86 14,BOSCH
A 0049971148 SEAL RING
TO 000 431 86 14,BOSCH
A 0004313034 STRAINER
TO 000 431 86 14,BOSCH
A 0004313034 STRAINER
TO 000 431 86 14,BOSCH
A 0004318186 CUP
Repalced by: A 0015864342
A 0004310736 FILTER BOTTOM
TO 000 431 21 14,000 431 24 14,BOSCH
A 0004319086 CUP
Repalced by: A 0004318587
A 0004318587 PROTECTIVE CAP
TO 000 431 86 14,001 431 13 14
753 A 0004319686 CUP
TO 000 431 77 14,KNORR
755 A 0004311880 GASKET
TO 000 431 77 14,KNORR
757 A 0059971148 SEAL RING
TO 000 431 77 14,KNORR
759 A 0014311160 SEAL RING
TO 000 431 77 14,KNORR
760 A 0004319586 CUP
TO 000 431 76 14,77 14,KNORR
762 A 0025861443 REPAIR KIT
TO 001 431 13 14,WABCO
762 A 0015864342 REPAIR KIT
Repalced by: A 0034201724
762 A 0034201724 REPAIR KIT
TO 000 431 24 14,BOSCH
762 A 0034201724 REPAIR KIT
TO 000 431 24 14,BOSCH
762 A 0014301660 REPAIR KIT
TO 000 431 76 14,KNORR
762 A 0014301660 REPAIR KIT
TO 000 431 76 14,KNORR
764 N 074315012100 FITTING
Repalced by: A 0019903371
764 A 0019903371 ELBOW FITTING
766 A 0009904770 T-FITTING
768 A 0004312031 TEST CONNECTION
VOSS
768 A 0004314531 TEST CONNECTION
SCHAEFER
768 A 0004314831 TEST CONNECTION
WABCO
768 A 0004316131 TEST CONNECTION
WIRA
A 0009979486 PLUG
769 N 080705016003 NUT
770 A 0004290927 THRUST RING
771 A 0029971640 SEAL RING
Repalced by: A 0009971548
771 A 0009971548 SEAL RING
780 A 3604302311 CONSOLE
782 N 000933010105 SCREW
783 N 913004010008 NUT
Repalced by: N 910113010000
783 N 910113010000 NUT
786 N 000933010129 SCREW
Repalced by: N 304017010002
786 N 304017010002 SCREW
787 A 3859900140 WASHER
Repalced by: A 3859900540
787 A 3859900540 WASHER
788 N 000125010518 WASHER
Repalced by: N 000125010532
788 N 000125010532 WASHER
789 N 913004010008 NUT
Repalced by: N 910113010000
789 N 910113010000 NUT
800 A 3854200080 BRAKE INTERMEDIATE SHAFT
805 A 3274270058 SEAL HOLDER
807 A 3279970040 SEAL RING
810 A 3854200178 BEARING BRACKET
A 3024260083 SPHERICAL PIECE
Repalced by: A 3025860242
817 N 000470052000 EXPANSION PLUG
819 A 3025860242 REPAIR KIT
Repalced by: A 3534200067
819 A 3534200067 REPAIR KIT
Repalced by: A 3534200167
819 A 3534200167 BALL CUP
BRAKE INTERMEDIATE SHAFT BEARING
821 N 000933010145 SCREW
822 N 913004010008 NUT
Repalced by: N 910113010000
822 N 910113010000 NUT
825 A 3604200474 ROD
830 N 001480012200 TURNBUCKLE
Repalced by: A 3859960034
830 A 3859960034 NUT
835 N 000934012020 NUT
Repalced by: N 000934012020
835 N 000934012020 NUT
840 N 000934012021 NUT
850 A 3604200774 ROD
855 A 3529910207 PIN
860 N 000094003210 COTTER PIN
865 N 000433013005 WASHER
Repalced by: N 000433013010
865 N 000433013010 WASHER
870 N 900055012001 SPRING WASHER
875 A 3529910107 PIN
880 N 000433013005 WASHER
Repalced by: N 000433013010
880 N 000433013010 WASHER
885 N 000094003210 COTTER PIN