| 005 |
A 3835010201 |
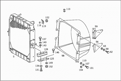
RADIATOR |
| 005 |
A 3815010601 |
RADIATOR |
| 005 |
A 0005001403 |
RADIATOR |
| 005 |
A 3815010301 |
RADIATOR |
| 005 |
A 3815010901 |
RADIATOR |
| 005 |
A 0005001503 |
RADIATOR |
|
A 3815000149 |
TANK |
|
Repalced by: A 3815000849
|
|
A 3815000249 |
TANK |
|
Repalced by: A 3815001649
|
| 008 |
A 3815001649 |
TANK |
|
|
BEHIND CAB |
|
A 3815000649 |
TANK |
|
Repalced by: A 3815000749
|
| 008 |
A 3815000749 |
TANK |
|
A 3875000149 |
TANK |
|
Repalced by: A 3815001349
|
| 011 |
A 3815001349 |
TANK |
|
|
IN ENGINE TUNNEL |
|
A 0005013115 |
RADIATOR CAP |
|
Repalced by: A 0005014215
|
|
A 0005013215 |
RADIATOR CAP |
|
Repalced by: A 0005014215
|
| 014 |
A 0005014215 |
RADIATOR CAP |
| 017 |
A 0005014515 |
RADIATOR CAP |
| 020 |
A 0005014615 |
RADIATOR CAP |
| 020 |
A 0005017215 |
RADIATOR CAP |
| 023 |
A 0005010480 |
GASKET |
|
|
O.D., |
|
|
52 MM, TO 000 501 42 15,000 501 46 15 |
| 026 |
A 0005010880 |
GASKET |
|
|
O.D., |
|
|
37 MM |
| 029 |
A 0045426317 |
SENDER UNIT |
|
Repalced by: A 0095426417
|
| 029 |
A 0095426417 |
SENDER UNIT |
|
|
EXPANSION TANK |
| 032 |
N 007603014104 |
SEAL RING |
| 035 |
A 3875000527 |
SUPPORT |
|
|
EXPANSION TANK |
| 038 |
A 3875000531 |
BRACKET |
|
|
SUPPORT TO CAB SUSPENSION CONNECTING RAIL |
| 041 |
N 913004010008 |
NUT |
|
Repalced by: N 910113010000
|
| 041 |
N 910113010000 |
NUT |
|
|
SUPPORT TO CAB SUSPENSION CONNECTING RAIL |
| 044 |
A 3815010520 |
BRACKET |
|
Repalced by: A 6155010020
|
| 044 |
A 6155010020 |
BRACKET |
|
|
EXPANSION TANK |
| 044 |
A 3815000731 |
BRACKET |
|
|
EXPANSION TANK |
| 047 |
N 000933010129 |
SCREW |
|
Repalced by: N 304017010002
|
| 047 |
N 304017010002 |
SCREW |
|
|
BRACKET TO RIGHT FENDER |
| 047 |
N 000933010164 |
SCREW |
|
|
BRACKET TO RIGHT FENDER |
| 050 |
N 006902011101 |
WASHER |
|
|
BRACKET TO RIGHT FENDER |
| 053 |
N 913004010008 |
NUT |
|
Repalced by: N 910113010000
|
| 053 |
N 910113010000 |
NUT |
|
|
BRACKET TO RIGHT FENDER |
| 056 |
A 4010100240 |
BRACKET |
|
|
OIL DIPSTICK TO RADIATOR |
| 059 |
A 4010100440 |
BRACKET |
|
|
OIL DIPSTICK TO RADIATOR |
| 062 |
N 000933008145 |
SCREW |
|
|
OIL-DIPSTICK GUIDE TUBE TO BRACKET |
| 065 |
N 007349008003 |
WASHER |
|
|
OIL-DIPSTICK GUIDE TUBE TO BRACKET |
| 068 |
N 912004008102 |
LOCK WASHER |
|
|
OIL-DIPSTICK GUIDE TUBE TO BRACKET |
|
A 3815000131 |
BRACKET |
|
Repalced by: A 3815012720
|
| 071 |
A 3815012720 |
BRACKET |
|
|
(STRAP) |
| 071 |
A 3815012520 |
BRACKET |
|
|
(STRAP) |
| 074 |
A 3875000431 |
BRACKET |
|
|
(STRAP) |
| 077 |
N 913004008004 |
NUT |
|
Repalced by: N 913004008001
|
| 077 |
N 913004008001 |
NUT |
|
|
BRACKET TO SUPPORT |
|
A 4404750020 |
PAD |
|
Repalced by: A 3634750220
|
| 080 |
A 3634750220 |
PAD |
|
|
EXPANSION TANK TO BRACKET |
| 083 |
A 3604750020 |
PAD |
|
|
EXPANSION TANK TO SUPPORT |
|
A 3815010095 |
SHIM |
|
Repalced by: A 3815010295
|
|
A 3815010295 |
SHIM |
|
Repalced by: A 3815010495
|
| 086 |
A 3815010495 |
SHIM |
|
|
EXPANSION TANK TO BRACKET |
| 089 |
N 000933010105 |
SCREW |
|
|
EXPANSION TANK TO BRACKET |
| 092 |
N 000125010518 |
WASHER |
|
Repalced by: N 000125010532
|
| 092 |
N 000125010532 |
WASHER |
|
|
EXPANSION TANK TO BRACKET |
| 095 |
N 913004010008 |
NUT |
|
Repalced by: N 910113010000
|
| 095 |
N 910113010000 |
NUT |
|
|
EXPANSION TANK TO BRACKET |
|
A 3835000055 |
FAN SHROUD |
|
Repalced by: A 3835050355
|
| 098 |
A 3835050355 |
FAN SHROUD |
| 101 |
N 000933006103 |
SCREW |
|
Repalced by: N 304017006018
|
| 101 |
N 304017006018 |
SCREW |
|
|
FAN SHROUD TO RADIATOR |
| 101 |
N 000933006121 |
SCREW |
|
Repalced by: N 304017006020
|
| 101 |
N 304017006020 |
SCREW |
|
|
FAN SHROUD TO RADIATOR |
| 101 |
N 000933006102 |
SCREW |
|
|
FAN SHROUD TO RADIATOR |
| 101 |
N 000933006130 |
SCREW |
|
|
FAN SHROUD TO RADIATOR |
| 104 |
N 912004006102 |
LOCK WASHER |
|
|
FAN SHROUD TO RADIATOR |
| 107 |
N 000137006204 |
SPRING WASHER |
|
|
FAN SHROUD TO RADIATOR |
| 110 |
N 009021006205 |
WASHER |
|
Repalced by: N 009021006208
|
| 110 |
N 009021006208 |
WASHER |
|
|
FAN SHROUD TO RADIATOR |
| 110 |
N 009021006208 |
WASHER |
|
|
FAN SHROUD TO RADIATOR |
| 110 |
N 000125006421 |
WASHER |
| 110 |
A 3859901140 |
WASHER |
|
|
FAN SHROUD TO RADIATOR |
| 113 |
A 1235040246 |
CLAMP |
|
|
FAN SHROUD TO RADIATOR |
|
A 3815040051 |
SPACER RING |
|
Repalced by: A 3469910040
|
| 116 |
A 3469910040 |
SPACER TUBE |
|
|
FAN SHROUD TO RADIATOR |
| 119 |
A 3815040031 |
SUPPORTING PLATE |
|
|
FAN SHROUD TO RADIATOR |
| 122 |
N 913004006002 |
NUT |
|
Repalced by: N 913004006001
|
| 122 |
N 913004006001 |
NUT |
|
|
FAN SHROUD TO RADIATOR |
|
A 3875040601 |
SUPPORT |
|
|
LEFT |
| 125 |
A 3875040801 |
SUPPORT |
|
|
LEFT |
|
A 3875040701 |
SUPPORT |
|
|
RIGHT |
| 125 |
A 3875040901 |
SUPPORT |
|
|
RIGHT |
| 125 |
A 3875041101 |
SUPPORT |
|
|
RIGHT |
| 125 |
A 3875041101 |
SUPPORT |
|
|
RIGHT |
| 128 |
A 3875040012 |
RUBBER MOUNTING |
|
|
RADIATOR TO SUPPORT |
| 128 |
A 3875040112 |
RUBBER MOUNTING |
|
|
RADIATOR TO SUPPORT |
| 131 |
N 000933010238 |
SCREW |
|
Repalced by: N 304017010028
|
| 131 |
N 304017010028 |
SCREW |
|
|
BUFFER TO CONSOLE |
| 134 |
N 000137010201 |
SPRING WASHER |
|
|
BUFFER TO CONSOLE |
| 137 |
N 000933010164 |
SCREW |
|
|
RADIATOR TO BUFFER |
| 137 |
N 000933010157 |
SCREW |
|
|
RADIATOR TO BUFFER |
| 140 |
N 000137010201 |
SPRING WASHER |
|
|
RADIATOR TO BUFFER |
| 143 |
N 000125010518 |
WASHER |
|
Repalced by: N 000125010532
|
| 143 |
N 000125010532 |
WASHER |
|
|
RADIATOR TO BUFFER |
| 146 |
N 000961012027 |
SCREW |
|
|
CONSOLE TO SIDE MEMBER |
| 146 |
N 000961012151 |
SCREW |
|
|
CONSOLE TO SIDE MEMBER |
| 149 |
N 000125013008 |
WASHER |
| 152 |
N 910113012002 |
NUT |
|
|
CONSOLE TO SIDE MEMBER |
| 155 |
A 3835010282 |
HOSE |
|
|
FROM RADIATOR TO THERMOSTAT |
| 155 |
A 3835010082 |
HOSE |
|
|
FROM RADIATOR TO THERMOSTAT |
| 158 |
A 3835010382 |
HOSE |
|
|
FROM RADIATOR TO WATER PUMP |
| 158 |
A 3835010182 |
HOSE |
|
|
FROM RADIATOR TO WATER PUMP |
| 161 |
N 916017070000 |
CLAMP |
|
Repalced by: N 000000000674
|
| 161 |
N 000000000674 |
CLAMP |
|
|
COOLING WATER HOSE TO WATER PUMP AND TO THERMOSTAT,RESP. |
| 164 |
N 916017050000 |
CLAMP |
|
Repalced by: N 000000000672
|
| 164 |
N 000000000672 |
CLAMP |
|
|
COOLING WATER HOSE TO RADIATOR |
| 167 |
A 3835010023 |
CONNECTOR |
|
|
AT WATER PUMP |
| 170 |
A 4032010480 |
GASKET |
|
Repalced by: A 4422010480
|
| 170 |
A 4422010480 |
GASKET |
|
|
CONNECTOR TO WATER PUMP |
| 173 |
N 000933010105 |
SCREW |
|
|
CONNECTOR TO WATER PUMP |
| 176 |
N 000137010201 |
SPRING WASHER |
|
|
CONNECTOR TO WATER PUMP |
| 179 |
A 3875011082 |
HOSE |
|
|
FROM WATER PUMP TO EXPANSION TANK |
| 182 |
N 000933010094 |
SCREW |
|
|
RADIATOR TO RUBBER MOUNTING |
| 182 |
N 000933010145 |
SCREW |
|
|
RADIATOR TO RUBBER MOUNTING |
| 185 |
N 000137010201 |
SPRING WASHER |
|
|
RADIATOR TO RUBBER MOUNTING |
| 188 |
N 000125010518 |
WASHER |
|
Repalced by: N 000125010532
|
| 188 |
N 000125010532 |
WASHER |
|
|
RADIATOR TO RUBBER MOUNTING |
| 191 |
A 3835040084 |
SHIM |
|
|
RADIATOR TO RUBBER MOUNTING |
| 191 |
A 3855040184 |
SHIM |
|
|
RADIATOR TO RUBBER MOUNTING |
| 191 |
A 3855040284 |
SHIM |
|
|
RADIATOR TO RUBBER MOUNTING |
| 194 |
A 3875010224 |
COOLING WATER PIPE |
|
|
FROM WATER PUMP TO EXPANSION TANK |
| 194 |
A 3875010724 |
COOLING WATER PIPE |
|
|
FROM WATER PUMP TO EXPANSION TANK |
|
|
750 MM |
| 194 |
A 3875010724 |
COOLING WATER PIPE |
|
|
FROM WATER PUMP TO EXPANSION TANK |
|
|
750 MM |
| 194 |
A 3835010224 |
COOLING WATER PIPE |
|
|
FROM WATER PUMP TO EXPANSION TANK |
|
|
1165 MM |
| 194 |
A 3875012024 |
COOLING WATER PIPE |
|
|
FROM WATER PUMP TO EXPANSION TANK |
|
|
1490 MM |
|
A 3875011182 |
HOSE |
|
Repalced by: A 3875011782
|
| 197 |
A 3875011782 |
HOSE |
|
|
FROM WATER PUMP TO EXPANSION TANK |
| 197 |
A 3875011782 |
HOSE |
|
|
FROM WATER PUMP TO EXPANSION TANK |
| 197 |
N 900271028026 |
HOSE |
|
|
FROM WATER PUMP TO EXPANSION TANK |
|
|
28X37 MM |
| 200 |
N 916017032000 |
CLAMP |
|
Repalced by: N 000000000670
|
| 200 |
N 000000000670 |
CLAMP |
|
|
FROM WATER PUMP TO EXPANSION TANK |
| 200 |
N 000000000670 |
CLAMP |
|
|
FROM WATER PUMP TO EXPANSION TANK |
| 203 |
N 916017025000 |
CLAMP |
|
Repalced by: N 000000000668
|
| 203 |
N 000000000668 |
CLAMP |
|
|
FROM WATER PUMP TO EXPANSION TANK |
| 206 |
A 3875010920 |
BRACKET |
|
|
COOLING WATER LINE TO FRAME |
| 206 |
A 3875010920 |
BRACKET |
|
|
COOLING WATER LINE TO FRAME |
| 209 |
A 3835010120 |
BRACKET |
|
|
COOLING WATER LINE TO FRAME |
| 212 |
A 3879950020 |
CLAMP |
|
|
COOLING WATER LINE TO FRAME |
| 215 |
N 000933008212 |
SCREW |
|
Repalced by: N 304017008016
|
| 215 |
N 304017008016 |
SCREW |
|
|
COOLING WATER LINE TO FRAME |
| 218 |
N 913004008004 |
NUT |
|
Repalced by: N 913004008001
|
| 218 |
N 913004008001 |
NUT |
|
|
COOLING WATER LINE TO FRAME |
|
A 3875011320 |
BRACKET |
|
|
COOLING WATER LINE TO BRACKET |
|
A 3604292040 |
BRACKET |
|
Repalced by: A 3604292940
|
| 221 |
A 3604292940 |
BRACKET |
|
|
COOLING WATER LINE TO BRACKET |
| 221 |
A 3604292940 |
BRACKET |
|
|
COOLING WATER LINE TO BRACKET |
| 224 |
A 3879950020 |
CLAMP |
|
|
COOLING WATER LINE TO BRACKET |
| 224 |
A 3879950020 |
CLAMP |
|
|
COOLING WATER LINE TO BRACKET |
| 227 |
N 000933008147 |
SCREW |
|
Repalced by: N 304017008021
|
| 227 |
N 304017008021 |
SCREW |
|
|
COOLING WATER LINE TO BRACKET |
| 230 |
N 913004008004 |
NUT |
|
Repalced by: N 913004008001
|
| 230 |
N 913004008001 |
NUT |
|
|
COOLING WATER LINE TO BRACKET |
| 233 |
A 3839950001 |
CLAMP |
|
|
COOLING WATER LINE TO BRACKET |
| 236 |
N 000933008147 |
SCREW |
|
Repalced by: N 304017008021
|
| 236 |
N 304017008021 |
SCREW |
|
|
COOLING WATER LINE TO BRACKET |
| 239 |
N 913004008004 |
NUT |
|
Repalced by: N 913004008001
|
| 239 |
N 913004008001 |
NUT |
|
|
COOLING WATER LINE TO BRACKET |
| 242 |
A 3875000179 |
FLANGE |
|
|
AT ENGINE |
| 242 |
A 3835000079 |
FLANGE |
|
|
AT ENGINE |
| 245 |
N 917003040008 |
GASKET |
|
|
FLANGE TO ENGINE |
| 248 |
N 000933010105 |
SCREW |
|
|
FLANGE TO ENGINE |
| 251 |
N 912004010102 |
LOCK WASHER |
|
|
FLANGE TO ENGINE |
|
A 3609951501 |
CLAMP |
|
Repalced by: A 3609950601
|
| 254 |
A 3609950601 |
CLAMP |
|
|
HEATING PIPE TO ENGINE |
| 257 |
N 000933008212 |
SCREW |
|
Repalced by: N 304017008016
|
| 257 |
N 304017008016 |
SCREW |
|
|
HEATING PIPE TO ENGINE |
| 257 |
N 000933006130 |
SCREW |
|
|
HEATING PIPE TO ENGINE |
| 260 |
N 913004008004 |
NUT |
|
Repalced by: N 913004008001
|
| 260 |
N 913004008001 |
NUT |
|
|
HEATING PIPE TO ENGINE |
| 260 |
N 913004006003 |
NUT |
|
Repalced by: N 910113006001
|
| 260 |
N 910113006001 |
NUT |
|
|
HEATING PIPE TO ENGINE |
| 263 |
A 3875060335 |
HOSE |
|
|
FROM FLANGE TO HEATING PIPE |
| 266 |
N 916017020000 |
CLAMP |
|
Repalced by: N 000000000667
|
| 266 |
N 000000000667 |
CLAMP |
|
|
FROM FLANGE TO HEATING PIPE |
|
A 3875000289 |
LINE |
|
Repalced by: A 3835000072
|
|
A 3835000072 |
LINE |
|
Repalced by: A 3875000072
|
| 269 |
A 3875000072 |
LINE |
|
|
HEATING PIPE |
| 272 |
A 3875011420 |
BRACKET |
|
|
HEATING PIPE |
|
A 3635060035 |
HOSE |
|
Repalced by: A 3835060035
|
| 275 |
A 3835060035 |
HOSE |
|
|
HEATING; TO CAB |
| 278 |
N 916017020000 |
CLAMP |
|
Repalced by: N 000000000667
|
| 278 |
N 000000000667 |
CLAMP |
|
|
HEATING; TO CAB |
|
A 3875060535 |
HOSE |
|
Repalced by: A 3635060235
|
| 281 |
A 3635060235 |
HOSE |
|
|
HEATING, TO CONNECTOR |
| 284 |
N 916017020000 |
CLAMP |
|
Repalced by: N 000000000667
|
| 284 |
N 000000000667 |
CLAMP |
|
|
HEATING, TO CONNECTOR |
| 287 |
N 916017025000 |
CLAMP |
|
Repalced by: N 000000000668
|
| 287 |
N 000000000668 |
CLAMP |
|
|
HEATING, TO CONNECTOR |
| 290 |
A 3875011925 |
BREATHER PIPE |
|
|
VENTILATION, FROM RADIATOR TO EXPANSION TANK |
|
|
1015 MM |
| 290 |
A 3875011925 |
BREATHER PIPE |
|
|
VENTILATION, FROM RADIATOR TO EXPANSION TANK |
|
|
1015 MM |
| 290 |
A 3875017125 |
BREATHER PIPE |
|
|
985 MM |
| 290 |
A 3875017125 |
BREATHER PIPE |
|
|
985 MM |
| 290 |
A 3835010225 |
BREATHER PIPE |
|
|
VENTILATION, FROM RADIATOR TO EXPANSION TANK |
|
|
960 MM |
| 290 |
A 3815012925 |
BREATHER PIPE |
|
|
VENTILATION, FROM RADIATOR TO EXPANSION TANK |
|
|
550 MM |
| 293 |
N 900271012018 |
HOSE |
|
|
VENTILATION, FROM RADIATOR TO EXPANSION TANK |
|
|
12X21 MM |
| 296 |
N 916017020000 |
CLAMP |
|
Repalced by: N 000000000667
|
| 296 |
N 000000000667 |
CLAMP |
|
|
FROM RADIATOR TO EXPANSION TANK |
| 299 |
A 3875011525 |
BREATHER PIPE |
|
|
FROM ENGINE TO EXPANSION TANK |
|
|
840 MM |
| 299 |
A 3875017225 |
BREATHER PIPE |
|
|
FROM ENGINE TO EXPANSION TANK |
|
|
760 MM |
| 299 |
A 3875013025 |
BREATHER PIPE |
|
|
FROM ENGINE TO EXPANSION TANK |
|
|
600 MM |
| 299 |
A 3835010325 |
BREATHER PIPE |
|
|
FROM ENGINE TO EXPANSION TANK |
|
|
840 MM |
| 299 |
A 3875015325 |
BREATHER PIPE |
|
|
FROM ENGINE TO EXPANSION TANK |
|
|
640 MM |
| 302 |
N 900271015037 |
HOSE |
|
|
FROM ENGINE TO EXPANSION TANK |
|
|
15X24 MM |
| 305 |
N 916017020000 |
CLAMP |
|
Repalced by: N 000000000667
|
| 305 |
N 000000000667 |
CLAMP |
|
|
ENGINE BREATHING |
|
A 3875011020 |
BRACKET |
|
Repalced by: A 3855010220
|
| 308 |
A 3855010220 |
BRACKET |
|
|
RADIATOR AND ENGINE BREATHING,AT ENGINE |
|
A 3875015920 |
BRACKET |
|
Repalced by: A 6454310740
|
| 311 |
A 6454310740 |
BRACKET |
|
|
RADIATOR AND ENGINE BREATHING,AT ENGINE |
| 314 |
N 000933010094 |
SCREW |
|
|
RADIATOR AND ENGINE BREATHING,AT ENGINE |
| 314 |
N 000933010094 |
SCREW |
|
|
RADIATOR AND ENGINE BREATHING,AT ENGINE |
| 317 |
N 000125010518 |
WASHER |
|
Repalced by: N 000125010532
|
| 317 |
N 000125010532 |
WASHER |
|
|
RADIATOR AND ENGINE BREATHING,AT ENGINE |
| 317 |
N 000125010532 |
WASHER |
|
|
RADIATOR AND ENGINE BREATHING,AT ENGINE |
| 320 |
N 913004010008 |
NUT |
|
Repalced by: N 910113010000
|
| 320 |
N 910113010000 |
NUT |
|
|
RADIATOR AND ENGINE BREATHING,AT ENGINE |
| 320 |
N 910113010000 |
NUT |
|
|
RADIATOR AND ENGINE BREATHING,AT ENGINE |
| 323 |
A 3609951401 |
CLAMP |
|
Repalced by: N 916016011202
|
| 323 |
N 916016011202 |
CLAMP |
|
|
RADIATOR AND ENGINE BREATHING,AT ENGINE |
|
A 3609951301 |
CLAMP |
|
Repalced by: A 3609951201
|
| 323 |
A 3609951201 |
CLAMP |
|
|
RADIATOR AND ENGINE BREATHING,AT ENGINE |
| 323 |
A 3609950401 |
CLAMP |
|
|
RADIATOR AND ENGINE BREATHING,AT ENGINE |
| 323 |
A 3609952001 |
CLAMP |
|
Repalced by: A 6739950001
|
| 323 |
A 6739950001 |
CLAMP |
|
|
RADIATOR AND ENGINE BREATHING,AT ENGINE |
| 326 |
N 000933008212 |
SCREW |
|
Repalced by: N 304017008016
|
| 326 |
N 304017008016 |
SCREW |
|
|
RADIATOR AND ENGINE BREATHING,AT ENGINE |
| 329 |
N 000933006102 |
SCREW |
|
|
RADIATOR AND ENGINE BREATHING,AT ENGINE |
| 329 |
N 913004006148 |
NUT |
|
|
RADIATOR AND ENGINE BREATHING,AT ENGINE |
| 329 |
N 913004006002 |
NUT |
|
Repalced by: N 913004006001
|
| 329 |
N 913004006001 |
NUT |
|
|
RADIATOR AND ENGINE BREATHING,AT ENGINE |
| 329 |
N 913004008004 |
NUT |
|
Repalced by: N 913004008001
|
| 329 |
N 913004008001 |
NUT |
|
|
RADIATOR AND ENGINE BREATHING,AT ENGINE |
| 332 |
N 912004006102 |
LOCK WASHER |
|
|
RADIATOR AND ENGINE BREATHING,AT ENGINE |
| 335 |
A 3875000631 |
BRACKET |
|
|
RADIATOR AND ENGINE BREATHING,AT ENGINE |
| 338 |
N 000933006121 |
SCREW |
|
Repalced by: N 304017006020
|
| 338 |
N 304017006020 |
SCREW |
| 341 |
N 913004006002 |
NUT |
|
Repalced by: N 913004006001
|
| 341 |
N 913004006001 |
NUT |
| 344 |
A 3815011320 |
BRACKET |
|
|
BREATHER LINE,RADIATOR |
| 347 |
N 000933008147 |
SCREW |
|
Repalced by: N 304017008021
|
| 347 |
N 304017008021 |
SCREW |
|
|
BREATHER LINE,RADIATOR |
| 350 |
N 913004008004 |
NUT |
|
Repalced by: N 913004008001
|
| 350 |
N 913004008001 |
NUT |
|
|
BREATHER LINE,RADIATOR |
| 353 |
A 3609951201 |
CLAMP |
|
|
BREATHER LINE,RADIATOR |