| 008 |
A 0015013901 |
RADIATOR |
|
Repalced by: A 0015013701
|
| 008 |
A 0015013701 |
RADIATOR |
|
|
WATER |
|
|
BEHR |
| 008 |
A 0005001203 |
RADIATOR |
|
|
WATER |
| 008 |
A 0015013801 |
RADIATOR |
|
|
WATER |
|
|
BEHR |
| 013 |
A 0005001149 |
TANK |
|
|
COOLING WATER EXPANSION |
|
|
BEHR |
| 013 |
A 0005000849 |
TANK |
|
|
COOLING WATER EXPANSION |
|
|
BEHR |
| 018 |
A 0005014615 |
RADIATOR CAP |
|
|
FILLER NECK |
| 018 |
A 0005017215 |
RADIATOR CAP |
|
|
FILLER NECK |
| 023 |
A 0005013715 |
RADIATOR CAP |
|
|
LATERAL |
| 023 |
A 0005017115 |
RADIATOR CAP |
|
|
LATERAL |
| 028 |
A 0005010480 |
GASKET |
|
|
O.D., |
|
|
52 MM |
| 033 |
A 0005010880 |
GASKET |
|
|
O.D., |
|
|
37 MM |
| 038 |
A 0019973230 |
SCREW PLUG |
|
Repalced by: N 007604014101
|
| 038 |
N 007604014101 |
SCREW PLUG |
|
|
WATER DRAIN |
| 043 |
N 007603014405 |
SEAL RING |
|
|
WATER DRAIN |
| 048 |
N 000933008212 |
SCREW |
|
Repalced by: N 304017008016
|
| 048 |
N 304017008016 |
SCREW |
|
|
FROM EXPANSION TANK TO RADIATOR |
| 053 |
N 912004008102 |
LOCK WASHER |
|
|
FROM EXPANSION TANK TO RADIATOR |
| 058 |
N 000125008418 |
WASHER |
|
Repalced by: N 000125008443
|
| 058 |
N 000125008443 |
WASHER |
|
|
FROM EXPANSION TANK TO RADIATOR |
| 063 |
A 0149975782 |
HOSE |
|
|
OVERFLOW, EXPANSION TANK |
| 068 |
N 916017011000 |
CLAMP |
|
Repalced by: N 916017011001
|
| 068 |
N 000000000665 |
CLAMP |
|
|
OVERFLOW, EXPANSION TANK |
|
|
12-22X13 MM |
| 073 |
A 0019973230 |
SCREW PLUG |
|
Repalced by: N 007604014101
|
| 073 |
N 007604014101 |
SCREW PLUG |
|
|
WATER DRAIN |
| 078 |
N 007603014405 |
SEAL RING |
|
|
WATER DRAIN |
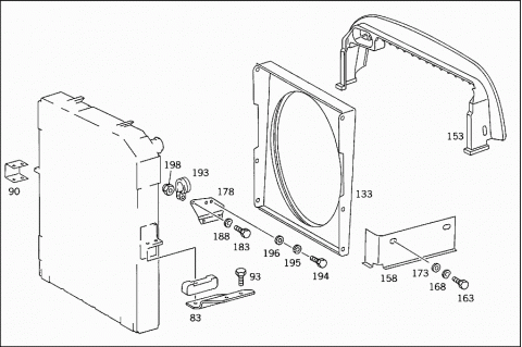
| 083 |
A 6205040201 |
SUPPORT |
|
|
RADIATOR,LEFT |
| 083 |
A 3975040001 |
SUPPORT |
|
|
RADIATOR,LEFT |
| 088 |
A 6205040801 |
SUPPORT |
|
|
RADIATOR,LEFT |
| 090 |
A 3975040101 |
SUPPORT |
|
|
RADIATOR,RIGHT |
| 093 |
N 000961012151 |
SCREW |
|
|
SUPPORT TO SIDE MEMBER |
| 098 |
N 000961012122 |
SCREW |
|
|
SUPPORT TO SIDE MEMBER |
| 103 |
N 910113012002 |
NUT |
|
|
SUPPORT TO SIDE MEMBER |
| 108 |
A 6205040112 |
RUBBER MOUNTING |
|
|
RADIATOR |
| 113 |
N 000933010238 |
SCREW |
|
Repalced by: N 304017010028
|
| 113 |
N 304017010028 |
SCREW |
|
|
RUBBER MOUNTING TO SUPPORT |
| 113 |
N 304017010028 |
SCREW |
|
|
RUBBER MOUNTING TO SIDE MEMBER |
|
N 000933010128 |
SCREW |
|
|
RADIATOR TO LEFT AND RIGHT RUBBER MOUNTINGS |
|
|
M 10X20 |
| 123 |
N 000933010105 |
SCREW |
|
|
RADIATOR TO LEFT AND RIGHT RUBBER MOUNTINGS |
|
|
M 10X25 |
| 123 |
N 000933010105 |
SCREW |
|
|
RUBBER MOUNTING TO SIDE MEMBER |
|
|
M 10X25 |
| 126 |
N 000125010518 |
WASHER |
|
Repalced by: N 000125010532
|
| 126 |
N 000125010532 |
WASHER |
|
|
RADIATOR TO LEFT AND RIGHT RUBBER MOUNTINGS |
| 128 |
N 000137010201 |
SPRING WASHER |
|
|
RUBBER MOUNTING TO SIDE MEMBER AND TO SUPPORT |
| 133 |
A 6205050355 |
FAN SHROUD |
|
|
RADIATOR |
| 138 |
A 6205050855 |
FAN SHROUD |
|
|
RADIATOR |
| 143 |
A 1235040246 |
CLAMP |
|
|
FAN SHROUD TO RADIATOR |
| 148 |
A 6205050086 |
BOOT |
|
|
FAN SHROUD TO FAN RING |
| 153 |
A 6205050286 |
BOOT |
|
|
CIRCULATING AIR PARTITIONING |
| 158 |
A 6205050140 |
BRACKET |
|
|
BOOT |
| 163 |
N 000933006121 |
SCREW |
|
Repalced by: N 304017006020
|
| 163 |
N 304017006020 |
SCREW |
|
|
BRACKET TO RADIATOR |
| 168 |
N 000137006204 |
SPRING WASHER |
|
|
BRACKET TO RADIATOR |
| 173 |
A 3059900740 |
WASHER |
|
Repalced by: N 000125006421
|
| 173 |
N 000125006421 |
WASHER |
|
|
BRACKET TO RADIATOR |
| 178 |
A 4420100040 |
BRACKET |
|
|
OI DIPSTICK GUIDE TUBE |
| 178 |
A 4420100140 |
BRACKET |
|
|
OI DIPSTICK GUIDE TUBE |
| 183 |
N 000933006183 |
SCREW |
|
Repalced by: N 304017006016
|
| 183 |
N 304017006016 |
SCREW |
|
|
BRACKET TO RADIATOR |
| 188 |
N 000137006204 |
SPRING WASHER |
|
|
BRACKET TO RADIATOR |
| 193 |
A 3609951201 |
CLAMP |
|
|
OIL-DIPSTICK GUIDE TUBE TO BRACKET |
| 194 |
N 000933008145 |
SCREW |
|
|
OIL-DIPSTICK GUIDE TUBE TO BRACKET |
| 195 |
N 007349008006 |
WASHER |
|
Repalced by: N 007349008007
|
| 195 |
N 007349008007 |
WASHER |
|
|
OIL-DIPSTICK GUIDE TUBE TO BRACKET |
| 195 |
N 007349008007 |
WASHER |
|
|
OIL-DIPSTICK GUIDE TUBE TO BRACKET |
| 196 |
N 912004008102 |
LOCK WASHER |
|
|
OIL-DIPSTICK GUIDE TUBE TO BRACKET |
| 196 |
N 912004008102 |
LOCK WASHER |
|
|
OIL-DIPSTICK GUIDE TUBE TO BRACKET |
| 198 |
N 913004008004 |
NUT |
|
Repalced by: N 913004008001
|
| 198 |
N 913004008001 |
NUT |
|
|
OIL-DIPSTICK GUIDE TUBE TO BRACKET |
|
X XXXXXXXXXXXX |
PART NAME MISSING |
|
|
EXPANSION TANK |
| 203 |
A 6205000149 |
TANK |
|
|
(EXPANSION TANK) |
| 208 |
A 6205000349 |
TANK |
|
|
(EXPANSION TANK) |
| 208 |
A 6205000349 |
TANK |
|
|
(EXPANSION TANK) |
| 213 |
A 0005014515 |
RADIATOR CAP |
|
|
TOP |
| 218 |
A 0005010880 |
GASKET |
|
|
O.D., |
|
|
37 MM |
| 223 |
A 0005010110 |
DRAIN PIPE |
| 228 |
A 0139978682 |
HOSE |
|
|
OVERFLOW |
| 233 |
A 0079972682 |
HOSE |
|
Repalced by: A 0219977682
|
| 233 |
A 0219977682 |
HOSE |
|
|
OVERFLOW |
| 233 |
A 0219977682 |
HOSE |
|
|
OVERFLOW |
| 238 |
A 0009881878 |
CLIP |
|
|
OVERFLOW HOSE TO CAB FIRE WALL FRONT EDGE |
| 243 |
A 6205000131 |
BRACKET |
|
|
EXPANSION TANK,LEFT |
| 248 |
A 6175000031 |
BRACKET |
|
|
EXPANSION TANK,LEFT |
| 248 |
A 6175000031 |
BRACKET |
|
|
EXPANSION TANK,LEFT |
| 253 |
A 6205000031 |
BRACKET |
|
|
EXPANSION TANK,RIGHT |
| 258 |
A 6175000131 |
BRACKET |
|
|
EXPANSION TANK,RIGHT |
| 258 |
A 6175000131 |
BRACKET |
|
|
EXPANSION TANK,RIGHT |
| 263 |
N 007981005306 |
SHEET METAL SCREW |
|
|
BRACKET TO CAB |
| 268 |
N 000125006421 |
WASHER |
|
|
BRACKET TO CAB |
| 273 |
A 6205010295 |
SHIM |
|
|
EXPANSION TANK,LEFT |
| 278 |
A 6175010095 |
SHIM |
|
|
EXPANSION TANK,LEFT |
| 278 |
A 6175010095 |
SHIM |
|
|
EXPANSION TANK,LEFT |
| 283 |
A 6205010195 |
SHIM |
|
|
EXPANSION TANK,RIGHT |
| 288 |
A 6175010195 |
SHIM |
|
|
EXPANSION TANK,RIGHT |
| 288 |
A 6175010195 |
SHIM |
|
|
EXPANSION TANK,RIGHT |
| 293 |
A 6205010420 |
STRAP |
|
|
EXPANSION TANK,LEFT |
| 298 |
A 6175010220 |
STRAP |
|
|
EXPANSION TANK,LEFT |
| 298 |
A 6175010220 |
STRAP |
|
|
EXPANSION TANK,LEFT |
| 303 |
A 6205010320 |
STRAP |
|
|
EXPANSION TANK,RIGHT |
| 308 |
A 6175010320 |
STRAP |
|
|
EXPANSION TANK,RIGHT |
| 308 |
A 6175010320 |
STRAP |
|
|
EXPANSION TANK,RIGHT |
| 313 |
N 007985006193 |
SCREW |
|
Repalced by: N 000000001146
|
| 313 |
N 000000001146 |
SCREW |
|
|
STRAP TO BRACKET |
|
|
M 6X16 |
| 315 |
N 912004006102 |
LOCK WASHER |
|
|
STRAP TO BRACKET |
| 318 |
N 009021006205 |
WASHER |
|
Repalced by: N 009021006208
|
| 318 |
N 009021006208 |
WASHER |
|
|
STRAP TO BRACKET |
|
X XXXXXXXXXXXX |
PART NAME MISSING |
|
|
COOLING WATER LINES |
| 323 |
A 6205011082 |
HOSE |
|
|
FROM RADIATOR TO THERMOSTAT |
| 328 |
A 6205012982 |
HOSE |
|
|
FROM RADIATOR TO THERMOSTAT |
| 333 |
N 916017070000 |
CLAMP |
|
Repalced by: N 000000000674
|
| 333 |
N 000000000674 |
CLAMP |
|
|
HOSE TO THERMOSTAT AND TO RADIATOR |
|
|
70-90X13 MM |
| 338 |
A 6205013882 |
HOSE |
|
Repalced by: A 6555011282
|
| 338 |
A 6555011282 |
HOSE |
|
|
FROM RADIATOR OUTLET TO WATER PUMP |
| 343 |
A 6205013782 |
HOSE |
|
|
FROM RADIATOR OUTLET TO WATER PUMP |
| 348 |
A 6205010456 |
PIPE ELBOW |
|
Repalced by: A 6205010556
|
| 348 |
A 6205010556 |
PIPE ELBOW |
|
Repalced by: A 6555010756
|
| 348 |
A 6555010756 |
PIPE ELBOW |
|
|
FROM RADIATOR OUTLET TO WATER PUMP |
| 353 |
N 000931010282 |
SCREW |
|
|
PIPE ELBOW TO BRACKET |
| 358 |
N 913004010008 |
NUT |
|
Repalced by: N 910113010000
|
| 358 |
N 910113010000 |
NUT |
|
|
PIPE ELBOW TO BRACKET |
| 363 |
N 900271070007 |
HOSE |
|
|
FROM RADIATOR OUTLET TO WATER PUMP |
| 368 |
N 916017070000 |
CLAMP |
|
Repalced by: N 000000000674
|
| 368 |
N 000000000674 |
CLAMP |
|
|
HOSE TO RADIATOR,PIPE ELBOW,AND WATER PUMP |
|
|
70-90X13 MM |
| 373 |
A 6205010023 |
CONNECTOR |
|
Repalced by: A 6205010323
|
| 373 |
A 6205010323 |
CONNECTOR |
|
|
AT WATER PUMP |
| 373 |
A 6205010323 |
CONNECTOR |
|
|
AT WATER PUMP |
| 378 |
A 6205010123 |
CONNECTOR |
|
Repalced by: A 6205010423
|
| 378 |
A 6205010423 |
CONNECTOR |
|
|
AT WATER PUMP |
| 383 |
A 4032010480 |
GASKET |
|
Repalced by: A 4422010480
|
| 383 |
A 4422010480 |
GASKET |
|
|
CONNECTOR |
| 388 |
N 000933010105 |
SCREW |
|
|
CONNECTOR TO WATER PUMP |
|
|
M 10X25 |
| 388 |
N 000933010105 |
SCREW |
|
|
CONNECTOR TO WATER PUMP |
|
|
M 10X25 |
| 393 |
N 000931010271 |
SCREW |
|
|
CONNECTOR TO WATER PUMP |
|
|
M 10X60 |
| 393 |
N 000931010271 |
SCREW |
|
|
CONNECTOR TO WATER PUMP |
|
|
M 10X60 |
| 398 |
N 000137010201 |
SPRING WASHER |
|
|
CONNECTOR TO WATER PUMP |
| 403 |
A 6205012082 |
HOSE |
|
|
FROM WATER PUMP TO EXPANSION TANK AND TO HEATING PIPE |
| 403 |
A 6205013082 |
HOSE |
|
|
FROM WATER PUMP TO EXPANSION TANK AND TO HEATING PIPE |
| 408 |
A 6205011682 |
HOSE |
|
Repalced by: A 6585010082
|
| 408 |
A 6585010082 |
HOSE |
|
|
FROM WATER PUMP TO EXPANSION TANK AND TO HEATING PIPE |
| 413 |
A 6205000172 |
LINE |
|
|
FROM WATER PUMP TO EXPANSION TANK AND TO HEATING PIPE |
| 418 |
N 000933006103 |
SCREW |
|
Repalced by: N 304017006018
|
| 418 |
N 304017006018 |
SCREW |
|
|
PIPE LINE TO CONTROL BRACKET |
| 423 |
N 913004006002 |
NUT |
|
Repalced by: N 913004006001
|
| 423 |
N 913004006001 |
NUT |
|
|
PIPE LINE TO CONTROL BRACKET |
| 428 |
A 6205011882 |
HOSE |
|
|
FROM WATER PUMP TO EXPANSION TANK AND TO HEATING PIPE |
| 433 |
N 916017032000 |
CLAMP |
|
Repalced by: N 000000000670
|
| 433 |
N 000000000670 |
CLAMP |
|
|
HOSE TO EXPANSION TANK AND TO WATER PUMP |
|
|
35-50 X13 MM |
| 433 |
N 000000000670 |
CLAMP |
|
|
HOSE TO EXPANSION TANK AND TO WATER PUMP |
|
|
35-50 X13 MM |
| 438 |
N 916017020000 |
CLAMP |
|
Repalced by: N 000000000667
|
| 438 |
N 000000000667 |
CLAMP |
|
|
HOSE TO HEATING PIPE |
|
|
20-32X13 MM |
| 443 |
A 6205000579 |
FLANGE |
|
|
DE-AERATION; FROM ENGINE TO EXPANSION TANK |
| 448 |
A 6205000779 |
FLANGE |
|
|
DE-AERATION; FROM ENGINE TO EXPANSION TANK |
| 453 |
N 917003040008 |
GASKET |
|
|
FLANGE |
| 458 |
N 000933010105 |
SCREW |
|
|
FLANGE TO ENGINE |
| 463 |
N 912004010102 |
LOCK WASHER |
|
|
FLANGE TO ENGINE |
| 468 |
A 3875016420 |
BRACKET |
|
|
BREATHER PIPE |
| 473 |
A 3609950601 |
CLAMP |
|
|
BREATHER PIPE TO BRACKET |
| 478 |
N 000933006130 |
SCREW |
|
|
BREATHER PIPE TO BRACKET |
| 483 |
N 913004006002 |
NUT |
|
Repalced by: N 913004006001
|
| 483 |
N 913004006001 |
NUT |
|
|
BREATHER PIPE TO BRACKET |
| 488 |
A 3875011682 |
HOSE |
|
|
DE-AERATION; FROM FLANGE TO COOLING WATER EXPANSION TANK |
| 493 |
N 916017020000 |
CLAMP |
|
Repalced by: N 000000000667
|
| 493 |
N 000000000667 |
CLAMP |
|
|
HOSE TO BREATHER PIPE AND TO ESPANSION TANK |
|
|
20-32X13 MM |
|
X XXXXXXXXXXXX |
PART NAME MISSING |
|
|
HEATING LINES |
| 498 |
A 6205003772 |
LINE |
|
|
(HEATING PIPE) FROM ENGINE TO HEATING PIPE AT RADIATOR |
| 498 |
A 6205003772 |
LINE |
|
|
(HEATING PIPE) FROM ENGINE TO HEATING PIPE AT RADIATOR |
| 498 |
A 6205003772 |
LINE |
|
|
(HEATING PIPE) FROM ENGINE TO HEATING PIPE AT RADIATOR |
| 498 |
A 6205003672 |
LINE |
|
|
(HEATING PIPE) FROM ENGINE TO HEATING PIPE AT RADIATOR |
| 498 |
A 6205003972 |
LINE |
|
|
(HEATING PIPE) FROM ENGINE TO HEATING PIPE AT RADIATOR |
| 498 |
A 6205004272 |
LINE |
|
|
(HEATING PIPE) FROM ENGINE TO HEATING PIPE AT RADIATOR |
| 503 |
N 917003022003 |
GASKET |
|
|
HEATING PIPE |
| 508 |
N 000933008147 |
SCREW |
|
Repalced by: N 304017008021
|
| 508 |
N 304017008021 |
SCREW |
|
|
HEATING PIPE TO ENGINE |
| 513 |
N 000137008204 |
SPRING WASHER |
|
Repalced by: N 000137008212
|
| 513 |
N 000137008212 |
SPRING WASHER |
|
|
HEATING PIPE TO ENGINE |
| 518 |
A 3604280243 |
ANGLE |
|
|
HEATING PIPE |
| 518 |
A 3604280243 |
ANGLE |
|
|
HEATING PIPE |
| 518 |
A 3818320714 |
BRACKET |
|
|
HEATING PIPE TO FAN SHROUD BRACKET |
| 523 |
A 6205062340 |
BRACKET |
|
|
HEATING PIPE |
| 528 |
N 000933008147 |
SCREW |
|
Repalced by: N 304017008021
|
| 528 |
N 304017008021 |
SCREW |
|
|
ANGLE TO AIR BAFFLE BRACKET |
| 528 |
N 304017008021 |
SCREW |
|
|
ANGLE TO AIR BAFFLE BRACKET |
| 533 |
N 000137008204 |
SPRING WASHER |
|
Repalced by: N 000137008212
|
| 533 |
N 000137008212 |
SPRING WASHER |
|
|
ANGLE TO AIR BAFFLE BRACKET |
| 533 |
N 000137008212 |
SPRING WASHER |
|
|
ANGLE TO AIR BAFFLE BRACKET |
| 538 |
A 3609950601 |
CLAMP |
|
|
HEATING PIPE TO ANGLE AND TO BRACKET |
| 538 |
A 3609950601 |
CLAMP |
|
|
HEATING PIPE TO ANGLE AND TO BRACKET |
| 538 |
A 3609950601 |
CLAMP |
|
|
HEATING PIPE TO FAN SHROUD BRACKET |
| 543 |
N 000933006130 |
SCREW |
|
|
HEATING PIPE TO ANGLE AND TO BRACKET |
| 543 |
N 000933006130 |
SCREW |
|
|
HEATING PIPE TO ANGLE AND TO BRACKET |
| 543 |
N 000933006130 |
SCREW |
|
|
HEATING PIPE TO FAN SHROUD BRACKET |
| 548 |
N 913004006002 |
NUT |
|
Repalced by: N 913004006001
|
| 548 |
N 913004006001 |
NUT |
|
|
HEATING PIPE TO ANGLE AND TO BRACKET |
| 548 |
N 913004006001 |
NUT |
|
|
HEATING PIPE TO ANGLE AND TO BRACKET |
| 548 |
N 913004006001 |
NUT |
|
|
HEATING PIPE TO FAN SHROUD BRACKET |
| 553 |
N 900271018038 |
HOSE |
|
|
FROM HEATING PIPE AT ENGINE TO HEATING PIPE AT RADIATOR |
|
|
450 MM |
| 558 |
A 6205062935 |
HOSE |
|
|
FROM HEATING PIPE AT ENGINE TO HEATING PIPE AT RADIATOR |
| 558 |
A 6205062935 |
HOSE |
|
|
FROM HEATING PIPE AT ENGINE TO HEATING PIPE AT RADIATOR |
| 558 |
A 6205062335 |
HOSE |
|
|
FROM HEATING PIPE AT ENGINE TO HEATING PIPE AT RADIATOR |
| 563 |
N 916017020000 |
CLAMP |
|
Repalced by: N 000000000667
|
| 563 |
N 000000000667 |
CLAMP |
|
|
HOSE TO HEATING PIPE |
|
|
20-32X13 MM |
| 568 |
A 6205002872 |
LINE |
|
|
HEATING AND BREATHING |
| 568 |
A 6455000272 |
LINE |
|
|
HEATING AND BREATHING |
| 568 |
A 6205003072 |
LINE |
|
|
HEATING AND BREATHING |
|
A 6455000672 |
LINE |
|
|
HEATING AND BREATHING |
| 573 |
A 6455000072 |
LINE |
|
|
HEATING AND BREATHING |
| 578 |
N 000933006183 |
SCREW |
|
Repalced by: N 304017006016
|
| 578 |
N 304017006016 |
SCREW |
|
|
LINE TO RADIATOR |
| 583 |
N 000137006204 |
SPRING WASHER |
|
|
LINE TO RADIATOR |
| 588 |
A 6205062035 |
HOSE |
|
|
FROM HEATING PIPE AT RADIATOR TO CAB HEATING PIPE |
| 593 |
A 6205060335 |
HOSE |
|
|
HEATING FEED, FROM RADIATOR TO CAB HEATING PIPE |
| 598 |
A 6205060235 |
HOSE |
|
|
HEATER RETURN, FROM RADIATOR TO CAB HEATING PIPE |
| 603 |
N 916017020000 |
CLAMP |
|
Repalced by: N 000000000667
|
| 603 |
N 000000000667 |
CLAMP |
|
|
HOSE TO HEATING PIPE |
|
|
20-32X13 MM |
|
X XXXXXXXXXXXX |
PART NAME MISSING |
|
|
DE-AERATION LINES |
| 608 |
N 900271008043 |
HOSE |
|
|
DE-AERATION |
| 608 |
N 900271008043 |
HOSE |
|
|
FROM EXPANSION TANK TO DE-AERATION PIPE AT RADIATOR |
| 608 |
N 900271008043 |
HOSE |
|
|
FROM DE-AERATION PIPE AT RADIATOR TO EXPANSION TANK |
| 613 |
N 916017011000 |
CLAMP |
|
Repalced by: N 916017011001
|
| 613 |
N 000000000665 |
CLAMP |
|
|
HOSE TO BREATHER PIPE AND TO ESPANSION TANK |
|
|
12-22X13 MM |
| 618 |
A 6175010225 |
BREATHER PIPE |
|
|
FROM EXPANSION TANK TO HEATING PIPE AT RADIATOR |
| 623 |
A 6205010725 |
BREATHER PIPE |
|
|
FROM EXPANSION TANK TO HEATING PIPE AT RADIATOR |
| 623 |
A 6205010725 |
BREATHER PIPE |
|
|
FROM EXPANSION TANK TO HEATING PIPE AT RADIATOR |
| 628 |
A 6175010420 |
BRACKET |
|
|
BREATHER PIPE |
| 633 |
A 6205010920 |
BRACKET |
|
|
BREATHER PIPE |
| 638 |
N 007981005306 |
SHEET METAL SCREW |
|
|
BRACKET TO CAB |
| 643 |
A 3609950201 |
CLAMP |
|
Repalced by: A 3604300143
|
| 643 |
A 3604300143 |
CLAMP |
|
Repalced by: N 916016008200
|
| 643 |
N 916016008200 |
CLAMP |
|
|
BREATHER PIPE TO BRACKET |
| 648 |
N 007985006193 |
SCREW |
|
Repalced by: N 000000001146
|
| 648 |
N 000000001146 |
SCREW |
|
|
BREATHER PIPE TO BRACKET |
|
|
M 6X16 |
| 653 |
N 913004006002 |
NUT |
|
Repalced by: N 913004006001
|
| 653 |
N 913004006001 |
NUT |
|
|
BREATHER PIPE TO BRACKET |
| 658 |
A 6205013282 |
HOSE |
|
Repalced by: A 6205012882
|
| 658 |
A 6205012882 |
HOSE |
|
|
FROM DE-AERATION PIPE AT RADIATOR TO EXPANSION TANK |
| 663 |
N 916017011000 |
CLAMP |
|
Repalced by: N 916017011001
|
| 663 |
N 000000000665 |
CLAMP |
|
|
HOSE TO BREATHER PIPE |
|
|
12-22X13 MM |
| 668 |
N 916017020000 |
CLAMP |
|
Repalced by: N 000000000667
|
| 668 |
N 000000000667 |
CLAMP |
|
|
HOSE TO EXPANSION TANK |
|
|
20-32X13 MM |
|
X XXXXXXXXXXXX |
PART NAME MISSING |
|
|
CHARGE AIR INTERCOOLER |
| 673 |
A 6205010201 |
RADIATOR |
|
|
(CHARGING AIR INTERCOOLER) |
|
|
BEHR |
| 678 |
N 000933006121 |
SCREW |
|
Repalced by: N 304017006020
|
| 678 |
N 304017006020 |
SCREW |
|
|
CHARGING AIR INTERCOOLER TO RADIATOR |
| 683 |
N 000125006421 |
WASHER |
|
|
CHARGING AIR INTERCOOLER TO RADIATOR |
| 688 |
A 0010947882 |
HOSE |
|
Repalced by: A 0020945282
|
| 688 |
A 0020945282 |
HOSE |
|
|
FROM CHARGING AIR INTERCOOLER TO ENGINE |
| 693 |
N 000000000676 |
CLAMP |
|
|
HOSE TO RADIATOR AND TO ENGINE |
|
|
100-120X13 MM |
| 698 |
A 6205200406 |
PIPE ELBOW |
|
|
FROM CHARGING AIR INTERCOOLER TO ENGINE |
| 703 |
A 6205280080 |
GASKET |
|
Repalced by: A 6555280080
|
| 703 |
A 6555280080 |
GASKET |
|
|
PIPE ELBOW |
| 708 |
N 000912010119 |
SCREW |
|
Repalced by: N 000912010219
|
| 708 |
N 000912010219 |
SCREW |
|
|
PIPE ELBOW TO CHARGING AIR INTERCOOLER |
| 713 |
N 000137010201 |
SPRING WASHER |
|
|
PIPE ELBOW TO CHARGING AIR INTERCOOLER |
|
A 0010947982 |
HOSE |
|
Repalced by: A 0020941782
|
| 718 |
A 0020941782 |
HOSE |
|
Repalced by: A 0010947982
|
| 718 |
A 0010947982 |
HOSE |
|
|
FROM PIPE ELBOW TO ENGINE |
| 723 |
N 000000000676 |
CLAMP |
|
|
HOSE TO PIPE ELBOW AND TO ENGINE |
|
|
100-120X13 MM |