| 008 |
A 6204700601 |
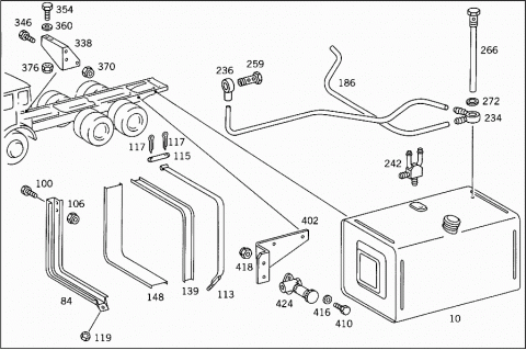
FUEL TANK |
|
|
600 L |
| 010 |
A 6254700601 |
FUEL TANK |
|
|
REAR LEFT |
|
|
300 L |
| 016 |
A 0004718030 |
FILLER CAP |
|
Repalced by: A 0004700305
|
| 016 |
A 0004717930 |
FILLER CAP |
|
Repalced by: A 0004700305
|
| 016 |
A 0004700305 |
FILLER CAP |
| 016 |
A 0004700105 |
FILLER CAP |
|
Repalced by: A 0004700305
|
| 024 |
A 3049970340 |
SEAL RING |
| 032 |
A 3034700031 |
CHAIN |
|
|
FILLER CAP TO FILLER NECK |
| 040 |
A 0065427917 |
SENDER UNIT |
|
Repalced by: A 0085429017
|
| 040 |
A 0085429017 |
SENDER UNIT |
|
|
FUEL GAUGE |
| 040 |
A 0055424217 |
SENDER UNIT |
|
Repalced by: A 0085428417
|
| 040 |
A 0085428417 |
SENDER UNIT |
|
|
FUEL GAUGE |
| 040 |
A 0075425617 |
SENDER UNIT |
|
Repalced by: A 0095420017
|
| 040 |
A 0095420017 |
SENDER UNIT |
|
|
FUEL GAUGE |
| 048 |
A 0119970745 |
SEAL RING |
|
|
FUEL GAUGE SENDER UNIT TO FUEL TANK |
| 056 |
N 007603014405 |
SEAL RING |
|
|
FUEL DISCHARGE |
| 064 |
N 007604014106 |
SCREW PLUG |
|
Repalced by: N 007604014110
|
| 064 |
N 007604014110 |
SCREW PLUG |
|
|
FUEL DISCHARGE |
| 072 |
A 6254700042 |
SUPPORT |
|
|
FRONT TANK |
| 080 |
A 6254701542 |
SUPPORT |
|
|
REAR TANK |
| 080 |
A 6254700142 |
SUPPORT |
|
|
REAR TANK |
| 084 |
A 3354750703 |
CONSOLE |
|
|
FUEL TANK |
| 088 |
N 000961016077 |
SCREW |
|
Repalced by: N 308676016006
|
| 088 |
N 308676016006 |
SCREW |
|
|
CONSOLE TO RIGHT SIDE MEMBER |
| 088 |
N 000961016013 |
SCREW |
|
|
CONSOLE TO RIGHT SIDE MEMBER |
| 096 |
N 000961016096 |
SCREW |
|
Repalced by: N 308676016007
|
| 096 |
N 308676016007 |
SCREW |
|
|
CONSOLE TO RIGHT SIDE MEMBER |
| 100 |
N 000961014028 |
SCREW |
|
|
CONSOLE TO SIDE MEMBER |
| 104 |
N 913004016005 |
NUT |
|
Repalced by: N 910113016001
|
| 104 |
N 910113016001 |
NUT |
|
|
CONSOLE TO RIGHT SIDE MEMBER |
| 106 |
N 913004014002 |
NUT |
|
Repalced by: N 910113014001
|
| 106 |
N 910113014001 |
NUT |
|
|
CONSOLE TO SIDE MEMBER |
| 108 |
A 0029873572 |
EDGE GUARD SECTION |
|
|
FUEL TANK |
|
Repalced by: A 0019872272
|
| 108 |
A 0019872272 |
EDGE GUARD SECTION |
|
|
FUEL TANK |
| 112 |
A 6204700140 |
STRAP |
|
|
FUEL TANK TO CONSOLE |
| 113 |
A 3464705340 |
STRAP |
|
|
FUEL TANK TO CONSOLE |
| 115 |
N 001443016200 |
PIN |
|
|
STRAP TO REAR CONSOLE |
| 117 |
N 000094004051 |
COTTER PIN |
|
|
STRAP TO REAR CONSOLE |
| 119 |
N 000934012022 |
NUT |
|
|
STRAP TO REAR CONSOLE |
| 120 |
A 3894750071 |
SCREW |
|
Repalced by: A 6454750071
|
| 120 |
A 6454750071 |
SCREW |
|
|
STRAP TO SUPPORT |
| 128 |
N 913004014002 |
NUT |
|
Repalced by: N 910113014001
|
| 128 |
N 910113014001 |
NUT |
|
|
STRAP TO SUPPORT |
| 128 |
N 910113012002 |
NUT |
|
|
STRAP TO SUPPORT |
| 136 |
A 6204750320 |
PAD |
|
Repalced by: A 6254750520
|
| 136 |
A 6254750520 |
PAD |
|
|
FUEL TANK TO CONSOLE |
| 139 |
A 3634750120 |
PAD |
|
|
FUEL TANK TO CONSOLE |
| 144 |
A 6204750420 |
PAD |
|
Repalced by: A 6254750620
|
| 144 |
A 6254750620 |
PAD |
|
|
STRAP |
| 148 |
A 3634750320 |
PAD |
|
|
STRAP |
| 152 |
A 6254700348 |
PROTECTOR |
|
|
FUEL TANK |
| 152 |
A 6254700048 |
PROTECTOR |
|
Repalced by: A 6204700148
|
| 152 |
A 6204700148 |
PROTECTOR |
|
|
FUEL TANK |
| 160 |
N 000961012151 |
SCREW |
|
|
PROTECTOR TO CONSOLE |
| 168 |
N 000125013008 |
WASHER |
| 176 |
N 910113012002 |
NUT |
|
|
PROTECTOR TO CONSOLE |
| 184 |
A 0109974682 |
HOSE |
|
|
FEED & RETURN |
|
|
12X15 MM |
| 186 |
A 0179978082 |
HOSE |
|
|
10X13 MM |
| 192 |
A 0109976982 |
HOSE |
|
Repalced by: A 0089979082
|
| 192 |
A 0089979082 |
HOSE |
|
|
AERATION |
|
|
6X8 MM |
| 200 |
A 3054760126 |
HOSE |
|
|
FEED LINE AND RETURN LINE |
| 201 |
A 0089975482 |
HOSE |
|
|
FEED & RETURN |
|
|
8X11 MM |
| 202 |
A 0009872627 |
PLASTIC PIPE |
|
|
FUEL LINE |
|
|
6X1 MM |
| 203 |
A 0009872727 |
PLASTIC PIPE |
|
|
FUEL LINE |
|
|
8X1 MM |
| 204 |
A 0009872827 |
PLASTIC PIPE |
|
|
FUEL LINE |
|
|
12X1,5 MM |
| 205 |
A 0009872927 |
PLASTIC PIPE |
|
|
FUEL LINE |
|
|
16X2 MM |
| 206 |
A 3879900078 |
CONNECTOR |
|
|
FROM CONNECTING HOSE TO FEED PUMP, FEED |
| 206 |
N 915062008000 |
SLEEVE |
|
|
FROM CONNECTING HOSE TO FEED PUMP, FEED |
| 208 |
A 0029978790 |
CLIP |
|
|
FEED LINE AND RETURN LINE |
| 216 |
N 916026010000 |
CLAMP |
|
Repalced by: N 000000000665
|
| 216 |
N 000000000665 |
CLAMP |
|
|
FUEL LINE TO SENDER UNIT |
| 224 |
N 040621016200 |
INSULATING HOSE |
|
|
FEED LINE |
| 232 |
N 915052012004 |
BANJO UNION |
|
|
RETURN LINE |
| 234 |
A 6254700379 |
INTERMEDIATE PIECE |
|
|
RETURN LINE |
| 236 |
N 915052008016 |
BANJO UNION |
|
Repalced by: N 000000000363
|
| 236 |
N 000000000363 |
BANJO UNION |
|
|
FUEL LINE |
| 240 |
A 6254700079 |
INTERMEDIATE PIECE |
|
|
FUEL LINE |
| 242 |
A 6254700279 |
INTERMEDIATE PIECE |
|
|
FUEL LINE |
| 248 |
A 0019978472 |
FITTING |
|
Repalced by: A 0009905778
|
| 248 |
A 0009905778 |
CONNECTOR |
|
|
FUEL LINE |
| 256 |
N 915017015200 |
UNION NUT |
|
|
RETURN LINE |
| 258 |
N 915036010204 |
HOLLOW SCREW |
|
Repalced by: N 915036010108
|
| 258 |
N 915036010108 |
HOLLOW SCREW |
|
|
FUEL LINE TO INJECTION PUMP AND TO FILTER |
| 259 |
N 915047010202 |
HOLLOW SCREW |
|
|
FUEL LINE TO FITTING |
| 260 |
N 007603014104 |
SEAL RING |
|
|
FUEL LINE TO INJECTION PUMP AND TO FILTER |
| 260 |
N 007603014106 |
SEAL RING |
|
|
FUEL LINE TO INJECTION PUMP AND TO FILTER |
| 264 |
A 6254700078 |
HOLLOW SCREW |
|
|
RETURN LINE TO FUEL TANK |
| 265 |
A 3469970230 |
SCREW PLUG |
|
|
AT TANK |
| 266 |
A 6254700178 |
HOLLOW SCREW |
|
|
RETURN LINE TO FUEL TANK |
| 272 |
N 007603022102 |
SEAL RING |
|
|
RETURN LINE TO FUEL TANK |
| 274 |
A 0019973772 |
FITTING |
|
|
FUEL LINE TO INJECTION PUMP |
| 274 |
A 0019974972 |
FITTING |
|
|
FUEL LINE TO INJECTION PUMP |
| 276 |
N 915017010200 |
UNION NUT |
|
|
FUEL LINE TO INJECTION PUMP |
| 278 |
A 4249975472 |
FITTING |
|
|
FUEL LINE TO INJECTION PUMP |
| 280 |
A 3524281740 |
BRACKET |
|
Repalced by: A 3184280240
|
| 280 |
A 3184280240 |
BRACKET |
|
|
FUEL LINE |
| 288 |
A 6254760236 |
BRACKET |
|
Repalced by: A 6255042340
|
| 288 |
A 6255042340 |
BRACKET |
|
Repalced by: A 6224760136
|
| 288 |
A 6224760136 |
BRACKET |
|
|
FUEL LINE |
| 296 |
N 000933008150 |
SCREW |
|
Repalced by: N 304017008018
|
| 296 |
N 304017008018 |
SCREW |
|
|
BRACKET TO RIGHT SIDE MEMBER |
| 304 |
N 913004008004 |
NUT |
|
Repalced by: N 913004008001
|
| 304 |
N 913004008001 |
NUT |
|
|
BRACKET TO RIGHT SIDE MEMBER |
| 312 |
A 6254760336 |
BRACKET |
|
|
DISTRIBUTOR |
| 320 |
N 000933010129 |
SCREW |
|
Repalced by: N 304017010002
|
| 320 |
N 304017010002 |
SCREW |
|
|
BRACKET TO CAB REAR CROSS MEMBER |
| 328 |
N 912004010102 |
LOCK WASHER |
|
|
BRACKET TO CAB REAR CROSS MEMBER |
| 329 |
A 3964710241 |
BRACKET |
|
|
LINE MOUNTING |
| 330 |
A 3874760136 |
BRACKET |
|
Repalced by: A 6454310740
|
| 330 |
A 6454310740 |
BRACKET |
|
|
LINE MOUNTING |
| 331 |
A 3604293140 |
BRACKET |
|
|
LINE MOUNTING |
| 332 |
N 000933010105 |
SCREW |
|
|
BRACKET TO ENGINE SUSPENSION EYE |
| 333 |
N 913004010008 |
NUT |
|
Repalced by: N 910113010000
|
| 333 |
N 910113010000 |
NUT |
|
|
BRACKET TO ENGINE SUSPENSION EYE |
| 336 |
A 6254700181 |
BRACKET |
|
Repalced by: A 6254600095
|
| 336 |
A 6254600095 |
COVERING |
|
|
FUEL FILTER |
| 338 |
A 6254770241 |
BRACKET |
|
|
FUEL FILTER |
| 344 |
N 000933008147 |
SCREW |
|
Repalced by: N 304017008021
|
| 344 |
N 304017008021 |
SCREW |
|
|
BRACKET TO CONSOLE |
| 344 |
N 304017008021 |
SCREW |
|
|
COVERING TO BRACKET |
| 344 |
N 000933008153 |
SCREW |
|
Repalced by: N 304017008034
|
| 344 |
N 304017008034 |
SCREW |
|
|
BRACKET TO CONSOLE |
| 346 |
N 000961014028 |
SCREW |
|
|
BRACKET TO SIDE MEMBER |
| 352 |
N 000933010094 |
SCREW |
|
|
FUEL FILTER TO BRACKET |
| 352 |
N 000933010328 |
SCREW |
|
|
FUEL FILTER TO BRACKET |
| 354 |
N 000933010145 |
SCREW |
|
|
FUEL FILTER TO BRACKET |
| 356 |
N 009021008205 |
WASHER |
|
Repalced by: N 009021008213
|
| 356 |
N 009021008213 |
WASHER |
|
|
COVERING TO BRACKET |
| 360 |
N 000125010518 |
WASHER |
|
Repalced by: N 000125010532
|
| 360 |
N 000125010532 |
WASHER |
|
|
FUEL FILTER TO BRACKET |
| 368 |
N 913004008004 |
NUT |
|
Repalced by: N 913004008001
|
| 368 |
N 913004008001 |
NUT |
|
|
BRACKET TO CONSOLE |
| 368 |
N 913004008001 |
NUT |
|
|
COVERING TO BRACKET |
| 370 |
N 913004014002 |
NUT |
|
Repalced by: N 910113014001
|
| 370 |
N 910113014001 |
NUT |
|
|
BRACKET TO SIDE MEMBER |
| 376 |
N 913004010008 |
NUT |
|
Repalced by: N 910113010000
|
| 376 |
N 910113010000 |
NUT |
|
|
FUEL FILTER TO BRACKET |
| 384 |
A 0019978390 |
LOOM TIE |
|
|
FUEL LINES |
|
|
280 MM |
| 384 |
A 0019978490 |
LOOM TIE |
|
|
FUEL LINES |
|
|
376 MM |
| 392 |
A 3609970481 |
GROMMET |
|
|
FUEL LINE THRU FRAME SIDE MEMBER |
| 392 |
A 3879970481 |
GROMMET |
|
|
FUEL LINE THRU FRAME SIDE MEMBER |
|
|
38/30 MM |
|
A 6254700281 |
BRACKET |
| 401 |
A 6254770641 |
BRACKET |
|
|
MANUAL AUXILIARY PUMP |
| 402 |
A 6254770541 |
BRACKET |
|
|
MANUAL AUXILIARY PUMP |
| 408 |
N 000933006121 |
SCREW |
|
Repalced by: N 304017006020
|
| 408 |
N 304017006020 |
SCREW |
|
|
PUMP TO BRACKET |
| 410 |
N 000933006123 |
SCREW |
|
|
PUMP TO BRACKET |
| 416 |
N 000125006421 |
WASHER |
|
|
PUMP TO BRACKET |
|
Repalced by: N 000125006449
|
| 416 |
N 000125006449 |
WASHER |
|
|
PUMP TO BRACKET |
| 418 |
N 913004006002 |
NUT |
|
Repalced by: N 913004006001
|
| 418 |
N 913004006001 |
NUT |
|
|
PUMP TO BRACKET |
| 421 |
A 4230900050 |
FUEL PUMP |
|
|
(MANUAL AUXILIARY PUMP) |
| 424 |
A 0000912190 |
PUMP |
|
|
(MANUAL AUXILIARY PUMP) |
| 432 |
A 0004770002 |
FUEL FILTER |
|
|
(MANUAL AUXILIARY PUMP) |
| 433 |
A 0000900151 |
FILTER ELEMENT |
|
Repalced by: A 0000910840
|
| 433 |
A 0000910840 |
FILTER BOWL |
|
|
(FILTER STRAINER PARTS KIT) |
| 434 |
A 0009930005 |
SPRING |
| 435 |
A 0009970040 |
SEAL RING |
| 436 |
A 0000911341 |
CLAMPING BRACKET |
|
|
PARTS KIT |
| 437 |
N 007603014405 |
SEAL RING |
| 440 |
A 0049974472 |
FITTING |
|
|
(MANUAL AUXILIARY PUMP) |
| 440 |
A 0059970672 |
FITTING |
|
|
(MANUAL AUXILIARY PUMP) |
| 448 |
N 007603014104 |
SEAL RING |
|
|
(MANUAL AUXILIARY PUMP) |
| 452 |
N 915036010204 |
HOLLOW SCREW |
|
Repalced by: N 915036010108
|
| 452 |
N 915036010108 |
HOLLOW SCREW |
|
|
(MANUAL AUXILIARY PUMP) |
| 456 |
A 0009900388 |
BANJO UNION |
|
|
(MANUAL AUXILIARY PUMP) |
| 456 |
A 0009900388 |
BANJO UNION |
|
|
FUEL LINE TO FEED PUMP |
| 464 |
A 1129970372 |
FITTING |
|
|
(MANUAL AUXILIARY PUMP) |
| 464 |
A 1129970372 |
FITTING |
|
|
AT FEED PUMP |
| 468 |
N 007603014104 |
SEAL RING |
|
|
(MANUAL AUXILIARY PUMP) |
| 468 |
N 007603014104 |
SEAL RING |
|
|
AT FEED PUMP |
| 472 |
N 915036010204 |
HOLLOW SCREW |
|
Repalced by: N 915036010108
|
| 472 |
N 915036010108 |
HOLLOW SCREW |
|
|
(MANUAL AUXILIARY PUMP) |
| 472 |
A 3649900063 |
HOLLOW SCREW |
|
|
AT FEED PUMP |
| 472 |
N 915036010204 |
HOLLOW SCREW |
|
Repalced by: N 915036010108
|
| 472 |
N 915036010108 |
HOLLOW SCREW |
|
|
AT FEED PUMP |