| # | Kodas | Pastaba | Kiekis |
|---|---|---|---|
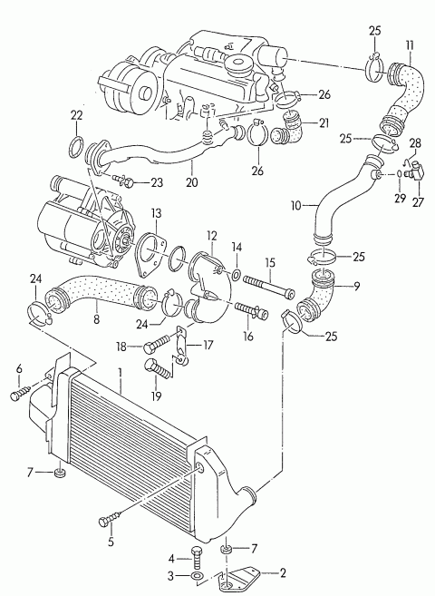
| 1 | 1 vnt. | ||
| nebegaminama | ??? € | ||
| 1 | 191145805H | 1 vnt. | |
| turbinos oro aušintuvas | ??? € | ||
| 2 | 191820405 | 1 vnt. | |
| laikiklis | ??? € | ||
| 3 | N 0152761 | 3 vnt. | |
| poveržlė | 6X12X1,6 | ??? € | |
| 4 | N 01021226 | 3 vnt. | |
| varžtas su šešiakampe galvute | M6X12 | ??? € | |
| 5 | N 0138931 | 1 vnt. | |
| hexagon head panel screw | 6,3X38 | ??? € | |
| 6 | N 90310301 | 1 vnt. | |
| hexagon head panel screw | 6,8X12,5 | ??? € | |
| 7 | 171121276D | 2 vnt. | |
| guminė poveržlė | ??? € | ||
| 8-9 | 1 vnt. | ||
| nebegaminama | ??? € | ||
| 10 | 191145770 | 1 vnt. | |
| jungianti žarna | ??? € | ||
| 11-13 | 1 vnt. | ||
| nebegaminama | ??? € | ||
| 8 | 191145832D | 1 vnt. | |
| slėgio žarna | ??? € | ||
| 9 | 191145834D | 1 vnt. | |
| slėgio žarna | ??? € | ||
| 11 | 357145838A | 1 vnt. | |
| slėgio žarna | ??? € | ||
| 12 | 191145755B | 1 vnt. | |
| jungiamoji detalė | ??? € | ||
| 13 | 037145539A | 1 vnt. | |
| tarpinė | ??? € | ||
| 14 | N 90179102 | 1 vnt. | |
| poveržlė | 8,2X18X3 | ??? € | |
| 15 | N 0447211 | 1 vnt. | |
| varžtas su šešiakampe vidine (lizdine) galvute | M8X125 | ??? € | |
| 16 | N 90144201 | 1 vnt. | |
| varžtas su šešiakampe vidine (lizdine) galvute (derinys) | M8X65 | ??? € | |
| 17 | 1 vnt. | ||
| nebegaminama | ??? € | ||
| 17 | 037145535B | 1 vnt. | |
| atrama | ??? € | ||
| 18 | N 0102336 | 1 vnt. | |
| varžtas su šešiakampe galvute | M8X28 | ??? € | |
| 19 | N 10234204 | 1 vnt. | |
| varžtas plačia šešiakampe galvute | M10X40 | ??? € | |
| 19 | N 10059604 | 1 vnt. | |
| varžtas plačia šešiakampe galvute | M10X40 | ??? € | |
| 20 | 191145826B | 1 vnt. | |
| jungianti žarna | ??? € | ||
| 21 | 191145825 | 1 vnt. | |
| jungianti žarna | ??? € | ||
| 22 | 113919131A | 1 vnt. | |
| O-žiedas | 58X4 | ??? € | |
| 23 | N 10172501 | 2 vnt. | |
| varžtas su šešiakampe vidine (lizdine) galvute (derinys) | M6X22 | ??? € | |
| 24 | N 0245183 | ||
| spaustuvas | 70-90X9X0,5 | ??? € | |
| 25 | N 0245054 | ||
| spaustuvas | 50-70X9X0,5 | ??? € | |
| 26 | N 0245044 | ||
| spaustuvas | 40-60X9X0,5 | ??? € | |
| 27 | 037906040B | 1 vnt. | |
|
temperatūros jutiklis potenciometras |
??? € | ||
| - | 071906313 | 1 vnt. | |
| plug with circlip | 12,4MM | ??? € | |
| 28 | 032121142 | 1 vnt. | |
| spiruoklinis laikiklis | ??? € | ||
| 28 | 025121142 | 1 vnt. | |
| spiruoklinis laikiklis | ??? € | ||
| 29 | N 90316802 | 1 vnt. | |
| O-žiedas | 19,6X3,65 | ??? € | |