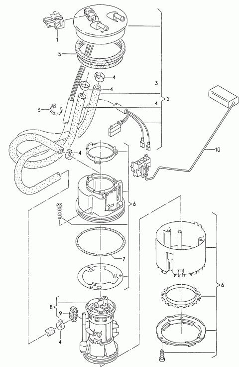
| # | Kodas | Pastaba | Kiekis |
|---|---|---|---|
| 1 | 357906231 | 1 vnt. | |
| plokščio kontakto dėklas | ??? € | ||
| 2 | 1 vnt. | ||
| nebegaminama | ??? € | ||
| 2 | 191919679 | 1 vnt. | |
|
jungė (balta) su: laidų rinkinys žarna (padavimo) žarna (grįžtanti) žarnos sąvaržėlė spaustuvas |
??? € | ||
| 2 | 1H0919679C | 1 vnt. | |
| jungė | ??? € | ||
| 3 | 3D0971838N | ||
|
kabelių raiščiai dantytas kvadrantas (išorinis) skylės / lakštinio metalo storis: |
4,5X200;;6,5 / 0,3-3 | ??? € | |
| 3 | N 90666101 | ||
|
kabelių raiščiai skylės / lakštinio metalo storis: |
4,5X200;6,5 / 0,3-3 | ??? € | |
| 3 | N 90060301 | ||
| kabelių raiščiai | 6,5X175 | ??? € | |
| 4 | N 10081101 | ||
| spaustuvas | 16,8 | ??? € | |
| 5 | 1J0919133A | 1 vnt. | |
| O-žiedas | 109 | ??? € | |
| 5 | 321919133 | 1 vnt. | |
| O-žiedas | 109 | ??? € | |
| 6-9 | 1H0919051M | 1 vnt. | |
| fuel delivery unit with separately supported sender for fuel gauge | 4,0 BAR | ??? € | |
| 6-9 | 1H0919651Q | 1 vnt. | |
|
kuro siurblys su korpusu taip pat naudoti: |
4BAR VDO;1H0 919 673 F | ??? € | |
| (10) | 1H0919673H | 1 vnt. | |
| kuro matuoklis . | PIERBURG | ??? € | |
| - | 1H0919051G | S5P/;MONOMOTRONIC;RP | 1 vnt. |
|
fuel delivery unit and sender for fuel gauge . su: kuro siurblys flange colour: (juodas) |
;;;;1,2 BAR VDO;; 110MM;;1H0 919 051 H;1,2 BAR VDO | ??? € | |
| - | 191919051BM | PR-S5P/;DIGIFANT:PF | 1 vnt. |
|
fuel delivery unit and sender for fuel gauge . su: kuro siurblys flange colour: (balta) |
PIERBURG;;;;4,0BAR;; 110MM;1H0 919 051 D; | ??? € | |
| (10) | 1H0919673F | 1 vnt. | |
| kuro matuoklis . | VDO | ??? € | |
| 1 | 357906231 | 1 vnt. | |
| plokščio kontakto dėklas | ??? € | ||
| 2 | 1H0919679C | 1 vnt. | |
| jungė | VDO | ??? € | |
| (2) | 1H0919679E | 1 vnt. | |
| jungė | VDO | ??? € | |
| 3 | 3D0971838N | ||
|
kabelių raiščiai dantytas kvadrantas (išorinis) skylės / lakštinio metalo storis: |
4,5X200;;6,5 / 0,3-3 | ??? € | |
| 3 | N 90666101 | ||
|
kabelių raiščiai skylės / lakštinio metalo storis: |
4,5X200;6,5 / 0,3-3 | ??? € | |
| 3 | N 90060301 | ||
| kabelių raiščiai | 6,5X175 | ??? € | |
| 4 | N 10081101 | ||
| spaustuvas | 16,8 | ??? € | |
| 5 | 321919133 | 1 vnt. | |
| O-žiedas | 109 | ??? € | |
| 6-9 | 1H0919651N | S5P/;MONOMOTRONIC;RP | 1 vnt. |
|
kuro siurblys su korpusu taip pat naudoti: |
1,2BAR VDO;1H0 919 679 C;1H0 919 673 F | ??? € | |
| 6-9 | 1H0919651Q | PR-S5P/;DIGIFANT:PF | 1 vnt. |
|
kuro siurblys su korpusu taip pat naudoti: |
4BAR VDO;1H0 919 679 E;1H0 919 673 F;000 979 105 | ??? € | |
| (10) | 1H0919673F | 1 vnt. | |
| kuro matuoklis . | VDO | ??? € | |