
| # | Kodas | Pastaba | Kiekis |
|---|---|---|---|
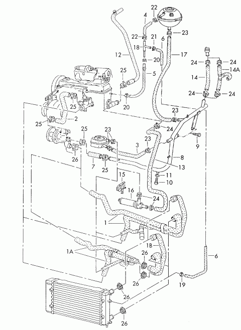
| 1 | 044121049B |
;;;;F >> 70-2-060 000* ;;;;PR-AC0:ABL |
|
|
aušinimo skysčio žarna (padavimo/grįžimo) (flange > coolant radiator>; additional coolant pump) (aušinimo skysčio radiatorius / siurblys) |
??? € | ||
| (1) | 044121049D |
;;;;F 70-2-060 001>>* ;;;;PR-AC0:ABL |
|
|
aušinimo skysčio žarna (padavimo/grįžimo) (flange > coolant radiator>; additional coolant pump) (aušinimo skysčio radiatorius / siurblys) |
??? € | ||
| 1A | 7D0121049BB | PR-AC1:ABL | 1 vnt. |
|
aušinimo skysčio žarna (padavimo/grįžimo) (flange > coolant radiator>; additional coolant pump) (aušinimo skysčio radiatorius / siurblys) |
??? € | ||
| (1) | 044121049A |
;;;;F >> 70-2-060 000* ;;;;PR-AC0:AAC |
|
|
aušinimo skysčio žarna (padavimo/grįžimo) (flange > coolant radiator>; additional coolant pump) (aušinimo skysčio radiatorius / siurblys) |
??? € | ||
| (1) | 044121049C |
;;;;F 70-2-060 001>>* ;;;;PR-AC0:AAC |
|
|
aušinimo skysčio žarna (padavimo/grįžimo) (flange > coolant radiator>; additional coolant pump) (aušinimo skysčio radiatorius / siurblys) |
??? € | ||
| (1A) | 7D0121049BA | PR-AC1:AAC | 1 vnt. |
|
aušinimo skysčio žarna (padavimo/grįžimo) (flange > coolant radiator>; additional coolant pump) (aušinimo skysčio radiatorius / siurblys) |
??? € | ||
| 1B | 7D0121049AS | PR-AC1 | 1 vnt. |
|
aušinimo skysčio žarna (padavimo/grįžimo) (flange > coolant radiator>; additional coolant pump) (aušinimo skysčio radiatorius / siurblys) |
??? € | ||
| (2) | 028121053N | ABL | 1 vnt. |
|
aušinimo skysčio žarna (flange>coolant pump) |
??? € | ||
| (2) | 037121053N | AAC | 1 vnt. |
|
aušinimo skysčio žarna (flange>coolant pump) |
??? € | ||
| 3 | 044121058A | ABL | 1 vnt. |
|
aušinimo skysčio žarna (oil cooler > water pipe) |
??? € | ||
| 4 | 074121060 |
;;;F >> 70-Y-090 000* |
|
|
aušinimo skysčio žarna (reservoir >; adapter) |
??? € | ||
| (4) | 074121060C |
;;;F 70-Y-090 001>>* |
|
|
aušinimo skysčio žarna (reservoir >; adapter) |
??? € | ||
| (5) | 044121063E | 1 vnt. | |
|
ventiliacijos žarna (adapter > cylinder; head) |
??? € | ||
| (6) | 044121060L | PR-AC0 | 1 vnt. |
|
ventiliacijos žarna (distributor >; coolant radiator) |
??? € | ||
| (6) | 7D0121060A | PR-AC1 | 1 vnt. |
| aušinimo skysčio žarna | ??? € | ||
| 7 | 044121063A | 1 vnt. | |
|
aušinimo skysčio žarna (aušinimo skysčio pompa/vamzdis) |
??? € | ||
| (8) | 044121065AF | AAC | 1 vnt. |
| coolant pipe | ??? € | ||
| (8) | 028121065Q | ABL | 1 vnt. |
| coolant pipe | ??? € | ||
| 9 | N 01021527 | 2 vnt. | |
| varžtas su šešiakampe galvute | M6X15 | ??? € | |
| 10 | N 0102376 | 1 vnt. | |
| varžtas su šešiakampe galvute | M8X12 | ??? € | |
| 11 | N 90226701 | 1 vnt. | |
| O-žiedas | 8X14 | ??? € | |
| (12) | 028121036C | 1 vnt. | |
|
aušinimo skysčio žarna (flange > heat exchanger) |
??? € | ||
| (12) | 044121073AK | 1 vnt. | |
|
aušinimo skysčio žarna (flange > t-piece) for vehicles with 2nd heat exchanger |
??? € | ||
| (13) | 044121073AC | PR-AC0 | 1 vnt. |
|
aušinimo skysčio žarna (flange > addit. water pump) |
??? € | ||
| (13) | 7D0121073J | PR-AC1 | 1 vnt. |
|
aušinimo skysčio žarna (flange > addit. water pump) |
??? € | ||
| 14 | 044121073N | 1 vnt. | |
|
aušinimo skysčio žarna (heater valve> coolant pipe) |
??? € | ||
| 14A | 7D0819372A | 1 vnt. | |
|
aušinimo skysčio žarna (heater valve> coolant pipe) for vehicles with 2nd heat exchanger |
??? € | ||
| (15) | 044121068 | 1 vnt. | |
| laikiklis | ??? € | ||
| (16) | 251965561B |
;F >> 70-Y-000 001* |
|
| papildoma aušinimo skysčio pompa | ??? € | ||
| (16) | 3D0965561D |
;F 70-Y-000 002>>* |
|
| papildoma aušinimo skysčio pompa | ??? € | ||
| (16) | 1J0965561A |
;F 70-Y-000 002>>* |
|
| papildoma aušinimo skysčio pompa | ??? € | ||
| 17 | 044121109B | 1 vnt. | |
|
aušinimo skysčio žarna (expansion tank >; coolant pipe) |
??? € | ||
| 18 | 074121438C | 1 vnt. | |
| skirstytuvas | ??? € | ||
| 19 | N 10083401 | ||
| spaustuvas | 14,8 | ??? € | |
| 20 | N 10199201 | ||
| spaustuvas | 15,7X7X0,60 | ??? € | |
| (21) | N 90686701 | ||
| spyruoklinis gnybtas | 14X12 | ??? € | |
| 21 | N 10292201 | ||
| spyruoklinis gnybtas | A14X12 | ??? € | |
| 22 | N 0164011 | ||
| spyruoklinis gnybtas | 19X15 | ??? € | |
| 23 | N 0164021 | ||
| spyruoklinis gnybtas | 23X15 | ??? € | |
| 24 | N 0164031 | ||
| spyruoklinis gnybtas | 27X15 | ??? € | |
| 25 | N 0164041 | ||
| spyruoklinis gnybtas | 32X15 | ??? € | |
| 26 | N 0164101 | ||
| spyruoklinis gnybtas | 40X15 | ??? € | |