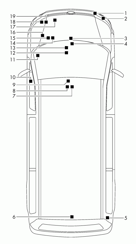
| # | Kodas | Pastaba | Kiekis |
|---|---|---|---|
| 1 | PR-8EC,8ED | ||
|
power module for day driving lights žr. paveiksle, detalė: |
;;941-20,2 | ??? € | |
| 2 | PR-8EC,8ED | ||
|
control unit for gas discharge lamp žr. paveiksle, detalė: |
;;941-20,5 | ??? € | |
| 3 | PR-4A1,4A3 | ||
|
control unit for seat heating žr. paveiksle, detalė: |
;;963-00,20 | ??? € | |
| 4 | PR-GX5 | ||
|
control unit for electric sliding door žr. paveiksle, detalė: |
;;959-00,7 | ??? € | |
| 5 | PR-1W1,1W4 | ||
|
control unit for cooler/ refrigerator žr. paveiksle, detalė: |
;;035-90,4 | ??? € | |
| 6 | |||
|
ultrasound sensor with control unit for towing protection -master- žr. paveiksle, detalė: |
;;;951-20,1 | ??? € | |
| 7 | |||
|
oro pagalvių valdymo blokas žr. paveiksle, detalė: |
;959-30,1 | ??? € | |
| 8 | |||
|
durų valdymo įrenginys žr. iliustraciją: |
;959-15 | ??? € | |
| 9 | |||
|
control unit (bcm) for convenience system, gateway and onboard power supply žr. iliustraciją: |
;;;937-50 | ??? € | |
| 10 | PR-7VF,7VL | ||
|
control and receiver unit for radio-controlled aux. heater žr. paveiksle, detalė: |
;;963-20,6 | ??? € | |
| 11 | PR-8EC,8ED | ||
|
control unit for automatic headlight range control žr. paveiksle, detalė: |
;;941-20,25 | ??? € | |
| 12 | |||
|
diagnozės duomenų magistralės sąsaja (gateway) žr. iliustraciją: |
;;937-50 | ??? € | |
| 13 | |||
|
control unit for glow plug žr. paveiksle, detalė: |
;937-10,25 | ??? € | |
| 14 | |||
|
ABS valdymo blokas žr. paveiksle, detalė: |
;614-10,1A | ??? € | |
| 15 | |||
|
mechatroninė su programine įranga žr. paveiksle, detalė: |
;321-60,1 | ??? € | |
| 16 | |||
|
dyzelinio variklio valdymo blokas žr. iliustraciją: |
;906-20 | ??? € | |
| (16) | |||
|
valdymo blokas benzininiui varikliui žr. iliustraciją: |
;906-22 | ??? € | |